Страница 5 - Введение; Повторное использование; Обратитесь к местным властям для правильной утилизации.; Использование вашего старого продукта; последствий для окружающей среды и для здоровья человека.; Использование функций Контраст+ и
1 Спасибо за покупку этого телевизора. Даное руководство поможет вам установить и пользоваться вашим телевизором. Мы советуем внимательно прочитать его. Введение Содержание Повторное использование Упаковка этого продукта предназначена для повторного использования. Обратитесь к местным властям для пр...
Страница 6 - Информация по технике безопасности; Не размещайте на телевизоре и вблизи него
2 Информация по технике безопасности Не размещайте телевизор под прямыми солнечными лучами или в жаркой среде. Не ставьте на телевизор вазу с водой. Чтобы предупредитьвозникновение пожара или короткого замыкания, не подвергайте телевизор воздействию дождя или сырости. дождя или сырости. Оставьте как...
Страница 7 - Подготовка / начало работы
3 1 Установка телевизора 1 Размещение телевизора Поставьте Ваш телевизор на прочнуюустойчивую поверхность, оставляя по 10 см с каждой стороны телевизора. 2 Подключения • Вставьте антенну в 75 Ω : в специальное гнездо внизу телевизора. • Вставить вилку электрического провода в розетку ( 220-240 В 50...
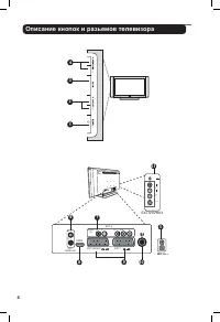
Страница 8 - Описание кнопок и разьемов телевизора
4 Описание кнопок и разьемов телевизора – – . 1 3 4 2 6 7 8 9 10 EXT 4 EXT 2/SVHS2 EXT 1 DVI (AUDIO IN) HDMI AUDIO R L IN Pr Pb Y L R AUDIO IN R L VIDEO IN S-VIDEO 11 EXT3/SVHS3 5 AC in ~
Страница 9 - Примечание
5 Описание кнопок и разьемов телевизора 1 ПИТАНИЕ (POWER) . : для включения или выключения телевизора. Примечание : Электропитание остается, даже когда кнопка Питания выключена. 2 ГРОМКОСТЬ (VOLUME) –/+ : для регулирования уровня звука. 3 МЕНЮ (MENU) : для вызова и закрытия меню. Клавиши PROGRAM –...
Страница 10 - Клавиши пульта дистанционного управления; Для некоторых программ в нижней части
6 1 Режим ожидания Позволяет перевести телевизор в режим ожидания. Для включения телевизора нажать на клавиши , – или – Р + (– Программа +) 2 Неиспользуемая кнопка в режиме ТВ 3 DVD / AUX (смотри стр. 7). 4 Объемный звук Для включения / отключения эффекта окружающего объемного звучания. В ст...
Страница 11 - Быстрая настройка; ПРИМЕЧАНИЕЕ; ЗАМЕЧАНИЕ; Îï; DVD; Кнопки пульта дистанционного управления
7 Быстрая настройка При первом включении телевизора на экране появляется меню. Вам будет предложено выбрать страну, а также язык меню. ПРИМЕЧАНИЕЕ Если меню не появилось, выполните установку каналов методом автонaстpoйки ( см. стр. 8 ). Если меню появилось, выполните следующие шаги 1 Используйте кно...
Страница 12 - Автоматическое сохранение; Сортировка каналов; Сортировка; Язык; Search
8 4 Используя ï выберите Страна , а затем при помощи Í Æ выберите страну. 5 С помощью ï выберите Автонaстpoйka , а затем используя Æ / запустите автоматический поиск каналов. Сохранятся все имеющиеся телевизионные каналы. Эта процедура занимает несколько минут. На дисплее виден процесс поиска и кол...
Страница 13 - Название канала; Система; Имя
9 3 При помощи клавиши ï выберите Имя и используя Æ / ввойдите в режим имени. 4 При помощи Îï выберите канал, который вы хотите назвать и при помощи кнопки Æ / войдите в режим имени. 5 При помощи Îï выберите буквы (максимум 5 букв), используя Í Æ двигайтесь по экрану для имени. 6 Нажмите Í Æ / до ...
Страница 14 - Настройки изображения и звука; Звук; Эквалайзер
10 Описание настроек ЗвукаЭквалайзер : настройка тембра звука ( от баса: 120 Гц до высоких : 10 Гц). Баланс : служит для настройки баланса звука между левым и правым динамиками. Разн Γром : позволяет скомпенсировать различия в громкости между разными каналами или звуковыми сигналами, поступающими с ...
Страница 15 - Функция ״Таймер״
11 Использование функций Контраст+ и NR (Уменьшение шума) 1 Нажмите на кнопку . 2 При помощи клавиши ï выберите Χaрaκтерист. и клавишей Æ / войдите в меню Χaрaκтерист. 3 Для выбора Контраст+ или NR (Уменьшение шума) пользуйтесь клавишами Îï , а опцию On (Вкл) или Off (Выкл) выберите кнопками Í Æ 4...
Страница 16 - PIP
12 Использование функции PIP (картинка-в-картинке) ( Для выбора элементов меню PIP пользуйтесь Îï . § Пользуйтесь клавишами Í ÆÎï для выбора элементов меню PIP , для изменений их значений или опций. è Для выхода из PIP-экрана выберите размер PIP, а затем выберите Off (Выкл) . Функция PIP (карти...
Страница 17 - Форматы экрана; Если ваш телевизор обладает экраном 16:9; то оно будет расширено в горизонтальной плоскости.
13 Форматы экрана Изображение, которое вы получаете, может быть передано в формате 16:9 (широкий экран) или 4:3 (традиционный экран). При изображении 4:3 на экране иногда бывают черные полосы на левой и правой стороне экрана. Эта функция позволяет вам оптимизировать изображение на экране. Если ваш т...
Страница 18 - Мультимедиa; Использование функции «разумного» изображения и звука
14 Функция « разумного звука » предоставляет вам возможность выбрать 4 установки звука, а именно: Kино, Музыка, Peчь и . Пepcoнaл . Нажимая несколько раз на выберите нужный вам режим. Нажимая несколько раз на выберите нужный вам режим изображения. Функция « разумного звука » предоставляет вам возмож...
Страница 19 - Телетекст
15 Телетекст Телетекст представляет собой систему распространения информации, передаваемой по некоторым каналам, которую можно читать как газету. В этой системе предусмотрена также функция субтитров для людей, имеющих дефекты слуха или не знающих языка, на котором ведется передача (кабельные сети, к...
Страница 20 - Использование режима компьютерного монитора; При помощи; Îï; Поддерживаемые резолюции ПК
16 Использование режима компьютерного монитора Ваш телевизор используется в качестве компьютерного монитора. ВАЖНО Для работы телевизора в качестве компьютерного монитора должны быть выполнены следующие шаги: 1 Вход HDMI ДОЛЖЕН быть подключен к выходу DVI компьютера. Для подключения пользуйтесь пере...
Страница 21 - Использование телевизора в режиме HD (высокая четкость); ПРИМЕЧАНИЕ; Использование меню HD; Режим HD; Для работы ТВ в режиме HD должны быть; Поддерживается формат HD
17 Функции в режиме HD Таймер : Функции таймера отключения и таймера аналогичны функция таймера отключения и таймера на телевизоре и работают точно так же (см. стр. 11). PIP : Отображение экрана PIP для одновременного просмотра телевизионных программ. Элементы меню PIP : Размер PIP, положение по гор...
Страница 22 - Подключение периферийного оборудования
18 Подключение периферийного оборудования ПРЕДУПРЕЖДЕНИЕ: Это аппаратура Класса 1. Она должна быть подключена к сетевой розетке с защитным заземлением. Плазменный ТВ Антенна : 75 Ω Разъемы внизу телевизора К розетке в стене 3 Нажмите кнопку AV на пульте дистанционного управления для получения списк...
Страница 23 - Подключить ваш DVD рекордер/плеер; AV; AV
19 Подключение периферийного оборудования Подключить ваш DVD рекордер/плеер Источник TV Æ EXT1 Æ EXT2 / SVHS2 Æ EXT3 / SVHS3 Æ EXT 4 Æ HDMI Æ Источник TV Æ EXT1 Æ EXT2 / SVHS2 Æ EXT3 / SVHS3 Æ EXT 4 Æ HDMI Æ ИЛИ Разъемы устройств приведены только для справки. Разъемы ваших устройств могут обозначать...
Страница 24 - Подключить ваш видеомагнитофон; ИЛИ
20 Подключение периферийного оборудования EXT 4 EXT 2 /SVHS2 EXT 1 DVI (AUDIO IN) HDMI AUDIO R L IN Pr Pb Y L R Подключить ваш видеомагнитофон VCR Разъемы устройств приведены только для справки. Разъемы ваших устройств могут обозначаться по другому и находиться в других местах. Важно: для того, чтоб...
Страница 26 - Советы по устранению неисправностей
22 Советы по устранению неисправностей Ниже приведен список признаков, с которыми Вы можете столкнуться при работе телевизора. Перед тем, как обратиться к службе обслуживания, проверьте этот список. Признак Возможная причина Что вы должны сделать Нет изображения • Источник питания • Проверьте включе...
Страница 28 - Спецификация; Справочная таблица стран, доступных для выбора; Mono, Nicam Stereo, Virtual Dolby Surround; Спецификации и информация могут изменяться без уведомления.
24 Спецификация Справочная таблица стран, доступных для выбора Сокращение Страна Сокращение Страна Сокращение Страна ABCHDDKEFFIGB АвстрияБельгияШвейцарияГерманияДанияИспанияФранцияФинляндияАнглия GRIIRLLNNLPSCZ ГрецияИталияИрландияЛюксембургНорвегияНидерландыПортугалияШвецияЧешская Республика HHRPL...