HOTRIX HX SWT6.1500 - инструкции и руководства
Обогреватель HOTRIX HX SWT6.1500 - инструкции пользователя по применению, эксплуатации и установке на русском языке читайте онлайн в формате pdf
Инструкции:
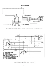
Инструкция по эксплуатации HOTRIX HX SWT6.1500
1
2
3
4
5
6
7
8
9
10
11
12
13
14
HOTRIX Обогреватели Инструкции
-
HOTRIX HX IRC10
Инструкция по эксплуатации
-
HOTRIX HX IRC15
Инструкция по эксплуатации
-
HOTRIX HX IRC20
Инструкция по эксплуатации
-
HOTRIX HX IRC30
Инструкция по эксплуатации
-
HOTRIX HX IRC40
Инструкция по эксплуатации
-
HOTRIX с открытым ТЭНом HX IRCO10
Инструкция по эксплуатации
-
HOTRIX с открытым ТЭНом HX IRCO15
Инструкция по эксплуатации
-
HOTRIX с открытым ТЭНом HX IRCO20
Инструкция по эксплуатации
-
HOTRIX HX SWT12.2000
Инструкция по эксплуатации
-
HOTRIX HX SWT6.1000
Инструкция по эксплуатации
-
HOTRIX HX SWT9.1000
Инструкция по эксплуатации
-
HOTRIX HX SWT9.1500
Инструкция по эксплуатации
-
HOTRIX SWT 3.800 HX SWT3.800
Инструкция по эксплуатации
-
HOTRIX SWT 5.800 HX SWT5.800
Инструкция по эксплуатации
-
HOTRIX СТИЧ HX SWZ3.600
Инструкция по эксплуатации
-
HOTRIX СТИЧ HX SWZ6.1000
Инструкция по эксплуатации
-
HOTRIX СТИЧ HX SWZ9.1500
Инструкция по эксплуатации
-
HOTRIX ТЭН HX SWT18.2000
Инструкция по эксплуатации
-
HOTRIX ТЭН HX SWT24.2000
Инструкция по эксплуатации
-
HOTRIX HX QS15
Инструкция по эксплуатации