Страница 3 - СОДЕРЖАНИЕ
® СОДЕРЖАНИЕ 1. Общие указания ................................................................... 4 2. Требования безопасности .................................................... 5 3. Технические характеристики .............................................. 6 4. Комплектность ........................
Страница 4 - еред использованием воздушно-тепловой завесы; Здесь Вы найдете
® 3 Поздравляем Вас с приобретением новой воздушно- тепловой заве сы Hintek. При правильном обращении она прослужит Вам долгие годы. Вся продукция торговой марки HINTEK производится в соответствии с международными и российскими стандартами безопасности качества. П еред использованием воздушно-теплов...
Страница 6 - ТРЕБОВАНИЯ БЕЗОПАСНОСТИ; При эксплуатации завесы соблюдайте правила безопасности
2. ТРЕБОВАНИЯ БЕЗОПАСНОСТИ 2.1 При эксплуатации завесы соблюдайте правила безопасности при работе с электроприборами. Используйте завесу только так, как написано в инструкции. Л ю б о е и с п о л ь з о в а н и е в ц е л я х , н е п р е д у с м о т р е н н ы х изготовителем, может привести к возгоран...
Страница 7 - ТЕХНИЧЕСКИЕ ХАРАКТЕРИСТИКИ; Технические характеристики указаны в таблице 1.
3. ТЕХНИЧЕСКИЕ ХАРАКТЕРИСТИКИ 3.1 Технические характеристики указаны в таблице 1. а Примечание – *При падении н пряжения в сети до 342 В возможно снижение о производительн сти от номинального значения до 20%,снижение потребляемой мощности в режиме от 2 до 2 5%. Таблица 1. Технические характеристики ...
Страница 10 - Для защиты электропроводки от перегрузки подключение к
Таблица 3. Модель завесы RM-0615-3DY Напряжение питания, В 380 Автоматический выключатель 16А Минимальное сечение жил кабеля 2 (медный провод), мм 1,5 RM-0915-3DY 380 16А 1,5 RM- 12 15-3DY 380 25 А 2 ,5 ® 6.5 Для защиты электропроводки от перегрузки подключение к с т а ц и о н а р н о й э л е к т р ...
Страница 14 - Воздушно-тепловая завеса имеет сертификат соответствия.
® 10.1 Воздушно-тепловая завеса Hintek RM-_________ заводской №__________, изготовлена и принята в соответствии с обязательными требованиями ГОСТ Р 52 161.2.30-2007, ГОСТ МЭК 335-1-94 и технических условий ТУ 34 6859-005-56284438-2014 и признана годной для эксплуатации. Воздушно-тепловая завеса имее...
Страница 16 - ГАРАНТИЯ ИЗГОТОВЛЕНИЯ; Изготовитель гарантирует надежную и безотказную работу
® 12. ГАРАНТИЯ ИЗГОТОВЛЕНИЯ 12.1 Изготовитель гарантирует надежную и безотказную работу з а в е с ы п р и с о бл юд е н и и у с л о в и й э кс п л у ат а ц и и , х р а н е н и я и транспортирования. Гарантийный срок эксплуатации - 1 год со дня продажи прибора через розничную торговую сеть, но не бол...
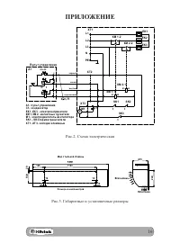
Страница 17 - ПРИЛОЖЕНИЕ
ПРИЛОЖЕНИЕ Рис.2. Схема электрическая A1 A2 A1 A2 6 3 2 1 O N -OF II I t ° П у л ьт у п р а в л е н ия 7 A1 X T2 X T3 M M1 С1 КМ 1 .2 КМ 2 .2 КМ 1 .1 КМ 2 .1 E K1 EK2 SK1 t ° SK3 EK3 L1 PE N L2 L3 4 ґ 0 ,75 А1- п у л ьт у п р а в л енияС1- ко н д е н с а т орЕК 1 ...ЕК 3 - э л е к тр о н а г рев а т...
Страница 19 - RM; ООО «Элком»
Талон на гарантийный ремонт воздушно-тепловой завесы Воздушно-тепловая завеса Hintek RM зав. № продана « ______» __________________ 201 г. Штамп магазина Владелец и его адрес Подпись Выполнены работы по устранению неисправностей: Исполнитель УТВЕРЖДАЮ М.П. « _____ » ____________ 201 __ г. К орешок т...