Страница 3 - СОДЕРЖАНИЕ
3 СОДЕРЖАНИЕ 1. Общие указания ...................................................................... 4 2. Требования безопасности ...................................................... 5 3. Технические характеристики ............................................... 6 4. Комплектност поставки ..........
Страница 5 - ТРЕБОВАНИЯ БЕЗОПАСНОСТИ
5 1.5 Внимание! Приобретая завесу: - убедитесь в наличии штампа магазина и даты продажи в отрывном талоне на гарантийный ремонт; - убедитесь в том, что бы заводской номер на этикетке соот- ветствовал номеру, указанному в свидетельстве о приемке и от- рывном талоне на гарантийный ремонт; - проверьте ...
Страница 6 - ТЕХНИЧЕСКИЕ ХАРАКТЕРИСТИКИ
6 - со взрывоопасной средой; - с химически активной средой, разрушающей металлы и изоляцию. 2.5 Запрещается подключение, ремонт и техническое обслужи- вание завесы без полного снятия напряжения с завесы. 2.6 Запрещается ограничивать движение воздуха на входе и выходе в завесу. 2.7 Запрещается эксплу...
Страница 7 - УСТРОЙСТВО И ПРИНЦИП РАБОТЫ
7 Технические характеристики Модель Hintek RМ-0610-3DY Габаритные размеры, мм (Д х Г х В) 1060х240х215 Масса, кг, не более 16 Срок службы, лет 7 Примечание – *При падении напряжения в сети до 342 В возможно снижение производи- тельности от номинального значения до 20 %, снижение потребляемой мощност...
Страница 8 - ПОДГОТОВКА К РАБОТЕ
8 6. ПОДГОТОВКА К РАБОТЕ 6.1 Перед проведением монтажных работ необходимо внима- тельно ознакомиться с требованиями настоящего Руководства. 6.2 К монтажу и подключению завесы допускается специально подготовленный персонал, имеющий допуск на проведение работ с электрооборудованием до 1000 В и ознаком...
Страница 12 - и признана годной для эксплуатации.
12 10. СВИДЕТЕЛЬСТВО О ПРИЕМКЕ И УПАКОВЫВАНИИ 10.1 Воздушно-тепловая завеса Hintek RM-0610-DY завод- ской №__________, изготовлена и принята в соответствии с обя- зательными требованиями ГОСТ Р 52 161.2.30-2007, ГОСТ МЭК 335-1-94 и технических условий ТУ 34 6859-005-56284438-2014 и признана годной д...
Страница 13 - Перечень возможных неисправностей приведен в таблице 4.; Таблица 4
13 11. ВОЗМОЖНЫЕ НЕИСПРАВНОСТИ И МЕТОДЫ ИХ УСТРАНЕНИЯ 11.1 Перечень возможных неисправностей приведен в таблице 4. Таблица 4 Характер неисправности Вероятная причина Метод устранения Завеса не включается Отсутствует напряжение в электросети Проверить напряжение по фазам Обрыв кабеля управления Прове...
Страница 14 - ГАРАНТИИ ИЗГОТОВИТЕЛЯ
14 12. ГАРАНТИИ ИЗГОТОВИТЕЛЯ 12.1 Изготовитель гарантирует надежную и безотказную ра- боту завесы при соблюдении условий эксплуатации, хранения и транспортирования. Гарантийный срок эксплуатации - 12 месяцев со дня продажи завесы через розничную торговую сеть. Дата продажи с печатью магазина должна ...
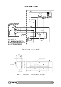
Страница 15 - ПРИЛОЖЕНИЕ; Рис. 3. Габаритные и установочные размеры
15 ПРИЛОЖЕНИЕ Рис.2. Схема электрическая A1 A2 A1 A2 6 3 2 1 O N -OF II I t П у л ьт у п р а в л е н ия 7 A1 X T2 X T3 M M1 С1 КМ 1 .2 КМ 2 .2 КМ 1 .1 КМ 2 .1 E K1 EK2 SK1 t SK3 EK3 L1 PE N L2 L3 4 0 ,75 А1- п у л ьт у п р а в л енияС1- ко н д е н с а торЕК 1 ...ЕК 3 - э л е к тр о н а г рев а те ли...
Страница 16 - ООО «Элком»; О гарантийных мастерских Вы можете узнать у поставщика.
Талон на гарантийный ремонт воздушно-тепловой завесы Воздушно-тепловая завеса Hintek RM-0610-3DY зав. № продана « ______» __________________ 201 г. Штамп магазина Владелец и его адрес Подпись Выполнены работы по устранению неисправностей: Исполнитель УТВЕРЖДАЮ М.П. « _____ » ____________ 201 __ г. К...