Страница 3 - СОДЕРЖАНИЕ; Примерная площадь обогрева инфракрасных
3 СОДЕРЖАНИЕ 1. Общие указания .................................................................. 4 2. Требования безопасности .................................................... 5 3. Комплектность поставки ........................................................ 7 4. Устройство инфракрасного обогр...
Страница 4 - Используемые обозначения
4 Используемые обозначения Внимание! Требования, несоблюдение которых может привести к тяжелой травме или серьезному повреждению оборудования. Осторожно! Требования, несоблюдение которых может привести к серьез- ной травме или летальному исходу. Примечание: 1. В тексте данной инструкции инфракрасные...
Страница 5 - ТРЕБОВАНИЯ БЕЗОПАСНОСТИ
5 редь, нагревается воздух. Нагретый воздух, поднимаясь к потолку, постепенно остывает, при этом на уровне головы стоящего челове- ка температура воздуха оказывается на 1-2 °С ниже температуры пола. 1.3 В отличиe от систем конвективного отоплении (электро- радиаторы, стационарные батареи), при испол...
Страница 7 - УСТРОЙСТВО ИНФРАКРАСНОГО; Несущая конструкция состоит из стального корпуса, отражате-
7 ной средой; со средой вызывающей коррозию материалов. 3. КОМПЛЕКТНОСТЬ 3.1 Комплектность должна соответствовать таблице 2 Таблица 2 Наименование Количество Примечание Инфракрасный обогреватель 1 1. Комплект регулируемых кронштейнов для подвеса (для моделей IO-10, IO-15, IO-20) 2. Комплект кронштей...
Страница 8 - ПРИМЕРНАЯ ПЛОЩАДЬ ОБОГРЕВА
8 В верхней части корпуса закреплен кабельный ввод. Подклю- чение прибора осуществляется внутри прибора под крышкой че- рез клемную колодку. 5. ПРИМЕРНАЯ ПЛОЩАДЬ ОБОГРЕВА ИНФРАКРАСНЫХ ОБОГРЕВАТЕЛЕЙ: Таблица 2. Модель Площадь обогрева Дополнительный обогрев (м 2 ) Основной обогрев (м 2 ) IO-10 до 20 ...
Страница 9 - ХАРАКТЕРИСТИКА И ПАРАМЕТРЫ; Правила и условия монтажа
9 6. ХАРАКТЕРИСТИКА И ПАРАМЕТРЫ 6.1 Климатическое исполнение обогревателей - УХЛ 4.1. по ГОСТ 15150-69. Режим работы - продолжительный. Примечание: Площадь обогрева зависит не только от мощности обогревате- ля, но и от типа помещения, высоты потолка, материала стен, по- толков, количества и площади ...
Страница 10 - Минимальные расстояния от прибора до других поверхностей.; ИНТЕНСИВНОСТЬ ТЕПЛОВОГО ОБЛУЧЕНИЯ; Интенсивность теплового облучения на человека не должна; ПОДГОТОВКА К РАБОТЕ; При длительном нахождении в зоне обогрева расстояние
10 Таблица 4 Минимальные расстояния от прибора до других поверхностей. Модель А (мм) В (м) С (м) D (м) Е (м) IO-10 80* 0,3 1,0 2,5 - 3,5 1,1 IO-15 80* 0,3 1,0 2,5 - 3,5 1,1 IO-20 80* 0,3 1,0 2,5 - 3,5 1,1 IO-30 125** 0,5 1,5 4,0- 15 2,0 IO-45 125** 0,5 1,5 4,0 -15 2,0 IO-60 125** 0,5 1,5 4,0- 15 2,0...
Страница 14 - Уход и обслуживание; ВОЗМОЖНЫЕ НЕИСПРАВНОСТИ
14 на 10-20 мин. в хорошо проветриваемом помещении. После включения и выхода на установившийся режим, при- бор начинает излучать инфракрасные лучи и обогревать предметы и тела. Для исключения неприятного жженого запаха рекомендуется содержать обогреватель в чистоте, не допуская скапливания пыли. 8.1...
Страница 15 - ТРАНСПОРТИРОВАНИЕ И ХРАНЕНИЕ; СВИДЕТЕЛЬСТВО О ПРИЕМКЕ
15 10. ТРАНСПОРТИРОВАНИЕ И ХРАНЕНИЕ 10.1 Обогреватель в упаковке изготовителя может транспорти- роваться всеми видами крытого транспорта при температуре от - 50°С до + 50°С и среднемесячной относительной влажности 80 % (при + 20°С) в соответствии с манипуляционными знаками на упа- ковке исключающие ...
Страница 16 - ГАРАНТИИ ИЗГОТОВИТЕЛЯ
16 12. ГАРАНТИИ ИЗГОТОВИТЕЛЯ 12.1 Изготовитель гарантирует надежную и безотказную рабо- ту обогревателя при соблюдении условий эксплуатации, хранения и транспортирования. Гарантийный срок эксплуатации - 12 месяцев со дня прода- жи обогревателя через розничную торговую сеть. Дата продажи с печатью ма...
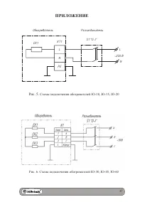
Страница 17 - ПРИЛОЖЕНИЕ
17 ПРИЛОЖЕНИЕ Рис. 5. Схема подключения обогревателей IO-10, IO-15, IO-20 Рис. 6. Схема подключения обогревателей IO-30, IO-45, IO-60 L L ~220 В N N EK1 ХT1 S1 "O-I" PE Обогреватель Разъединитель