Страница 7 - УВАЖАЕМЫЙ ПОКУПАТЕЛЬ
7 СОДЕРЖАНИЕ УВАЖАЕМЫЙ ПОКУПАТЕЛЬ КАК ЭКОНОМИТЬ ЭНЕРГИЮ RU УВАЖАЕМЫЙ ПОКУПАТЕЛЬ 7 КАК ЭКОНОМИТЬ ЭНЕРГИЮ 7 УКАЗАНИЯ ПО ТЕХНИКЕ БЕЗОПАСНОСТИ 8 ОПИСАНИЕ УСТРОЙСТВА 9 МОНТАЖ 9 ЭКСПЛУАТАЦИЯ 10 ПРИГОТОВЛЕНИЕ ПИЩИ В ДУХОВКЕ - ПРАКТИЧЕСКИЕ СОВЕТЫ 13 УКАЗАНИЯ ПО ТЕХНИКЕ БЕЗОПАСНОСТИ 15 ОБСЛУЖИВАНИЕ И УХОД 19...
Страница 8 - УКАЗАНИЯ ПО ТЕХНИКЕ БЕЗОПАСНОСТИ
8 УКАЗАНИЯ ПО ТЕХНИКЕ БЕЗОПАСНОСТИ Внимание! Оборудование и его дост упные части нагреваются во время эксплуатации. Всегда следует помнить, что существует опасность травмы, при прикосновении к нагревательным элементам. Поэтому, во время работы оборудования - быть особо бдительными! Дети младше 8 лет...
Страница 9 - МОНТАЖ
9 УКАЗАНИЯ ПО ТЕХНИКЕ БЕЗОПАСНОСТИ Необходимо следить, чтобы мелкое кухонное оборудование и провода не соприкасались с нагретой духовкой и варочной поверхностью, поскольку изоляция этого оборудования не рас - считана на высокие температуры. Нельзя оставлять духовкy без присмотра во время жарения...
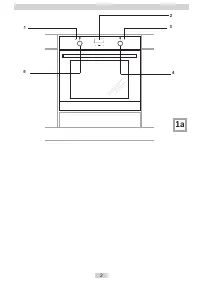
Страница 10 - ЭКСПЛУАТАЦИЯ
10 ЭКСПЛУАТАЦИЯ Подключение духовки к электрической сети ● При производстве духовка рассчитана на питание переменным однофазным током (230В~50 Гц) и оснащена кабелем подклю - чения 3 x 1,5 мм2 длиной около 1,5 м с за - крытой вилкой. ● Гнездо подключения электросети должно быть закрытым и не должно ...
Страница 11 - Eco
11 ЭКСПЛУАТАЦИЯ Духовка с естественной конвекцией Духовка может нагреваться верхним и нижним нагревателями, грилем. Управление работой осуществляется при помощи ручки вы - бора режима работы духовки – установка заклю - чается в повороте ручки на выбранную функцию, a также ручки регулирования темпера...
Страница 13 - ПРИГОТОВЛЕНИЕ ПИЩИ В ДУХОВКЕ - ПРАКТИЧЕСКИЕ СОВЕТЫ
13 Внимание! Когда используется духовка, доступные части могут нагреться. Рекомендуется не подпускать к духовке детей. Использование вертела* Вертел позволяет жарить готовящееся в духовке блюдо, переворачивая его. Главным образом он служит для поджаривания птицы, шашлыков, колбасок и т.п. Включение ...
Страница 14 - Функция нагрева ЭКО
14 ПРИГОТОВЛЕНИЕ ПИЩИ В ДУХОВКЕ - ПРАКТИЧЕСКИЕ СОВЕТЫ Функция нагрева ЭКО при использовании функции ЭКО включается оптимальный способ нагрева с целью приготовления пищи с минимальными затратами электроэнергии, нельзя сокращать время приготовления за счет повышения температуры, также не рекоменду...
Страница 17 - ТЕСТОВЫЕ БЛЮДА В соответствии со стандартом EN 60350-1.; Выпечка
17 Внимание! Параметры, приведенные в таблицах являются справочными и могут изменяться в зависимости от Ваших кулинарных пристрастий и опыта. ТЕСТОВЫЕ БЛЮДА В соответствии со стандартом EN 60350-1. Вид блюда Аксессуары Уровень Функция нагрева Темпера- тура ( 0 C) Время вы- пекания 2) (мин.) Мелкие и...
Страница 19 - ОБСЛУЖИВАНИЕ И УХОД
19 ОБСЛУЖИВАНИЕ И УХОД Духовка ● Духовку следует чистить после каждого ис - пользования. При чистке включается осве - щение, что позволяет улучшить видимость внутри рабочего пространства. ● Камеру духовки надлежит мыть только теплой водой с добавлением небольшого количества жидкости для мытья посуды...
Страница 20 - ПОВЕДЕНИЕ В АВАРИЙНЫХ СИТУАЦИЯХ
20 Периодический осмотр Помимо действий, необходимых для поддержа - ния плиты в чистоте, следует: проводить периодические проверки работы элементов управления и рабочих групп пли - ты. После истечения гарантийного срока, минимум раз в два года, следует произво - дить осмотр технического состояния ...
Страница 21 - ТЕХНИЧЕСКИЕ ДАННЫЕ; Производитель свидетельствует
21 ПРОБЛЕМА ПРИЧИНА ДЕЙСТВИЯ 1. Электрика не работает Отсутствие питания Проверить предохранитель, перегоревший заменить 2. Дисплей таймера показыва - ет „0.00” / „12.00”* Прибор был отключен от сети или временно пропало напряжение Установить текущее время (см. Инструкция по эксплуатации таймера) 3....