Страница 7 - УВАЖАЕМЫЙ ПОКУПАТЕЛЬ
7 СОДЕРЖАНИЕ УВАЖАЕМЫЙ ПОКУПАТЕЛЬ КАК ЭКОНОМИТЬ ЭНЕРГИЮ RU УВАЖАЕМЫЙ ПОКУПАТЕЛЬ 7 КАК ЭКОНОМИТЬ ЭНЕРГИЮ 7 УКАЗАНИЯ ПО ТЕХНИКЕ БЕЗОПАСНОСТИ 8 ОПИСАНИЕ УСТРОЙСТВА 10 МОНТАЖ 11 ЭКСПЛУАТАЦИЯ 12 ПРИГОТОВЛЕНИЕ ПИЩИ В ДУХОВКЕ - ПРАКТИЧЕСКИЕ СОВЕТЫ 17 УКАЗАНИЯ ПО ТЕХНИКЕ БЕЗОПАСНОСТИ 18 ОБСЛУЖИВАНИЕ И УХОД ...
Страница 8 - УКАЗАНИЯ ПО ТЕХНИКЕ БЕЗОПАСНОСТИ
8 УКАЗАНИЯ ПО ТЕХНИКЕ БЕЗОПАСНОСТИ Внимание! Оборудование и его дост упные части нагреваются во время эксплуатации. Всегда следует помнить, что существует опасность травмы, при прикосновении к нагревательным элементам. Поэтому, во время работы оборудования - быть особо бдительными! Дети младше 8 лет...
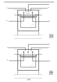
Страница 10 - ОПИСАНИЕ УСТРОЙСТВА
10 1a Оснащение плиты - перечень:3a Поддон для выпечки* 3b Решетка для гриля (решетка для сушки) 3c Поддон для жарки* 3d Вертел –и вилки* *для определенных моделей ОПИСАНИЕ УСТРОЙСТВА 1 Контрольная лампа терморегулятора 2 Таймер* 3 Контрольная лампа работы духовки 4 Ручка выбора функции духовки 5 Ру...
Страница 11 - МОНТАЖ
11 МОНТАЖ Монтаж духовки Кухонное помещение должно быть сухим и проветриваемым, иметь исправную вен - тиляцию, а расположение духовки должно обеспечивать свободный доступ к элемен - там управления. Духовка изготовлена в ка - тегории Y. Мебель должна иметь облицовку, а клей, которым она приклеена, вы...
Страница 12 - ЭКСПЛУАТАЦИЯ
12 ЭКСПЛУАТАЦИЯ Подключение духовки к электрической сети ● При производстве духовка рассчитана на питание переменным однофазным током (230В~50 Гц) и оснащена кабелем подклю - чения 3 x 1,5 мм2 длиной около 1,5 м с за - крытой вилкой. ● Гнездо подключения электросети должно быть закрытым и не должно ...
Страница 13 - Возможные положения ручки
13 Выключение осуществляется установкой обеих ручек в положение „ ” / „ 0 ”. Возможные положения ручки Автономное освещение духовки Установив ручку в это положение, мы включаем освещение камеры духовки. Используется, например, при мытье камеры. Включен гриль Установка ручки в это положение позволя...
Страница 17 - ПРИГОТОВЛЕНИЕ ПИЩИ В ДУХОВКЕ - ПРАКТИЧЕСКИЕ СОВЕТЫ
17 ПРИГОТОВЛЕНИЕ ПИЩИ В ДУХОВКЕ - ПРАКТИЧЕСКИЕ СОВЕТЫ Выпечка Рекомендуется выпекать пироги на поддо - нах, являющихся заводской комплектацией плиты, Выпечку можно производить в формах и на поддонах промышленного производства, ко - торые ставятся на боковые направляющие. Для приготовления продук...
Страница 20 - ОБСЛУЖИВАНИЕ И УХОД
20 ОБСЛУЖИВАНИЕ И УХОД Духовка ● Духовку следует чистить после каждого ис - пользования. При чистке включается осве - щение, что позволяет улучшить видимость внутри рабочего пространства. ● Камеру духовки надлежит мыть только теплой водой с добавлением небольшого количества жидкости для мытья посуды...
Страница 21 - ПОВЕДЕНИЕ В АВАРИЙНЫХ СИТУАЦИЯХ
21 Периодический осмотр Помимо действий, необходимых для поддержа - ния плиты в чистоте, следует: проводить периодические проверки работы элементов управления и рабочих групп пли - ты. После истечения гарантийного срока, минимум раз в два года, следует произво - дить осмотр технического состояния ...
Страница 22 - ТЕХНИЧЕСКИЕ ДАННЫЕ; Производитель свидетельствует
22 ПРОБЛЕМА ПРИЧИНА ДЕЙСТВИЯ 1. Электрика не работает Отсутствие питания Проверить предохранитель, перегоревший заменить 2. Дисплей таймера показыва - ет „0.00” / „12.00”* Прибор был отключен от сети или временно пропало напряжение Установить текущее время (см. Инструкция по эксплуатации таймера) 3....