Страница 7 - УВАЖАЕМЫЙ ПОКУПАТЕЛЬ
7 СОДЕРЖАНИЕ УВАЖАЕМЫЙ ПОКУПАТЕЛЬ КАК ЭКОНОМИТЬ ЭНЕРГИЮ RU УВАЖАЕМЫЙ ПОКУПАТЕЛЬ 7 КАК ЭКОНОМИТЬ ЭНЕРГИЮ 7 УКАЗАНИЯ ПО ТЕХНИКЕ БЕЗОПАСНОСТИ 8 ОПИСАНИЕ УСТРОЙСТВА 10 МОНТАЖ 11 ЭКСПЛУАТАЦИЯ 12 ПРИГОТОВЛЕНИЕ ПИЩИ В ДУХОВКЕ - ПРАКТИЧЕСКИЕ СОВЕТЫ 17 УКАЗАНИЯ ПО ТЕХНИКЕ БЕЗОПАСНОСТИ 18 ОБСЛУЖИВАНИЕ И УХОД ...
Страница 8 - УКАЗАНИЯ ПО ТЕХНИКЕ БЕЗОПАСНОСТИ
8 УКАЗАНИЯ ПО ТЕХНИКЕ БЕЗОПАСНОСТИ Внимание! Оборудование и его дост упные части нагреваются во время эксплуатации. Всегда следует помнить, что существует опасность травмы, при прикосновении к нагревательным элементам. Поэтому, во время работы оборудования - быть особо бдительными! Дети младше 8 лет...
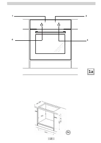
Страница 10 - ОПИСАНИЕ УСТРОЙСТВА
10 1a Оснащение плиты - перечень:3a Поддон для выпечки* 3b Решетка для гриля (решетка для сушки) 3c Поддон для жарки* 3d Вертел –и вилки* *для определенных моделей ОПИСАНИЕ УСТРОЙСТВА 1 Контрольная лампа терморегулятора 2 Контрольная лампа работы духовки 3 Ручка выбора функции духовки 4 Ручка регуля...
Страница 11 - МОНТАЖ
11 МОНТАЖ Монтаж духовки Кухонное помещение должно быть сухим и проветриваемым, иметь исправную вен- тиляцию, а расположение духовки должно обеспечивать свободный доступ к элемен- там управления. Духовка изготовлена в ка- тегории Y. Мебель должна иметь облицовку, а клей, которым она приклеена, выдер...
Страница 12 - ЭКСПЛУАТАЦИЯ
12 ЭКСПЛУАТАЦИЯ Подключение духовки к электрической сети ● При производстве духовка рассчитана на питание переменным однофазным током (230В~50 Гц) и оснащена кабелем подклю- чения 3 x 1,5 мм2 длиной около 1,5 м с за- крытой вилкой. ● Гнездо подключения электросети должно быть закрытым и не должно ра...
Страница 13 - Возможные положения ручки
13 Выключение осуществляется установкой обеих ручек в положение „ ” / „ 0 ”. Возможные положения ручки Автономное освещение духовки Установив ручку в это положение, мы включаем освещение камеры духовки. Используется, например, при мытье камеры. Включен гриль Установка ручки в это положение позволя...
Страница 17 - ПРИГОТОВЛЕНИЕ ПИЩИ В ДУХОВКЕ - ПРАКТИЧЕСКИЕ СОВЕТЫ
17 ПРИГОТОВЛЕНИЕ ПИЩИ В ДУХОВКЕ - ПРАКТИЧЕСКИЕ СОВЕТЫ Выпечка Рекомендуется выпекать пироги на поддо- нах, являющихся заводской комплектацией плиты, Выпечку можно производить в формах и на поддонах промышленного производства, ко- торые ставятся на боковые направляющие. Для приготовления продукто...
Страница 20 - ОБСЛУЖИВАНИЕ И УХОД
20 ОБСЛУЖИВАНИЕ И УХОД Духовка ● Духовку следует чистить после каждого ис- пользования. При чистке включается осве- щение, что позволяет улучшить видимость внутри рабочего пространства. ● Камеру духовки надлежит мыть только теплой водой с добавлением небольшого количества жидкости для мытья посуды. ...
Страница 22 - ТЕХНИЧЕСКИЕ ДАННЫЕ; Производитель свидетельствует
22 ПРОБЛЕМА ПРИЧИНА ДЕЙСТВИЯ 1. Электрика не работает Отсутствие питания Проверить предохранитель, перегоревший заменить 2.Не работает освещение духовки Лампа вывернута или пере- горела Подкрутить или заменить лам- пу (см. Раздел Чистка и содер- жание плиты) ТЕХНИЧЕСКИЕ ДАННЫЕ Номинальное напряжение...