Gigaset SL910(A) - инструкции и руководства
Телефон Gigaset SL910(A) - инструкции пользователя по применению, эксплуатации и установке на русском языке читайте онлайн в формате pdf
Инструкции:
Инструкция по эксплуатации Gigaset SL910(A)
Краткое содержание
1 Gigaset SL910/SL910A с ёмкостным сенсорным дисплеем Gigaset SL910/SL910A с ёмкостным сенсорным дисплеем Поздравляем вас с приобретением первого телефона Gigaset с сенсорным дисплеем. Высококачественный оригинальный металлический корпус, 3,2-дюймовый цветной сенсорный TFT-дисплей и великолепное кач...
2 Gigaset SL910/SL910A с ёмкостным сенсорным дисплеем Важная информация: Это руководство пользователя описывает функции устройства SL910/SL910A на момент его приобретения. Некоторые функции доступны только после обновления микропрограммы базового блока ( ¢ стр. 91) и трубки ( ¢ стр. 93). Такие функц...
3 Содержание С р а и Gigaset SL910/SL910A с ёмкостным сенсорным дисплеем . . . . . . . . . 1Общее описание трубки . . . . . . . . . . . . . . . . . . . . . . . . . . . . . . . . . . . . . . . . . . 7Краткое описание базового блока . . . . . . . . . . . . . . . . . . . . . . . . . . . . . . . . 8Знач...
7 Общее описание трубки Общее описание трубки v Кнопка меню Нажать кратко : открыть главное меню ( ¢ стр. 25) Нажать и удерживать : включить/выключить блокировку клавиатуры и дисплея ( ¢ стр. 29) Кнопки управления трубкой: c Кнопка разговора Набрать показываемый номер, принять вызов Во время разгово...
8 Краткое описание базового блока Краткое описание базового блока Значки на экране Значки на панели индикаторов состояния В зависимости от установок и режима работа телефона на панель индикаторов состояния выводятся следующие значки: Кнопка поиска Нажать кратко : Начать поиск трубки Нажать и удержив...
9 Значки на экране Значки выбора варианта Функции выбора вариантов изменяются в зависимости от рабочей ситуации. * * Важная информация: ¢ стр. 2 Значок Действие † Включить режим громкой связи † (оранжевый) (Режим громкой связи включен) Выключить режим громкой связи Ž Профиль режима громкой связи – В...
10 Значки на экране Другие значки на экране: Информационные значки Установление соединения (исходящий вызов) # Соединение установлено Соединение не устанавливается или прервано Ø w Ú Внутренний/внешний вызов Ã Автоответчик записывает Ø Ù Ú Будильник š b Ø á Ú Напоминание о встрече/ событии Информаци...
11 Правила техники безопасности Правила техники безопасности Обратите внимание! Перед использованием телефона внимательно прочитайте инструкции по технике безопасности и руководство по эксплуатации.Объясните детям содержание инструкций и возможные опасности, связанные с использованием телефона. Испо...
12 Первые шаги Первые шаги Проверка содержимого упаковки u Один базовый блок Gigaset SL910/SL910A u Один блок питания для базового блока u Один телефонный кабель u Одна трубка Gigaset SL910H u Одна крышка аккумуляторного отсека (задняя крышка трубки) u Один аккумулятор u Одно зарядное устройство u О...
14 Первые шаги Крепление базового блока на стене (вариант) Подключение зарядного устройства для трубки ¤ Вставьте плоский штекер в блок питания . ¤ Вставьте блок питания в сетевую розетку . 1 2 Если понадобится снова отсоединить штекер от зарядного устройства: ¤ Отсоедините блок питания от сетевой р...
15 Первые шаги Подготовка трубки к работе Дисплей и кнопки трубки покрыты защитной пленкой. Снимите защитную пленку! Установка аккумулятора и крышки аккумуляторного отсека Обратите внимание! Не пользуйтесь никакими заостренными предметами при работе с сенсорным дисплеем трубки! Не пользуйтесь никаки...
16 Первые шаги Чтобы открыть крышку для замены аккумулятора: ¤ вставьте ноготь в выемку внизу крышки и поднимите крышку. ¤ Чтобы извлечь аккумулятор , вставьте ноготь в выемку на корпусе и вытяните аккумулятор вверх. Зарядка аккумулятора Аккумулятор поставляется частично заряженным. Перед использова...
17 Первые шаги Подготовка базового блока и трубки к работе – мастер установки После установки аккумулятора значки времени и даты начнут мигать. Мастер настройки запустится автоматически после касания одного из мигающих значков. Она помогает установить настройки, необходимые для работы трубки и базов...
18 Первые шаги ¤ Прокручивая пальцем левую цифровую полоску вверх или вниз, установите час. Цифровая полоска будет двигаться за вашим пальцем. ¤ Точно так же при помощи правой цифровой полоски установите минуты. ¤ Задайте формат вывода времени – 12-часовой или 24-часовой Для этого прикоснитесь к соо...
19 Первые шаги ¤ Коснитесь нужного формата: День Месяц Год / Месяц День Год . Выбранный формат будет отмечен значком Ø . ¤ Коснитесь значка ‘ , чтобы вернуться на экран Дата . ¤ Снова коснитесь значка ‘ , чтобы вернуться на экран Приветствие . Текущий язык показан под надписью Язык дисплея . Если вы...
21 Первые шаги Экран в состоянии готовности После задания всех необходимых настроек трубка переключается в состояние готовности. В состоянии готовности на экран может иметь один из трех видов ( ¢ стр. 23). При первой настройке телефона выводится экран настройки , которую вы можете настроить по своем...
22 Как пользоваться телефоном Как пользоваться телефоном Включение/выключение трубки ¤ Для выключения трубки, находящейся в состоянии готовности, нажмите и удерживайте кнопку отбоя a . Вы услышите мелодию. ¤ Чтобы снова включить трубку, нажмите и удерживайте кнопку отбоя a . Работа с сенсорным диспл...
23 Как пользоваться телефоном Экран трубки в состоянии готовности Экран состояния готовности состоит из трех видов, которые выводятся по отдельности. u Экран настройки (пример ¢ стр. 21) Вы можете сформировать этот экран по своему вкусу. Более подробную информацию о настройке этого экрана см. на стр...
24 Как пользоваться телефоном Панель индикаторов состояния и экран состояния В заголовке каждой из трех экранов присутствует линейка индикаторов. Значки и их значение описываются на стр. 8. Чтобы вывести экран состояния , прикоснитесь к панели индикаторов состояния. Этот экран дает вам прямой (быстр...
25 Как пользоваться телефоном Ниже показаны примеры меню. Функции/приложения, содержащиеся в меню, зависят от загруженной версии программного обеспечения. Переключение экранов меню Экраны меню можно переключать тем же способом, что и при переходе с экрана на экран в состоянии готовности, кнопками ê ...
26 Как пользоваться телефоном Прокрутка списков (вертикальная прокрутка) Если список (не подменю) не помещается на дисплее, т.е. если не удается показать все элементы списка одновременно, то затенение на нижней и/или верхней кромке дисплея показывает, в какую сторону нужно прокручивать, чтобы увидет...
27 Как пользоваться телефоном Если все варианты не помещаются в один ряд, обычно используется перемещающийся переключатель. Переключателем можно прокручивать в горизонтальном направлении. Перемещение движка выбора варианта (горизонтальная прокрутка) Перемещающийся переключатель обозначается стрелкой...
28 Как пользоваться телефоном Ввод текста ¤ Коснитесь клавиши регистра , чтобы перейти с нижнего регистра на верхний. Если выбран верхний регистр, на клавиатуре показываются прописные буквы, в противном случае – строчные. Верхний регистр активируется только для одного следующего символа, после чего ...
29 Как пользоваться телефоном Можно поместить курсор в любое место текста, например, чтобы исправить или дополнить его. Прикоснитесь к левой половине слова, и курсор переместится к началу слова. Прикоснитесь к правой половине, и курсор переместится к концу слова. При последующем вводе текст будет вс...
30 Структура меню Структура меню ¤ Для вызова главного меню кратко нажмите в режиме готовности кнопку v . Главное меню состоит из экранов Приложения и Настройки . ¤ Для переключения экранов проведите пальцем по дисплею в горизонтальном направлении. Меню Приложения * * Важная информация: ¢ стр. 2 Гла...
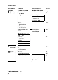
31 Структура меню Меню Настройки Главное менюНастройки ПодменюТекущая настройка Дополнительные варианты настройки Страница â Дата ивремя Время стр. 17 Дата ì Настройкиаудио Мелодии (трубка) Громкость стр. 81 Нарастание Внутр. вызовы Внеш. вызовы Управ. временем (звонок выкл.) Ан.выз.без зв. Внутр. В...
36 Выполнение вызовов Выполнение вызовов Выполнение внешнего вызова ¤ Откройте экран набора, введите номер, кратко нажмите c . Или: ¤ Чтобы ввести номер нажмите и удерживайте кнопку c в режиме ожидания, пока не появится Набор . Вы можете отменить набор, нажав a . Продолжение разговора через гарнитур...
37 Выполнение вызовов Прием вызова на гарнитуру Bluetooth Предварительное условие : Bluetooth включена; соединение между гарнитурой Bluetooth и трубкой установлено ( ¢ стр. 61). Когда гарнитура зазвонит, просто нажмите на ней кнопку разговора . Дополнительную информацию о гарнитуре см. в прилагаемом...
38 Выполнение вызовов Для определения номера вызывающего абонента Если номер вызывающего абонента хранится в вашей телефонной книге, то номер заменяется именем из записи в телефонной книге. Если вам не предоставляется услуга CLIP, вместо номера выводится Внешний : u Если номер не передан. u Если кно...
39 Выполнение вызовов Запросили ли вы услугу вывода телефонного номера у своего сетевого оператора? ¤ Узнайте у своего сетевого оператора, поддерживает ли он вывод номера вызывающего телефона и предоставил ли он вам эту услугу. Ваш телефон соединен через офисную АТС/шлюз? (между телефоном и домашней...
40 Выполнение вызовов Проверка защиты связи Трубка обнаруживает незащищенные соединения с базовым блоком, когда разговор могут прослушивать посторонние. В процессе установления или во время внешнего вызова: ¤ Нажмите и удерживайте любое место на панели индикаторов состояния. Если выводится Надежное ...
41 Звонки с использованием сетевых услуг Звонки с использованием сетевых услуг Сетевые услуги — это функции, доступ к которым вам предоставляет сетевой оператор. Вы должны запросить эти услуги у своего сетевого оператора (за них может взиматься дополнительная плата). ¤ Перепрограммировать сетевые ус...
42 Использование списков Использование списков Варианты списков: списки дозвона, входящих SMS, вызовов, пропущенных встреч, сообщений на автоответчике (только Gigaset SL910A). Список дозвона Список дозвона содержит 20 последних номеров, набиравшихся на трубке (максимум 32 цифры в каждом номере). Для...
43 Использование списков ¤ Коснитесь одной из этих надписей, чтобы открыть соответствующий список. Чтобы открыть списки вызовов через экран сообщений ( ¢ стр. 44). Запись в списке Новые сообщения выводятся вверху.Для элементов списка выводится следующая информация: u Тип списка (в заголовке) u Значо...
45 Использование телефонной книги Если отображение сообщения включено: Появление в списке новой записи сопровождается звуковым уведомлением. Индикатор сообщения слева возле динамика также будет мигать.В состоянии готовности появляется следующее сообщение: * Под каждым значком выводится число новых с...
46 Использование телефонной книги Создание новой записи в телефонной книге ¤ Откройте телефонную книгу ¤ Коснитесь [ d Создать] . ¤ Для ввода в то или иное поле записи коснитесь соответствующего поля. Вы можете коснуться Добавить номер до восьми раз, чтобы ввести до восьми телефонных номеров в данну...
47 Использование телефонной книги Набор номера из телефонной книги ¤ Откройте телефонную книгу ( ¢ стр. 45). Вы можете: ¤ Нажать c . Набирается стандартный номер, помеченный в записи зеленой точкой. Или: ¤ Коснуться имени в записи. Набирается стандартный номер записи. Исключение: Если вы открыли тел...
48 Использование телефонной книги Перенос записи/телефонной книги на другую трубку Предварительные условия: u Отправляющая и принимающая трубки должны быть зарегистрированы на одном базовом блоке. u Другая трубка и базовый блок могут отправлять и принимать записи телефонной книги. Можно передать отд...
50 Посылка и прием SMS-сообщений (текстовых сообщений) Посылка и прием SMS-сообщений (текстовых сообщений) * Вы получили телефон в состоянии, готовом для немедленной посылки текстовых сообщений. Предварительные условия: u Включено определение номера вызывающего абонента. u Ваш сетевой оператор подде...
51 Посылка и прием SMS-сообщений (текстовых сообщений) Получение SMS Входящие SMS-сообщения сохраняются в списке входящих сообщений, связанные SMS показываются, вообще говоря, как одно SMS. Включение/выключение подавления первого звонка * ¤ Откройте меню Настройки и введите цифровой код для служебны...
52 Посылка и прием SMS-сообщений (текстовых сообщений) Запись в списке входящих SMS Элемент списка входящих сообщений показывается с именем отправителя и датой приема (пример): 1. Номер или имя и тип номера (если он есть в телефонной книге). Неизвестн. , если номер отсутствует. 2. Статус SMS: · (Кра...
53 Посылка и прием SMS-сообщений (текстовых сообщений) Настройка SMS-центра В телефоне должны храниться номера телефонов хотя бы одного SMS-центра, иначе вы не сможете открыть подменю [ Написать SMS] в меню Приложения . SMS принимаются от любого выбранного SMS-центра, если он зарегистрирован у своег...
54 Посылка и прием SMS-сообщений (текстовых сообщений) ¤ Деактивируйте функцию SMS: Введите B F 0 . Чтобы вновь включить функцию SMS (стандартная настройка): Введите B F A . Поиск и устранение ошибок при работе с SMS Самостоятельное устранение ошибок E0 Включен антиопределитель номера вызывающего аб...
55 Работа с автоответчиком базового блока Gigaset SL910A Работа с автоответчиком базового блока Gigaset SL910A Управление с трубки Настройте автоответчик через экран состояния ( ¢ стр. 24) или подменю Aвтоответчик : ¤ Откройте меню Настройки ( ¢ стр. 25) ¤ [ ¶ Aвтоответчик] ¤ Если потребуется, прокр...
56 Работа с автоответчиком базового блока Gigaset SL910A Запись ¤ Коснитесь [ ý Записать] / [ ý Перезапис.] . ¤ После звукового сигнала готовности запишите приветствие (минимальная продолжительность 3 секунды, максимальная 180 секунд). ¤ Для завершения коснитесь [ Завершить]. Отменить запись можно к...
57 Работа с автоответчиком базового блока Gigaset SL910A Воспроизведение новых сообщений ¤ Коснитесь [ û Воспр.новые] . Воспроизведение отдельных сообщений ¤ Коснитесь записи в списке автоответчика. Во время воспроизведения выводится Сведения о вызове . Вам предоставляются следующие возможности: u [...
58 Работа с автоответчиком базового блока Gigaset SL910A Включение/выключение фильтрации вызовов на трубке Постоянное включение/выключение фильтрации вызовов ¤ В подменю Aвтоответчик ( ¢ стр. 55) прокруткой найдите Прослушивание . ¤ Включите/выключите фильтрацию вызовов соответствующей кнопкой. Откл...
59 Работа с автоответчиком базового блока Gigaset SL910A Работа с автоответчиком с другого телефона (дистанционное управление) Вызовите или запустите автоответчик с другого телефона (например, из гостиницы или с мобильного телефона). Предварительные условия: Текущий PIN-код системы установлен на люб...
60 Использование сетевого почтового ящика Использование сетевого почтового ящика Чтобы можно было пользоваться сетевым почтовым ящиком, вы должны запросить его у своего оператора и сохранить в своем телефоне номер сетевого почтового ящика. ¤ Откройте меню Настройки ( ¢ стр. 25). ¤ Коснитесь [ ¶ Сете...
61 Использование устройств Bluetooth Использование устройств Bluetooth Вы можете зарегистрировать до пяти устройств обмена данными (ПК, ручных компьютеров, мобильных телефонов) и одну гарнитуру Bluetooth. Вы должны включить Bluetooth на гарнитуре, убедиться в том, что необходимые устройства видимы, ...
62 Использование устройств Bluetooth Отыскание и регистрация (аутентификация) устройств Bluetooth Расстояние между гарнитурой и включенным устройством Bluetooth не должно превышать10 м. Начало поиска Чтобы начать поиск, нужно при включенной Bluetooth открыть подменю Bluetooth в меню Настройки . ¤ От...
63 Использование устройств Bluetooth Изменение списка известных (аутентифицированных) устройств Открытие списка ¤ В подменю Bluetooth коснитесь ’ рядом с Известные устр-ва . Значок ô рядом с именем устройства — это гарнитура, а * — устройство обмена данными. Просмотр информации об устройствах, отмен...
64 ECO DECT: Сокращение потребляемой электроэнергии и излучения ECO DECT: Сокращение потребляемой электроэнергии и излучения Используя Gigaset SL910/SL910A, вы способствуете охране окружающей среды. Сокращение потребления электроэнергии Ваш телефон имеет экономичный блок питания и потребляет меньше ...
65 ECO DECT: Сокращение потребляемой электроэнергии и излучения Индикация состояния Значок на экране белый красный Реж. Eco Mode выключен Реж. EcoMode+ выключен зеленый красный Реж. Eco Mode включен Реж. EcoMode+ выключен Значок на экране белый Реж. EcoMode+ включен (в состоянии готовности выводится...
66 Использование трубки в качестве средства акустического контроля («радионяни») Использование трубки в качестве средства акустического контроля («радионяни») Если включен режим «радионяни», то, как только уровень шума возле трубки превысит заданный уровень, будет выполнен звонок по номеру, предназн...
67 Использование трубки в качестве средства акустического контроля («радионяни») Изменение настроек ¤ В меню Приложения коснитесь [ Ç Радионяня] . ¤ Коснитесь [ N Измен. ]. ¤ Выберите чувствительность ( Громко или Тихо ) и номер назначения для звонков «радионяни» ( Внутренний или Внешний ). ¤ Коснит...
69 Настройка будильника Показ пропущенных напоминаний Пропущенные напоминания ( ¢ стр. 49) выводятся в списке Напоминания/ События , если: u Вы не подтвердили получение напоминания. u В момент сигнала напоминания вы разговаривали по телефону. u В момент сигнала напоминания трубка была выключена. В с...
71 Использование нескольких трубок Использование нескольких трубок Регистрация трубок На базовом блоке можно зарегистрировать до шести трубок и ретрансляторов Gigaset. Трубка может быть зарегистрирована на нескольких (до четырех) базовых блоках. Каждому зарегистрированному устройству назначается вну...
72 Использование нескольких трубок Регистрация других трубок в базовом блоке Gigaset SL910/ SL910A Зарегистрировать другие трубки Gigaset и трубки других устройств стандарта GAP можно следующим образом. Присвоение внутреннего номера Базовый блок назначает трубке наименьший свободный внутренний номер...
73 Использование нескольких трубок Смена базового блока Если ваша трубка зарегистрирована на нескольких базовых блоках, можно установить ее на определенном базовом блоке или на базовом блоке с наилучшими условиями приема ( Лучший блок ). ¤ В меню Настройки ( ¢ стр. 25) коснитесь [ É Трубки и база] ....
74 Использование нескольких трубок Переадресация (соединение) внешнего вызова на другую трубку Вы можете перевести внешний вызов как до, так и после ответа внутреннего абонента. ¤ Переадресация внешнего вызова: Нажмите a . Если внутренний абонент не отвечает или занят, повторение вызова со стороны в...
75 Использование нескольких трубок Подключение к внешнему соединению Вы разговариваете с внешним абонентом. Внутренний участник может слушать вас и внешнего абонента и принять участие в разговоре (конференции). Включение/отключение «подслушивания» ¤ В меню Настройки ( ¢ стр. 25) коснитесь [ « Телефо...
76 Настройка трубки Настройка трубки Вы получили трубку со стандартными настройками, но можете изменить настройки в соответствии со своими индивидуальными предпочтениями. Быстрый доступ к функциям, быстрый набор – настройка собственного экрана состояния готовности На экране настройки состояния готов...
77 Настройка трубки Вы можете собрать на экране настройки до 18 функций, приложений и номеров быстрого вызова. Вы сможете использовать эти функции / приложения только после выхода из режима настройки. Удаление приложения / функции В режиме настройки: ¤ Перетащите соответствующий значок в список выбо...
78 Настройка трубки * Настройка быстрого набора В режиме настройки: ¤ Перетащите значок быстрого набора в область настройки и отпустите его. Откроется телефонная книга. ¤ Выберите запись. ¤ В подробном представлении записи выберите номер телефона, с которым вы хотите связать значок быстрого набора. ...
79 Настройка трубки Настройка кода страны и междугороднего кода ¤ В меню Настройки ( ¢ стр. 25) коснитесь [ ° Язык и расположение] . ¤ Перейдите ¢ стр. 19. Настройка клавиатуры / кнопочной панели Вы можете менять вид и реакцию выбираемых полей, которые выводятся на экран. Эти настройки не соответств...
80 Настройка трубки Настройка подсветки дисплея Вы можете задать определенное время пребывания в состоянии готовности, по истечении которого подсветка дисплея должна выключаться. Если эта функция не отключена, дисплей постоянно слегка подсвечен. Подсветка дисплея автоматически включается при снятии ...
81 Настройка трубки Настройка профиля громкой связи Вы можете устанавливать различные профили громкой связи, чтобы оптимальным образом приспособить свой телефон к окружающей обстановке. Профиль 1 Оптимальная настройка для большинства соединений. Профиль 2 Оптимальная настройка для громкой связи. Одн...
82 Настройка трубки Включение/выключение управления временем для внешних вызовов Вы можете задать интервал времени, когда вы не хотите, чтобы телефон звонил. ¤ Коснитесь ’ рядом с Управ. временем (звонок выкл.) . ¤ Коснитесь Игнорир. звонки с . ¤ Задайте начало интервала времени. ¤ Вернитесь, коснув...
84 Настройка базового блока Настройка базового блока Включение/выключение мелодии при ожидании соединения ¤ В меню Настройки ( ¢ стр. 25) коснитесь [ ì Настройки аудио] . ¤ Если нужно, прокрутите до Мелодия паузы . ¤ Включите/выключите мелодию ожидания соединения соответствующей кнопкой. Поддержка р...
85 Подключение базового блока к офисной АТС Восстановление стандартных настроек базового блока При восстановлении настроек: u Сохраняются дата и время u Список вызовов не удален u Сохраняется регистрация трубок u Системный PIN-код не сбрасывается. ¤ В меню Настройки ( ¢ стр. 25) коснитесь [ Ê Систем...
86 Подключение базового блока к офисной АТС Сохранение кода доступа (кода внешней линии) Если перед набором любого внешнего номера в вашей офисной АТС вы должны набирать код доступа, например, 0: ¤ В меню Настройки ( ¢ стр. 25) коснитесь [ « Телефония] . ¤ Коснитесь ’ рядом с Код выхода в город . ¤ ...
87 Подключение базового блока к офисной АТС Настройка служебных функций * К функциям, которые требуются только в особых случаях, нет прямого доступа из меню. К таким функциям относится настройка специальных пауз, которые иногда приходится изменять при подключении телефона к офисной АТС. Чтобы включи...
88 Служба сервиса и поддержи Служба сервиса и поддержи У вас есть вопросы? Как клиент Gigaset вы получаете преимущество в получении наших сервисных услуг. Краткие описания решения проблем вы можете найти в этом руководстве пользователя и в разделе сервиса интернет-портала Gigaset.Пожалуйста, зарегис...
89 Служба сервиса и поддержи Вопросы и ответы Если у вас есть какие-либо вопросы по использованию вашего телефона, вы можете обращаться к нам ежедневно и круглосуточно черезwww.gigaset.com/service. В следующей таблице приводятся действия по поиску и устранению неисправностей. Проблемы с регистрацией...
90 Служба сервиса и поддержи Только для Gigaset SL910A: Отказ от ответственности Разрешение дисплея на Gigaset SL910H — 480x320 пикселей, что достигается посредством 460 800 управляющих элементов. Каждый пиксель состоит из трех элементов (красного, зеленого и синего). Возможно, пиксель неправильно у...
91 Обновление микропрограммы базового блока Обновление микропрограммы базового блока При появлении новых или усовершенствованных функций для базового блока Gigaset в Интернете выкладываются обновления микропрограммы базового блока, которые вы можете загружать непосредственно (без ПК) в базовый блок....
92 Обновление микропрограммы базового блока Подключение базового блока к локальной сети (маршрутизатору) Для подключения базовому блоку требуется IP-адрес в локальной сети. Маршрутизатор назначает адрес базовому блоку автоматически ( динамическое назначение). В некоторых случает автоматическое присв...
94 Проверка служебной информации, относящейся к базовому блоку/трубки Проверка служебной информации, относящейсяк базовому блоку/трубки Для обращения по нашей горячей линии вам потребуется служебная информация. Служебная информация базового блока: Предварительное условие: Вы пытаетесь выполнить внеш...
95 Проверка служебной информации, относящейся к базовому блоку/трубки УСЛОВИЯ ГАРАНТИЙНОГО ОБСЛУЖИВАНИЯ 1. Все нижеизложенные условия гарантии действуют в рамках законодательства Российской Федерации, регулирующего защиту прав потребителей, и не распространяются на случаи использования товаров в цел...
97 Проверка служебной информации, относящейся к базовому блоку/трубки РОССИЯ ГАРАНТИЙНЫЙ ТАЛОН № Бесшнуровой телефонный аппарат радиотехнологии DECTторговой марки Gigaset SL910/SL910A номера производственных серий для России: S30852-H2300-S301 / S30852-H2320-S301 ДАТА ПРОДАЖИ День Месяц Год ФИРМА-ПР...
98 Меры экологической безопасности Меры экологической безопасности Заявление о нашем отношении к охране окружающей среды Мы, Gigaset Communications GmbH, несем социальную ответственность и активно стремимся к улучшению окружающего мира. Наши идеи, технологии и действия служат людям, обществу и охран...
99 Приложение Приложение Уход за телефоном Протирайте базовый блок, зарядное устройство и трубку влажной тканью (не используйте растворители или микроволокнистую ткань) или антистатической салфеткой . Ни в коем случае не пользуйтесь сухой тканью, это может создать статический заряд. Контакт с жидкос...
100 Приложение Время работы трубки и время зарядки Время работы вашего Gigaset зависит от емкости и возраста аккумулятора и того, как он используется. (Все значения времени – максимально возможные). Мощность, потребляемая базовым блоком Общие технические характеристики DECT Время нахождения в готовн...
101 Приложение Bluetooth Разводка контактов телефонного штекера Диапазон радиочастот 2402 – 2480 МГц Мощность передачи Мощность импульса 4 мВт 1 не используется2 не используется3 а4 b5 не используется6 не используется 3 2 1 4 5 6
102 Использование программного обеспечения с открытым Использование программного обеспечения с открытым исходным кодом, содержащегося в продукте Микропрограмма вашего телефона Gigaset содержит лицензируемое ПО с открытым кодом, сторонних производителей. Эти интегрированные файлы ПО с открытым кодом ...
110 Индекс Индекс А Автоответчик . . . . . . . . . . . . . . . . . . . . . 55, 80 включение/выключение . . . . . . . . . . . . 55 воспроизведение сообщений . . . . . . 56 дистанционное управление . . . . . . . . 59 запись персонального приветствия/ объявления . . . . . . . . . . . . . . . . . . . . ...
Gigaset Телефоны Инструкции
-
Gigaset A116
Инструкция по эксплуатации
-
Gigaset A140
Инструкция по эксплуатации
-
Gigaset A165
Инструкция по эксплуатации
-
Gigaset A240
Инструкция по эксплуатации
-
Gigaset A260
Инструкция по эксплуатации
-
Gigaset A265
Инструкция по эксплуатации
-
Gigaset A510IP
Инструкция по эксплуатации
-
Gigaset A540 IP
Инструкция по эксплуатации
-
Gigaset A580
Инструкция по эксплуатации
-
Gigaset A585
Инструкция по эксплуатации
-
Gigaset AL140
Инструкция по эксплуатации
-
Gigaset AS180
Инструкция по эксплуатации
-
Gigaset AS185
Инструкция по эксплуатации
-
Gigaset AS280
Инструкция по эксплуатации
-
Gigaset AS285
Инструкция по эксплуатации
-
Gigaset AS28H
Инструкция по эксплуатации
-
Gigaset C530
Инструкция по эксплуатации
-
Gigaset C530IP (A IP)
Инструкция по эксплуатации
-
Gigaset C59H
Инструкция по эксплуатации
-
Gigaset DA210 White
Инструкция по эксплуатации