Страница 2 - ВАЖНАЯ ИНФОРМАЦИЯ ПО ТЕХНИКЕ БЕЗОПАСНОСТИ; не следует
ВАЖНАЯ ИНФОРМАЦИЯ ПО ТЕХНИКЕ БЕЗОПАСНОСТИ Перед использованием прибора расположите и установите его правильно, как указано в данном руководстве. Во избежание риска возникновения пожара, поражения электрическим током или получения травмы соблюдайте следующие меры предосторожности: • Установка прибора...
Страница 3 - СТРУКТУРА УСТОЙСТВА И ДАННЫЕ ПО УСТАНОВКЕ; Винные шкафы с возможностью встраивания для кухни; Установочный чертёж
СТРУКТУРА УСТОЙСТВА И ДАННЫЕ ПО УСТАНОВКЕ Данные изображение указывают не только структуру прибора, но и дают сведения по монтажу. Размеры и количество полок могут быть различными для моделей той же серии. Винные шкафы с возможностью встраивания для кухни Однозонный Сенсорная панель управления и циф...
Страница 6 - Винные шкафы только для встраиваемого использования
Винные шкафы только для встраиваемого использования DX-24.56BBK/BSK Сенсорная панель и цифровой дисплей Полки для вина Корпус Конденсатор Дверь Ручка Прокладка Регулируемые ножки Установочная планка DX-41.130BBK/BSK Корпус Дверь Сенсорная панель и цифровой дисплей Полки для вина Конденсатор Ручка Пр...
Страница 8 - Однозонный; Двухзонный
Винные шкафы для установки на пол Однозонный Сенсорное управление и цифровой дисплей Верхний правый шарнир Дверь Полки для вина Ручка Вентиляционные решетки Регулируемые ножки Замок Двухзонный Верхний правый шарнир Дверь Ручка Полки для вина Сенсорное управление и цифровой дисплей Front Louver Регул...
Страница 9 - ДЕЙСТВИЯ ПЕРЕД НАЧАЛОМ РАБОТЫ:; БЛОКИРОВКА И РАЗБЛОКИРОВКА ДВЕРИ (Опция; ИСПОЛЬЗОВАНИЕ ВИННОГО ШКАФА; Условия работы; SN
ДЕЙСТВИЯ ПЕРЕД НАЧАЛОМ РАБОТЫ: • Снимите внешнюю и внутреннюю упаковку. • Дайте прибору постоять в течение 2 часов перед подключением к источнику питания, для нормализации охлаждающей системы после транспортировки. • Используйте для очистки внутренней поверхности мягкую тряпку и теплую воду. • Для у...
Страница 10 - ХРАНЕНИЕ ВИНА
ХРАНЕНИЕ ВИНА • Стандартные полки предназначены для хранения бутылок бордо. Максимальное количество бутылок может варьироваться в зависимости от размера бутылок, количества установленных в винный шкаф полок и типа полок. • Предусмотрено 2 вида конструкций для выдвижных полок: o Полки с телескопическ...
Страница 14 - УХОД И ОБСЛУЖИВАНИЕ; Чистка винного шкафа
УХОД И ОБСЛУЖИВАНИЕ Чистка винного шкафа • Выключите питание, выньте вилку из розетки и удалите все изнутри, включая полки. • Протрите внутреннюю поверхность с использованием теплой воды и соды. Нужно исходить из расчета две столовые ложки соды на один литр воды. • Вымойте полки с применением мягког...
Страница 15 - ВОЗМОЖНЫЕ ПРОБЛЕМЫ
ВОЗМОЖНЫЕ ПРОБЛЕМЫ Если вам кажется, что прибор вышел из строя, выполните указанные действия, чтобы понять, сможете ли вы решить проблему сами прежде, чем обратитесь в сервисный центр. Неисправность Возможная причина Винный шкаф не работает Прибор не подключен Прибор выключен Сработал автомат или сг...
Страница 17 - Для встраиваемой серии
Для встраиваемой серии Примечания: • Реверсивная функция распашных дверей доступна только для устройства с 4 отверстиями для ручек на двери (2 на правой стороне, в них установлена ручка по умолчанию и 2 на левой стороне с заглушками). • Инструкция подходит только для блока с панелью управления, расп...
Страница 18 - Шаг; Подготовка двери
Шаг 2 Подготовка двери 1. Протяните провода по одному через верхнее правое отверстие шарнира, а затем снимите верхний правый шарнир (см. рис. 2) 2. Осторожно втяните шлейф внутрь двери и закройте защитную крышку (см. рис. 3). 3. Аккуратно удалите плоской отверткой прокладку в верхней части, чтобы по...
Страница 19 - Подготовка корпуса; с левой стороны корпуса
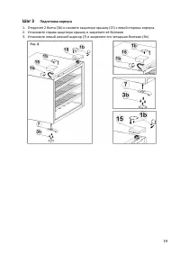
Шаг 3 Подготовка корпуса 1. Открутите 2 болта (1b) и снимите защитную крышку (15) с левой стороны корпуса 2. Установите справа защитную крышку и закрепите её болтами 3. Установите левый нижний шарнир (7) и закрепите его четырьмя болтами (3b) 19
Страница 20 - Установка двери; Закрепите нижний шарнир фиксирующим болтом (8)
Шаг 4 Установка двери 1. Установите верхний левый шарнир (14) в верхнюю часть корпуса и закрепите его тремя винтами (3а) 2. Закрепите нижний шарнир фиксирующим болтом (8) 3. Соедините два шлейфа (13) и (17) 4. Уложите аккуратно провода, закройте защитную крышку (16) и закрепите ее болтом (1а) 20
Страница 21 - Перестановка дверной ручки; Отсоедините прокладку с правой стороны.
Шаг 5 Перестановка дверной ручки 1. Отсоедините прокладку с правой стороны. 2. Плоской отверткой по часовой стрелке начните выкручивать декоративные болты (15) с внутренней стороны двери (см. рис. 10). Рекомендуется продолжить выкручивание пальцами с наружной стороны, чтобы не повредить резьбу отвер...
Страница 22 - ДЛЯ НАПОЛЬНОЙ СЕРИИ; панелью; Снятие двери; Перестановка крепления двери
ДЛЯ НАПОЛЬНОЙ СЕРИИ Примечания: • Реверсивная функция распашных дверей доступна только для устройства с панелью управления внутри шкафа. • Инструкция основана на том, что дверь уже установлена с правой петлей. • Все снятые детали должны быть сохранены на случай переустановки. Шаг 1 Снятие двери 1. С...
Страница 23 - Перестановка нижнего шарнира; Установите шарнир на левую часть вместе с шайбой (11)
Шаг 3 Перестановка нижнего шарнира 1. Снимите пластиковую заглушку (9) с нижнего правого шарнира (10) 2. Открутите 4 болта (3c) и снимите шарнир 3. Установите шарнир на левую часть вместе с шайбой (11) и Шаг 4 Установка двери 1. Переставьте дверь на противоположную сторону, опорный стержень должен п...