Dunavox DX-24.56BSK (A) - Инструкция по эксплуатации

Dunavox DX-24.56BSK (A)

Винный шкаф Dunavox DX-24.56BSK (A) - инструкция пользователя по применению, эксплуатации и установке на русском языке. Мы надеемся, она поможет вам решить возникшие у вас вопросы при эксплуатации техники.

Если остались дополнительные вопросы — свяжитесь с нами через контактную форму.

1 Страница 1
2 Страница 2
3 Страница 3
4 Страница 4
5 Страница 5
6 Страница 6
7 Страница 7
8 Страница 8
9 Страница 9
10 Страница 10
11 Страница 11
12 Страница 12
13 Страница 13
14 Страница 14
15 Страница 15
16 Страница 16
17 Страница 17
18 Страница 18
19 Страница 19
20 Страница 20
21 Страница 21
22 Страница 22
23 Страница 23
24 Страница 24
Страница: / 24

Содержание:

  • Страница 2 – ВАЖНАЯ ИНФОРМАЦИЯ ПО ТЕХНИКЕ БЕЗОПАСНОСТИ; не следует
  • Страница 3 – СТРУКТУРА УСТОЙСТВА И ДАННЫЕ ПО УСТАНОВКЕ; Винные шкафы с возможностью встраивания для кухни; Установочный чертёж
  • Страница 6 – Винные шкафы только для встраиваемого использования
  • Страница 8 – Однозонный; Двухзонный
  • Страница 9 – ДЕЙСТВИЯ ПЕРЕД НАЧАЛОМ РАБОТЫ:; БЛОКИРОВКА И РАЗБЛОКИРОВКА ДВЕРИ (Опция; ИСПОЛЬЗОВАНИЕ ВИННОГО ШКАФА; Условия работы; SN
  • Страница 10 – ХРАНЕНИЕ ВИНА
  • Страница 14 – УХОД И ОБСЛУЖИВАНИЕ; Чистка винного шкафа
  • Страница 15 – ВОЗМОЖНЫЕ ПРОБЛЕМЫ
  • Страница 17 – Для встраиваемой серии
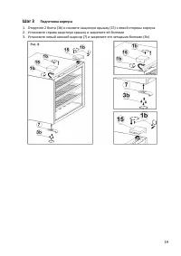
  • Страница 18 – Шаг; Подготовка двери
  • Страница 19 – Подготовка корпуса; с левой стороны корпуса
  • Страница 20 – Установка двери; Закрепите нижний шарнир фиксирующим болтом (8)
  • Страница 21 – Перестановка дверной ручки; Отсоедините прокладку с правой стороны.
  • Страница 22 – ДЛЯ НАПОЛЬНОЙ СЕРИИ; панелью; Снятие двери; Перестановка крепления двери
  • Страница 23 – Перестановка нижнего шарнира; Установите шарнир на левую часть вместе с шайбой (11)
Загрузка инструкции







ИНСТРУКЦИЯ ПО ЭКСПЛУАТАЦИИ

ВИННЫХ ШКАФОВ

МОДЕЛИ

DX-7.22, DX-19.58,

DX-24.56, DX-41.130,

DX-46.145, DX-51.150,

DX-94.270, DX-166.428,

DX-170.490, DX-181.490






Данное руководство содержит важную информацию, включая требования по безопасности и

требования по установке техники. Пожалуйста, прочтите его внимательно прежде, чем
воспользоваться прибором и выполните все требования по безопасности, указанные в инструкции.
Рекомендуется хранить это руководство в дальнейшем для того, чтобы вы знали,

как работает

данный прибор.













"Загрузка инструкции" означает, что нужно подождать пока файл загрузится и можно будет его читать онлайн. Некоторые инструкции очень большие и время их появления зависит от вашей скорости интернета.

Краткое содержание

Страница 2 - ВАЖНАЯ ИНФОРМАЦИЯ ПО ТЕХНИКЕ БЕЗОПАСНОСТИ; не следует

ВАЖНАЯ ИНФОРМАЦИЯ ПО ТЕХНИКЕ БЕЗОПАСНОСТИ Перед использованием прибора расположите и установите его правильно, как указано в данном руководстве. Во избежание риска возникновения пожара, поражения электрическим током или получения травмы соблюдайте следующие меры предосторожности: • Установка прибора...

Страница 3 - СТРУКТУРА УСТОЙСТВА И ДАННЫЕ ПО УСТАНОВКЕ; Винные шкафы с возможностью встраивания для кухни; Установочный чертёж

СТРУКТУРА УСТОЙСТВА И ДАННЫЕ ПО УСТАНОВКЕ Данные изображение указывают не только структуру прибора, но и дают сведения по монтажу. Размеры и количество полок могут быть различными для моделей той же серии. Винные шкафы с возможностью встраивания для кухни Однозонный Сенсорная панель управления и циф...

Страница 6 - Винные шкафы только для встраиваемого использования

Винные шкафы только для встраиваемого использования DX-24.56BBK/BSK Сенсорная панель и цифровой дисплей Полки для вина Корпус Конденсатор Дверь Ручка Прокладка Регулируемые ножки Установочная планка DX-41.130BBK/BSK Корпус Дверь Сенсорная панель и цифровой дисплей Полки для вина Конденсатор Ручка Пр...

Характеристики

Другие модели - Винные шкафы Dunavox

Все винные шкафы Dunavox