Блоки питания be quiet! SFX-L - инструкция пользователя по применению, эксплуатации и установке на русском языке. Мы надеемся, она поможет вам решить возникшие у вас вопросы при эксплуатации техники.
Если остались вопросы, задайте их в комментариях после инструкции.
"Загружаем инструкцию", означает, что нужно подождать пока файл загрузится и можно будет его читать онлайн. Некоторые инструкции очень большие и время их появления зависит от вашей скорости интернета.

32
33
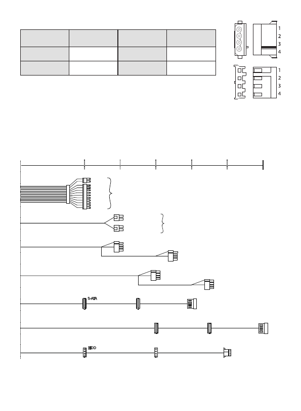
Peripheral Devices & FDD power connector
Peripheral Devices & FDD power connector
Pin
Signal
Pin
Signal
1
+5VDC
3
COM
2
COM
4
+12VDC
SFX L Power | 500W + 600W
S-ATA
S-ATA
S-ATA
S-ATA
S-ATA
S-ATA
300mm
100mm
100mm
100mm
20-pin
4-pin
24-pin
PCIe (6+2-pin)
PCIe (6+2-pin)
PCIe (6+2-pin)
PCIe (6+2-pin)
12V P8-connector
12V P4-connector
12V P4-connector
100mm
HDD
HDD
HDD
100mm
7. CONNECTIVITY AND CABLE LENGTHS
Характеристики
Остались вопросы?Не нашли свой ответ в руководстве или возникли другие проблемы? Задайте свой вопрос в форме ниже с подробным описанием вашей ситуации, чтобы другие люди и специалисты смогли дать на него ответ. Если вы знаете как решить проблему другого человека, пожалуйста, подскажите ему :)