Ballu BHP-W4-20-D/S - Инструкция по эксплуатации

Ballu BHP-W4-20-D/S

Тепловентилятор Ballu BHP-W4-20-D/S - инструкция пользователя по применению, эксплуатации и установке на русском языке. Мы надеемся, она поможет вам решить возникшие у вас вопросы при эксплуатации техники.

Если остались дополнительные вопросы — свяжитесь с нами через контактную форму.

1 Страница 1
2 Страница 2
3 Страница 3
4 Страница 4
5 Страница 5
6 Страница 6
7 Страница 7
8 Страница 8
9 Страница 9
10 Страница 10
11 Страница 11
12 Страница 12
13 Страница 13
14 Страница 14
15 Страница 15
16 Страница 16
17 Страница 17
18 Страница 18
19 Страница 19
20 Страница 20
21 Страница 21
22 Страница 22
23 Страница 23
24 Страница 24
25 Страница 25
26 Страница 26
27 Страница 27
28 Страница 28
Страница: / 28

Содержание:

  • Страница 2 – Используемые обозначения; ПРИ МЕ ЧА НИЕ; Содержание
  • Страница 3 – Правила безопасности
  • Страница 4 – Основные преимущества:; Принцип работы
  • Страница 5 – Технические характеристики; брутто; Монтаж прибора
  • Страница 6 – Монтаж с кронштейном; îïòèìàëüíî
  • Страница 7 – Подключение электропитания
  • Страница 13 – Сертификация продукции; Товар сертифицирован на территории; Свидетельство о приемке
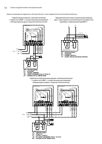
  • Страница 14 – Схемы подключения электропитания
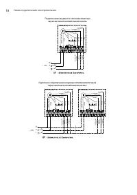
  • Страница 15 – Подключение водяного тепловентилятора; Групповое подключение водяных тепловентиляторов
  • Страница 17 – Групповое подключение водяных тепловентиляторов к пульту BRC-W.
  • Страница 23 – ГАРАНТИЙНЫЙ ТАЛОН; ТИП
  • Страница 24 – Настоящая гарантия не распространяется на:
  • Страница 25 – Особые условия эксплуатации кондиционеров; В обязательном порядке при эксплуатации ультразву-
  • Страница 26 – Памятка по уходу за кондиционером:
  • Страница 27 – сохраняется у клиента; УНИВЕРСАЛЬНЫЙ ОТРЫВНОЙ ТАЛОН; на гарантийное обслуживание
Загрузка инструкции

Руководство

по эксплуатации

Гарантийный талон

Перед началом эксплуатации прибора внимательно

изучите данное руководство и храните его в доступном месте.

Тепловентилятор электрический

стационарный с водяным теплоообменником

BHP-W4-15-S
BHP-W4-15-D
BHP-W4-20-S
BHP-W4-20-D

Code-128

"Загрузка инструкции" означает, что нужно подождать пока файл загрузится и можно будет его читать онлайн. Некоторые инструкции очень большие и время их появления зависит от вашей скорости интернета.

Краткое содержание

Страница 2 - Используемые обозначения; ПРИ МЕ ЧА НИЕ; Содержание

2 Содержание Используемые обозначения ВНИМАНИЕ! Требования, несоблюдение которых может приве- сти к тяжелой травме или серьезному поврежде- нию оборудования. ОС ТО РОЖ НО! Требования, несоблюдение которых может при- вести к серьезной травме или летальному исходу. ПРИ МЕ ЧА НИЕ 1. В тексте данной инс...

Страница 3 - Правила безопасности

3 Правила безопасности лятор при появлении искрения, наличии види- мых повреждений кабеля. 1.13 Не используйте тепловентилятор не по его прямому назначению (сушка одежды и т.п.). 1.14 Не пытайтесь самостоятельно отремон- тировать тепловентилятор. Обратитесь к ква- лифицированному специалисту. 1.15 П...

Страница 4 - Основные преимущества:; Принцип работы

4 и BHP-W4-15-D используется двухрядный тепло- обменник, в модели в модели BHP-W4-20-S и BHP-W4-20-D трехрядный теплообменник. 2. Осевой вентилятор: максимальная рабочая тем- пература составляет 60 °С, напряжение питания составляет 230 В~50 Гц. Двигатель имеет класс защиты IP54. Циркуляция воздуха п...

Характеристики

Другие модели - Тепловентиляторы Ballu

Все тепловентиляторы Ballu