Автосигнализации StarLine Twage A6 - инструкция пользователя по применению, эксплуатации и установке на русском языке. Мы надеемся, она поможет вам решить возникшие у вас вопросы при эксплуатации техники.
Если остались вопросы, задайте их в комментариях после инструкции.
"Загружаем инструкцию", означает, что нужно подождать пока файл загрузится и можно будет его читать онлайн. Некоторые инструкции очень большие и время их появления зависит от вашей скорости интернета.

43
Twage A6
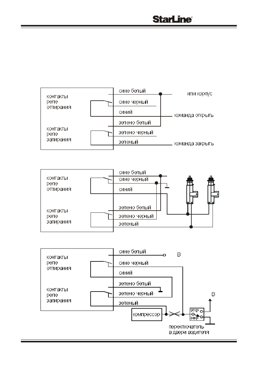
Ïîäêëþ÷åíèå ê ñèñòåìå öåíòðàëüíîãî çàïèðàíèÿ
Ñèãíàëèçàöèÿ StarLine Twage À6 èìååò âñòðîåííûå 15-àìïåðíûå ðåë å
óïðàâëåíèÿ öåíòðàëüíûì çàìêîì. Êîíòàêòû ðåëå âûâåäåíû íà 6-êîíòàêòíûé
ðàçúåì. Äëèòåëüíîñòü óïðàâëÿþùèõ èìïóëüñîâ ïðîãðàììèðóåòñÿ.
Ñõåìà ïîäêëþ÷åíèÿ ê ñèñòåìå çàïèðàíèÿ
ñ ïîëîæèòåëüíûì èëè îòðèöàòåëüíûì óïðàâëåíèåì
Ñõåìà ïîäêëþ÷åíèÿ ê äâóõïðîâîäíûì ïðèâîäàì ñèñòåìû çàïèðàíèÿ
Ñõåìà ïîäêëþ÷åíèÿ ê ïíåâìàòè÷åñêîé ñèñòåìå çàïèðàíèÿ
%
%



