Автомобили Renault SANDERO Stepway 2009 - инструкция пользователя по применению, эксплуатации и установке на русском языке. Мы надеемся, она поможет вам решить возникшие у вас вопросы при эксплуатации техники.
Если остались вопросы, задайте их в комментариях после инструкции.
"Загружаем инструкцию", означает, что нужно подождать пока файл загрузится и можно будет его читать онлайн. Некоторые инструкции очень большие и время их появления зависит от вашей скорости интернета.

Jaune
Noir
Noir texte
1.44
RUS_UD11040_2
Ordinateur de bord (B90 - L90 Ph2 - F90 Ph2 - R90 Ph2 - Dacia)
RUS_NU_817-4_B90_Dacia_1
БОРТОВОЙ
КОМПЬЮТЕР
(
продолжение
)
Индикация
информации
ЗАВИСИТ
ОТ
КОМПЛЕКТАЦИИ
АВТОМОБИЛЯ
И
СТРАНЫ
ПОСТАВКИ
.
Пример
управления
отображением
данных
на
дисплее
последовательными
нажатиями
на
клавишу
3
Пояснения
к
показаниям
дисплея
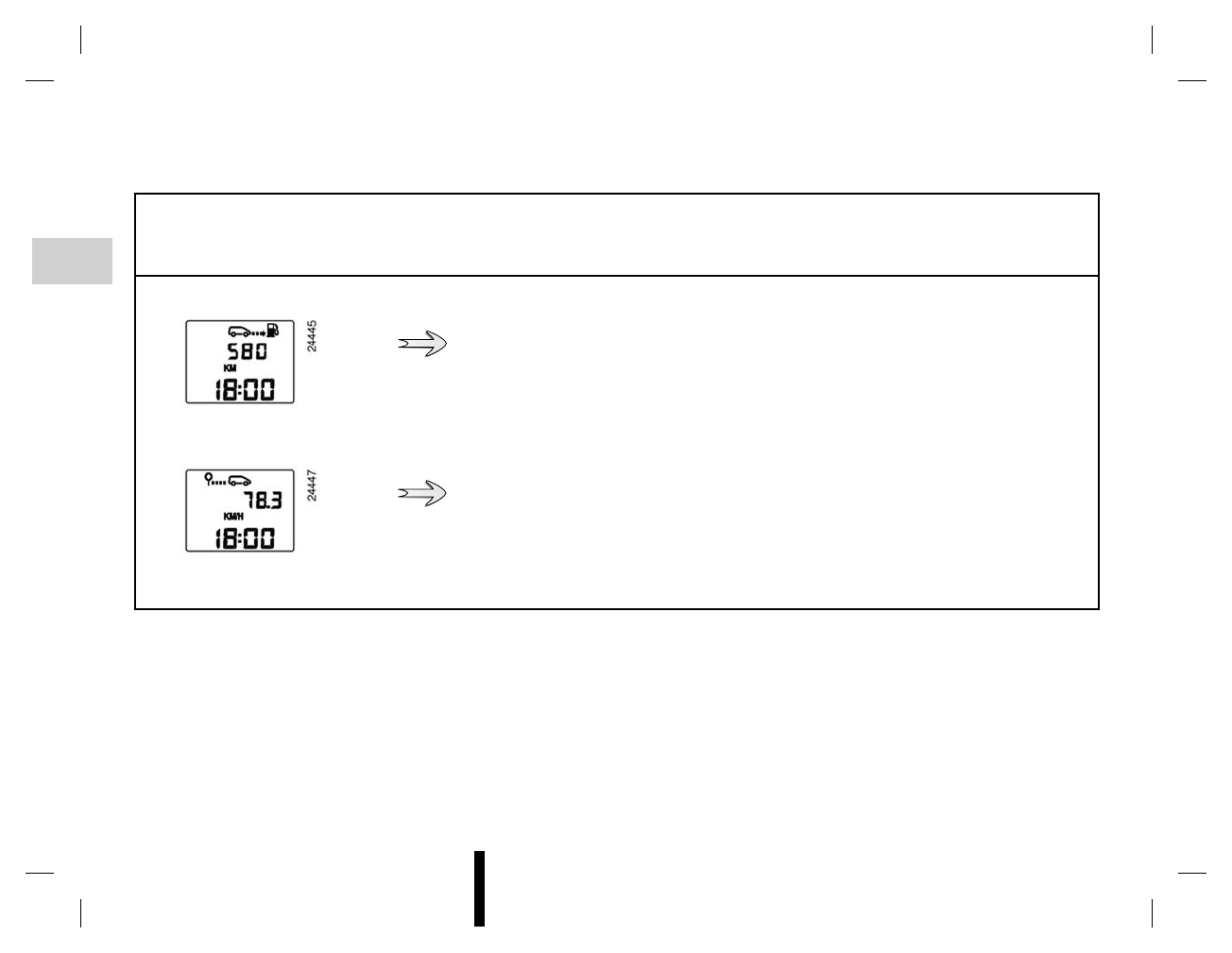
Средняя
скорость
с
момента
последнего
обнуления
показаний
.
Значение
отображается
на
дисплее
после
прохождения
автомобилем
около
400
м
пути
.
Предполагаемый
запас
хода
по
топливу
При
расчете
запаса
хода
учитывается
средний
расход
топлива
с
момента
послед
-
него
обнуления
расчетных
показателей
.
Значение
отображается
на
дисплее
после
прохождения
автомобилем
около
400
м
пути
.
d)
e)
Содержание
- 5 Главы
- 7 Глава
- 8 КЛЮЧИ; Радиочастотный
- 10 ОТКРЫТИЕ
- 11 ЗАПИРАНИЕ
- 12 СИСТЕМА; Принцип
- 13 ПОДГОЛОВНИКИ
- 15 ПЕРЕДНИЕ
- 16 РЕМНИ
- 22 продолжение; Неисправности
- 25 БЕЗОПАСНОСТЬ; Перевозка
- 34 Отключение
- 39 ЩИТОК; Ú À Ô; Щиток
- 44 БОРТОВОЙ
- 48 РУЛЕВОЕ
- 49 ЗЕРКАЛА
- 50 ПРИБОРЫ
- 52 РЕГУЛИРОВКА
- 53 ЗВУКОВАЯ
- 54 СТЕКЛООЧИСТИТЕЛИ
- 56 ТОПЛИВНЫЙ; Качество
- 59 ОБКАТКА
- 60 Запуск; ЗАПУСК
- 61 ОСОБЕННОСТИ; Затруднения
- 62 Техническое
- 65 ОХРАНА; Производство
- 66 РЫЧАГ; Включение
- 67 Стояночный; СТОЯНОЧНЫЙ; Усилитель
- 68 антиблокировочная; СИСТЕМЫ
- 71 ДЕФЛЕКТОРЫ
- 73 ОТОПЛЕНИЕ
- 78 ОСВЕЩЕНИЕ; Плафон
- 79 СТЕКЛОПОДЪЕМНИКИ
- 81 ПЕПЕЛЬНИЦА; Прикуриватель
- 82 ВЕЩЕВЫЕ
- 84 ЗАДНЕЕ
- 86 ПОПЕРЕЧИНЫ
- 87 Снятие; ЗАДНЯЯ
- 89 КАПОТ
- 90 УРОВЕНЬ; Проверка
- 93 УРОВНИ; Тормозная
- 94 Охлаждающая
- 95 ФИЛЬТРЫ
- 96 ДАВЛЕНИЕ
- 97 АККУМУЛЯТОРНАЯ
- 98 УХОД
- 100 Чего
- 103 ПРОКОЛ
- 104 КОМПЛЕКТ
- 107 ИНСТРУМЕНТЫ
- 108 ДЕКОРАТИВНЫЕ
- 110 ЗАМЕНА
- 111 ШИНЫ
- 114 ЩЕТКИ
- 116 ПРОТИВОТУМАННЫЕ
- 117 ЗАДНИЕ
- 121 Освещение
- 123 Замена
- 124 Во
- 126 Отделение; ПРЕДОХРАНИТЕЛИ
- 129 БУКСИРОВКА
- 131 МЕСТО
- 132 ДОПОЛНИТЕЛЬНОЕ
- 133 НЕИСПРАВНОСТИ
- 138 ИДЕНТИФИКАЦИОННЫЕ
- 140 ХАРАКТЕРИСТИКИ
- 141 ГАБАРИТЫ
- 142 МАССОВЫЕ
- 143 ЗАПАСНЫЕ
- 145 АЛФАВИТНЫЙ