Автомобили Renault KANGOO FOURGON 2013 - инструкция пользователя по применению, эксплуатации и установке на русском языке. Мы надеемся, она поможет вам решить возникшие у вас вопросы при эксплуатации техники.
Если остались вопросы, задайте их в комментариях после инструкции.
"Загружаем инструкцию", означает, что нужно подождать пока файл загрузится и можно будет его читать онлайн. Некоторые инструкции очень большие и время их появления зависит от вашей скорости интернета.

8
Ìåäèöèíñêèé ñàëîí îáîðóäîâàí ñïåöèàëüíûì íåâûíîñíûì
îáîðóäîâàíèåì (ñì. ðèñ. 3.3, 3.4):
-ïðåîáðàçîâàòåëåì íàïðÿæåíèÿ;
-ìåáåëüþ äëÿ ðàçìåùåíèÿ ìåäèöèíñêîãî îáîðóäîâàíèÿ è
óêëàäîê;
-ñòîëîì ñ óìûâàëüíèêîì, ýëåêòðîíàñîñîì äëÿ ïîäà÷è âîäû
è ñ äâóìÿ åìêîñòÿìè âîäû: 5ë ñ ÷èñòîé âîäîé è 7ë äëÿ
èñïîëüçîâàííîé âîäû;
-ñïåöèàëüíûìè ìåñòàìè äëÿ ðàçìåùåíèÿ ìåäèöèíñêîãî
îáîðóäîâàíèÿ;
-äâóìÿ êðåñëàìè â ñàëîíå ñ äâóõòî÷å÷íûìè ðåìíÿìè
áåçîïàñíîñòè, ñêàìüåé-òóìáîé ïî ïðàâîìó áîðòó àâòîìîáèëÿ;
-ôèëüòðî-âåíòèëÿöèîííîé óñòàíîâêîé (ÔÂÓ);
-ëþêîì êðûøè;
-äîïîëíèòåëüíûìè ñâåòèëüíèêàìè ìåäèöèíñêîãî ñàëîíà
(áëîê âûêëþ÷àòåëåé ðèñ. 3.5);
Âíèìàíèå! Âî âðåìÿ äâèæåíèÿ, äîïîëíèòåëüíîå îáîðóäîâàíèå
äîëæíî áûòü íàäåæíî çàêðåïëåíî.
Äâåðè ñàëîíà îáîðóäîâàíû äàò÷èêàìè (êîíöåâèêàìè). Ïðè
îòêðûâàíèè äâåðè ñàëîíà íà ïàíåëè ïðèáîðîâ çàãîðàåòñÿ
êîíòðîëüíàÿ ëàìïà 24 (ðèñ. 3.2).
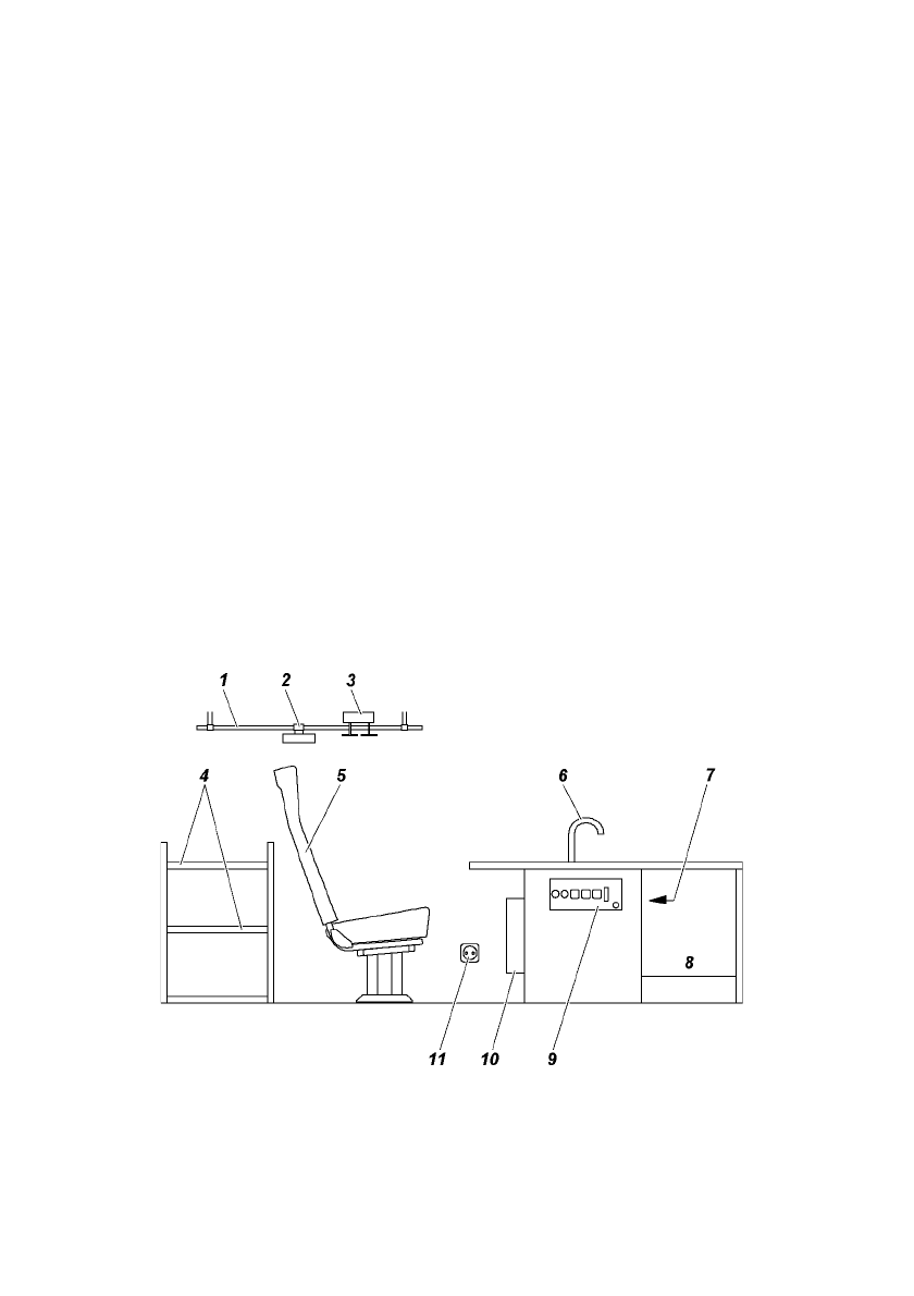
Ðèñ. 3.4. Ìåäèöèíñêèé ñàëîí àâòîìîáèëÿ ÓÀÇ-396295-470
1 -ëååð; 2 -ñâåòèëüíèê; 3 -äåðæàòåëü êàïåëüíèö; 4,8 -øêàô äëÿ ïðèáîðîâ è
ìåäèöèíñêèõ óêëàäîê; 5 -êðåñëî âðà÷à; 6 -ñòîë ñ ýëåêòðîóìûâàëüíèêîì; 7 -áëîê
ïðåäîõðàíèòåëåé (ðèñ. 9.2) è ðåëå áëîêèðîâêè äâèãàòåëÿ; 9 -áëîê âûêëþ÷àòåëåé
(ñì. ðèñ.3.5), 10 -ïðåîáðàçîâàòåëü íàïðÿæåíèÿ; 11 -ðîçåòêà 220Â