Автомобили Renault Duster - инструкция пользователя по применению, эксплуатации и установке на русском языке. Мы надеемся, она поможет вам решить возникшие у вас вопросы при эксплуатации техники.
Если остались вопросы, задайте их в комментариях после инструкции.
"Загружаем инструкцию", означает, что нужно подождать пока файл загрузится и можно будет его читать онлайн. Некоторые инструкции очень большие и время их появления зависит от вашей скорости интернета.

1.47
БОРТОВОЙ
КОМПЬЮТЕР
(3/4)
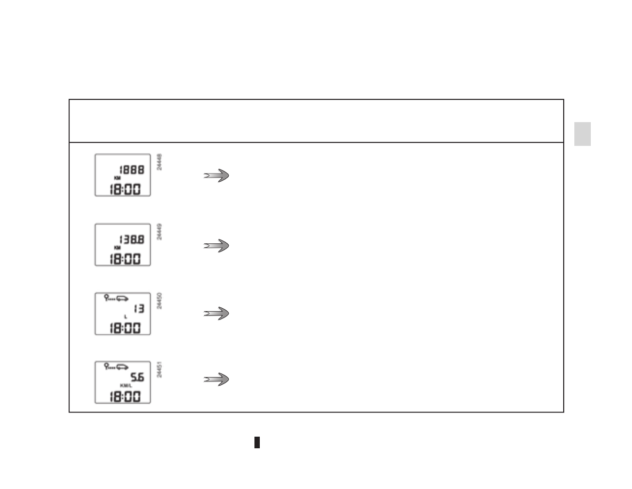
Индикация
ЗАВИСИТ
ОТ
КОМПЛЕКТАЦИИ
АВТОМОБИЛЯ
И
ОТ
СТРАНЫ
ПОСТАВКИ
.
Пример
управления
отображением
данных
на
дисплее
последовательными
нажатиями
на
клавишу
3
Пояснения
к
показаниям
дисплея
a)
Счетчик
суммарного
пробега
.
b)
Пробег
за
поездку
.
c)
Количество
израсходованного
топлива
с
момента
последнего
обнуления
показа
-
ний
бортового
компьютера
.
d)
Средний
расход
топлива
с
момента
последнего
обнуления
показаний
бортового
компьютера
.
Значение
отображается
на
дисплее
после
прохождения
автомобилем
400
м
пути
с
учетом
пройденного
расстояния
и
количества
израсходованного
топлива
с
момента
последнего
обнуления
показаний
.
Содержание
- 4 Главы
- 5 Идентификационная маркировка
- 10 Электрический
- 16 Сиденья
- 27 Перевозка
- 28 Использование
- 55 ЗВУКОВАЯ И СВЕТОВАЯ СИГНАЛИЗАЦИЯ
- 58 Очиститель
- 59 Омыватель
- 62 Качество
- 63 ТОПЛИВНЫЙ
- 64 ИДЕНТИФИКАЦИОННАЯ МАРКИРОВКА
- 67 Запуск; ЗАПУСК
- 68 Затруднения
- 70 РЕКОМЕНДАЦИИ ПО ЭКСПЛУАТАЦИИ ДИЗЕЛЬНОГО ДВИГАТЕЛЯ
- 76 ТРАНСМИССИЯ; Режим
- 77 Особенности
- 78 Неисправности
- 80 СИСТЕМЫ
- 85 АВТОМАТИЧЕСКАЯ КОРОБКА ПЕРЕДАЧ; Вождение в неавтоматическом
- 86 Стоянка
- 91 ДЕФЛЕКТОРЫ
- 92 ОТОПЛЕНИЕ
- 93 Включение или выключение
- 97 СТЕКЛОПОДЪЕМНИКИ; Электростеклоподъемники; Управление с места переднего
- 100 ОСВЕЩЕНИЕ САЛОНА; Плафон
- 101 Поручень; СОЛНЦЕЗАЩИТНЫЙ; Солнцезащитный козырек
- 110 ПЕРЕВОЗКА ПРЕДМЕТОВ В БАГАЖНОМ ОТДЕЛЕНИИ
- 112 ПОЛКА БАГАЖНОГО ОТДЕЛЕНИЯ
- 114 ПОПЕРЕЧИНЫ БАГАЖНИКА НА КРЫШЕ
- 119 Проверка уровня масла
- 120 Долив масла
- 121 Замена масла в двигателе
- 122 УРОВНИ ЭКСПЛУАТАЦИОННЫХ ЖИДКОСТЕЙ; Тормозная жидкость
- 125 ФИЛЬТРЫ; Фильтр салона
- 126 ДАВЛЕНИЕ ВОЗДУХА В ШИНАХ
- 127 АККУМУЛЯТОРНАЯ БАТАРЕЯ; Замена аккумуляторной
- 128 УХОД ЗА КУЗОВОМ АВТОМОБИЛЯ; Что следует делать
- 129 Подготовка автомобиля к; Особенности автомобилей с
- 131 УХОД ЗА САЛОНОМ АВТОМОБИЛЯ
- 134 ПРОКОЛ
- 137 ЗАМЕНА КОЛЕСА; Автомобили
- 139 ШИНЫ; Шины и безопасность
- 140 Запасное колесо; Давление воздуха в шинах
- 141 Перестановка колес
- 142 Ближний свет фар; ПЕРЕДНИЕ ФАРЫ
- 143 Передний
- 144 Дальний свет фар
- 145 Дополнительные фары; ПРОТИВОТУМАННЫЕ ФАРЫ; Противотуманные фары
- 146 Задние фонари
- 147 Верхний стоп
- 148 Фонарь
- 150 Фонари направленного
- 151 Освещение
- 153 ПРЕДОХРАНИТЕЛИ
- 154 Назначение плавких предохранителей в салоне
- 155 Назначение
- 156 Во избежание искрения
- 158 Замена элемента питания
- 159 ЩЕТКИ СТЕКЛООЧИСТИТЕЛЕЙ
- 163 МЕСТО ПОД УСТАНОВКУ АУДИОСИСТЕМЫ; Место
- 165 ДОПОЛНИТЕЛЬНОЕ ОБОРУДОВАНИЕ
- 172 ИДЕНТИФИКАЦИОННАЯ ТАБЛИЧКА АВТОМОБИЛЯ
- 173 ИДЕНТИФИКАЦИОННАЯ ТАБЛИЧКА ДВИГАТЕЛЯ
- 175 ХАРАКТЕРИСТИКИ ДВИГАТЕЛЕЙ
- 178 Дополнительные операции; ПРИЛОЖЕНИЕ
- 179 Операции; Операция
- 192 АЛФАВИТНЫЙ УКАЗАТЕЛЬ