Автомобили Nissan Teana 2011 - инструкция пользователя по применению, эксплуатации и установке на русском языке. Мы надеемся, она поможет вам решить возникшие у вас вопросы при эксплуатации техники.
Если остались вопросы, задайте их в комментариях после инструкции.
"Загружаем инструкцию", означает, что нужно подождать пока файл загрузится и можно будет его читать онлайн. Некоторые инструкции очень большие и время их появления зависит от вашей скорости интернета.

3 - 15
Подготовка к началу движения
СИСТЕМА ДОСТУПА В АВТОМОБИЛЬ
БЕЗ КЛЮЧА
Система дистанционного управления замками позволяет
управлять замками всех дверей и крышки багажника при по-
мощи пульта дистанционного управления. Эта система также
может иметь функцию подачи сигнала «паника» (для неко-
торых вариантов исполнения автомобиля). Радиус действия
пульта дистанционного управления составляет примерно 1
метр от автомобиля. Радиус действия системы зависит от
обстановки вокруг автомобиля.
С одним автомобилем можно использовать до 4 пультов
дистанционного управления. Для получения более подроб-
ной информации, касающейся приобретения и использо-
вания дополнительных ключей Intelligent Key, обратитесь к
официальному дилеру NISSAN.
Система дистанционного управления замками дверей не бу-
дет функционировать при следующих обстоятельствах:
• Если ключ находится за пределами радиуса действия
системы.
•
Когда открыты двери автомобиля. (Будет работать толь-
ко функция отпирания.)
•
Если разряжен элемент питания пульта дистанционного
управления.
• Если выключатель зажигания находится в положении
ACC или ON.
ВНИМАНИЕ
• Поскольку в ключе Intelligent Key Имеются электриче-
ские компоненты, избегайте его контакта с водой, как
пресной, так и соленой. Это может повлиять на функцио-
нирование системы.
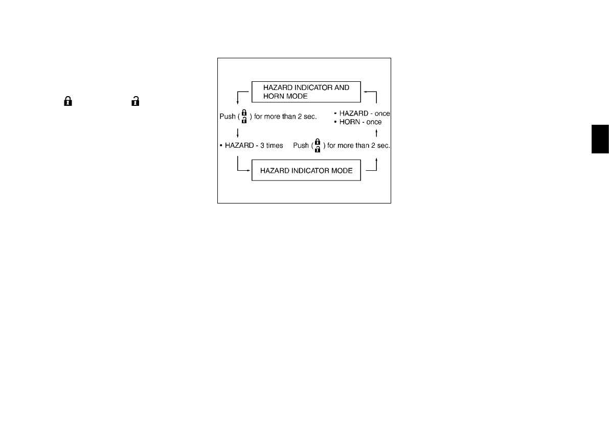
Процедура переключения режима
Для изменения режима подтверждения функционирования
системы при помощи фонарей аварийной сигнализации и
звукового сигнала, нажмите одновременно на кнопки за-
пирания (
) и отпирания (
) замков на ключе
Intelligent Key и удерживайте их нажатыми не менее 2 се-
кунд.
•
Если установлен режим индикатора аварийной сигнали-
зации, фонари аварийной сигнализации мигнут 3 раза.
•
Если установлен режим фонарей аварийной сигнализа-
ции и звукового сигнала, фонари аварийной сигнализа-
ции мигнут один раз и звуковой сигнал прозвучит один
раз.
