Автомобили Ford Transit 2012 - инструкция пользователя по применению, эксплуатации и установке на русском языке. Мы надеемся, она поможет вам решить возникшие у вас вопросы при эксплуатации техники.
Если остались вопросы, задайте их в комментариях после инструкции.
"Загружаем инструкцию", означает, что нужно подождать пока файл загрузится и можно будет его читать онлайн. Некоторые инструкции очень большие и время их появления зависит от вашей скорости интернета.

ПЕРСОНАЛЬНЫЕ
НАСТРОЙКИ
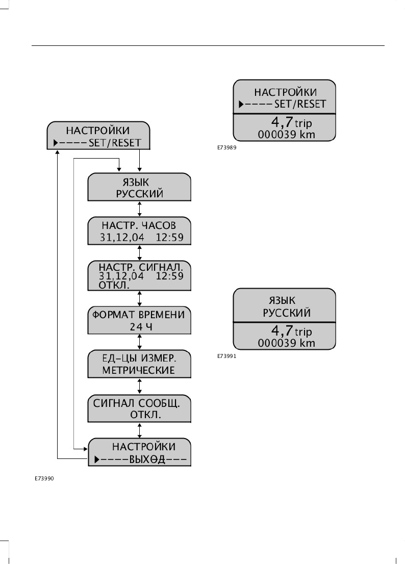
Обзор функций меню настроек
пользователя
Меню настроек пользователя
С помощью
меню настроек
пользователя
можно перейти к
следующим функциональным меню:
•
Язык сообщений
•
Настройка часов
•
Настройка будильника
•
Формат времени
•
Единицы измерения
•
Звуковые сигнализаторы
сообщений
Выбор языка
Пользователь может выбрать один из
11 языков:
Английский (UK), немецкий,
итальянский, французский, испанский,
турецкий, русский, голландский,
польский, шведский, португальский.
После выбора языка поверните
вращающийся регулятор, для того
чтобы сохранить настройки и выйти из
меню.
Настройка часов
69
Transit (TT9) Vehicles Built From: 26-09-2011, Vehicles Built Up To: 31-12-2013
Информационные дисплеи
