Автомобили Ford Transit 2012 - инструкция пользователя по применению, эксплуатации и установке на русском языке. Мы надеемся, она поможет вам решить возникшие у вас вопросы при эксплуатации техники.
Если остались вопросы, задайте их в комментариях после инструкции.
"Загружаем инструкцию", означает, что нужно подождать пока файл загрузится и можно будет его читать онлайн. Некоторые инструкции очень большие и время их появления зависит от вашей скорости интернета.

ЗАПУСК АВТОМОБИЛЯ ОТ
ВНЕШНЕГО ИСТОЧНИКА
ЭЛЕКТРОПИТАНИЯ
ПРЕДУПРЕЖДЕНИЯ
Не используйте в качестве
заземления топливопроводы,
крышки коромысел или впускной
коллектор.
Подсоединяйте аккумуляторную
батарею только с таким же
номинальным напряжением.
Пользуйтесь соединительными
проводами соответствующего
сечения с изолированными
зажимами.
Не отсоединяйте аккумуляторную
батарею от системы
электрооборудования
автомобиля.
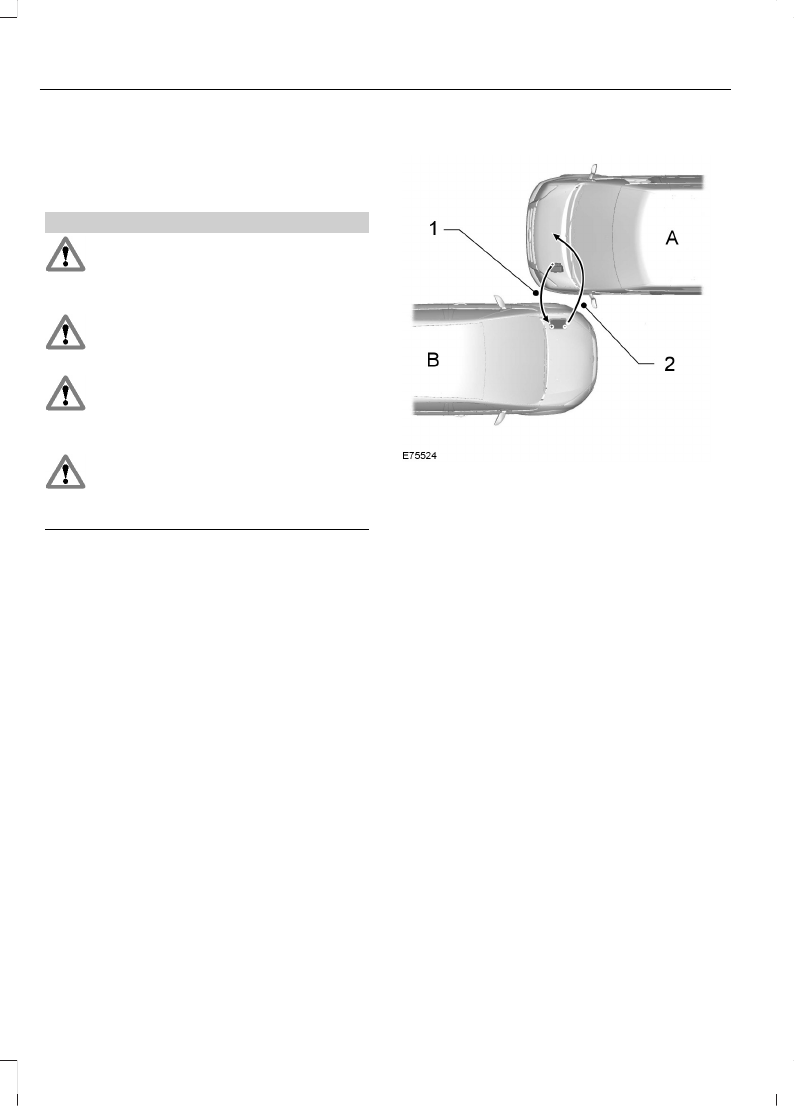
Присоединение проводов
Разряженная аккумуляторная
батарея
A
Автомобиль со
вспомогательной
аккумуляторной батареей
B
"Положительный"
соединительный провод
1
"Отрицательный"
соединительный провод
2
1.
Установите автомобили таким
образом, чтобы они не
соприкасались.
2. Остановите двигатель и отключите
все неиспользуемое
электрооборудование.
166
Transit (TT9) Vehicles Built From: 26-09-2011, Vehicles Built Up To: 31-12-2013
Аккумуляторная батарея автомобиля