Страница 2 - Предисловие; ВНИМАНИЕ; Знак
Предисловие Данная инструкция включает в себя описание оборудования, деталировку и способ эксплуатации. В целях безопасности, перед работой прочтите ее внимательно. ВНИМАНИЕ Обратите внимание на эти знаки Знак Описание Данный знак обозначает крайнюю опасность. При несоблюдении мер безопасности может...
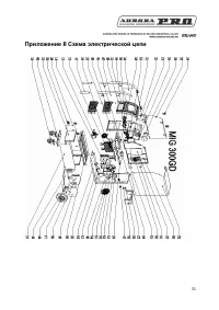
Страница 3 - Содержание
3 Содержание 1 Меры предосторожности .................................................. Ошибка! Закладка не определена. 2 Описание аппарата……………………………………………………………………………………. 8 2.1 Общая информация………………………………………………………………………………8 2.2 Технические параметры…………………………………………………………………………..9 3 Инструкция по ...
Страница 4 - Меры предосторожности; Проволока, вылетающая из горелки может повредить глаза, руки
4 1. Меры предосторожности Сварочные работы и резка могут быть опасны для самого сварщика, а также людей, находящихся рядом с зоной сварки, если оборудование неправильно используется. Поэтому данный вид работ должен строго соответствовать технике безопасности. Обязательно прочтите эту инструкцию пер...
Страница 8 - Описание аппарата; Общая информация
8 2. Описание аппарата 2.1 Общая информация Данный сварочный аппарат, сделан на базе самых продвинутых инверторных технологий. Принцип инвертирования в преобразовании сетевого напряжения частоты в 50/60Гц в высоко частотное напряжение в 24 кГц при прохождении этого напряжения через фильтр – мощное у...
Страница 9 - Технические параметры; Модель
9 2.2 Технические параметры Модель Параметр SKYWAY 330 SYNERGIC Источник питания (V) 3 фазный 380V 15% Частота (Гц) 50/60 Напряжение без нагрузки (V) 58 Номинальная сила тока на входе (A) 16.8 (MIG) 18.5 (MMA) Сила тока на выходе (A) 45-300 (MIG) 40-300 (MMA) Напряжение на выходе (V) 16.2-29 (MIG)...
Страница 10 - Инструкция по установке; Установка SKYWAY 330 SYNERGIC
10 3. Инструкция по установке Аппарат снабжен устройством защиты от колебаний сети. Аппарат продолжает работать нормально при колебаниях сети ±15% от номинального напряжения. В случае использования длинного кабеля, во избежание падения напряжения, используйте кабель с большим поперечным сечением. Ес...
Страница 13 - Эксплуатация; Дисплей передней панели; Описание
13 4 Эксплуатация 4.1 Дисплей передней панели No. Описание 1 MMA/MIG переключатель 2 VRD/2T/4T переключатель 3 Переключатель выбора диаметра проволоки ( φ0.8/1.0/1.2mm) 4 Выбор установок 5 Многофункциональная регулировка настроек 6 Выбор режима сохранения (Memory 1/2/3) 7 Проверка газа (Gas check) 8...
Страница 14 - Инструкция по эксплуатации; Дисплей
14 Смена полярности. Аппарат снабжен системой смены полярности. Между механизмом подачи проволоки и проволочной бобиной есть плюсовой и минусовой выходные разъемы. При использовании одинарного электрода с защитой газом, разъем горелки должен быть подсоединен к плюсовому разъему, кабель заземления – ...
Страница 19 - Перегрев; Рабочее помещение
19 Рисунок 12 : Неисправность механизма подачи проволоки Рисунок 13 : Перегруз Перегрев Дисплей выглядит как на Рисунке 14 при перегреве, 【 Цифровой дисплей 】 продолжительно мигает. Когда температура аппарата упадет ниже 60 ℃ , сообщение о перегреве погаснет и аппарат может работать нормально без ...
Страница 20 - Возможные проблемы и их устранение
20 5 ) Не проводите сварочные работы в ветреном помещении 2. Нормы безопасности В наших аппаратах присутствует функция защиты от перегруза, перегрева и перенапряжения. В случае если напряжение, ток на выходе или температура превышает допустимые нормы, аппарат автоматически отключается. 1 ) Рабочее п...
Страница 21 - Ежедневная диагностика и обслуживание; Ежедневное обслуживание
21 B. Ток на выходе не соответствует номинальным показателям: Если напряжение на выходе не соответствует номинальным показателям, ток на выходе будет также не совпадать с номинальным. Если напряжение на выходе меньше заявленного, максимальный ток на выходе будет ниже номинального показателя. C. Нест...
Страница 22 - Ежедневная проверка
22 Ежедневная проверка ИСТОЧНИК СВАРОЧНОГО ТОКА Элемент Диагностика Пометки Панель управления 1. Переключатели, дисплей, параметры установки 2. Проверьте индикатор сети Система охлаждения 1. Убедитесь, что звук вентилятора нормальный и идет подача воздуха Если звук ненормальный, нет подачи воздуха...
Страница 24 - Возможные неисправности и способы их устранения; Неисправности и способы их устранения на SKYWAY 330 SYNERGIC :
24 Сетевой кабель 1. Проверьте надежно ли питающее соединение 2. Проверьте не поврежден ли сетевой кабель Более детальная проверка аппарата Кабель заземления Проверьте надежно ли подсоединен кабель заземления к аппарату 6 Возможные неисправности и способы их устранения Неисправности и способы их у...
Страница 25 - ДИАГНОСТИКА НЕИСПРАВНОСТЕЙ НА РАННЕМ ЭТАПЕ; Диагностика первичных неисправностей
25 ДИАГНОСТИКА НЕИСПРАВНОСТЕЙ НА РАННЕМ ЭТАПЕ Даже если у недавно приобретенного аппарата наблюдаются такие неисправности как отсутствие процесса сварки, нестабильная дуга, рано судить о поломке аппарата. У выше упомянутых неисправностей могут быть следующие причины. К примеру: ослабленные соединени...
Страница 27 - Приложение I Таблица сварочных параметров; электрода, в соответствии с таблицей; Диаметр; Различные сварочные параметры при работе в режиме MIG
27 Выходной кабель 1. Недостаточная толщина кабеля подсоединенного к изделию. 2. Ослабленные соединения минусового и плюсового кабелей. 3. Плохая проводимость материала 〇 〇 〇 Удлинитель кабеля 1. Недостаточная толщина кабеля 2. Кабель перекручен 〇 〇 〇 〇 Сварочные параметры Сварочный ток, напряжение,...