Зарядные устройства Вымпел 50 - инструкция пользователя по применению, эксплуатации и установке на русском языке. Мы надеемся, она поможет вам решить возникшие у вас вопросы при эксплуатации техники.
Если остались вопросы, задайте их в комментариях после инструкции.
"Загружаем инструкцию", означает, что нужно подождать пока файл загрузится и можно будет его читать онлайн. Некоторые инструкции очень большие и время их появления зависит от вашей скорости интернета.

21
13
- âîéäèòå â íàñòðîéêè
15 6
/
- âûáåðèòå ÐÀÑØÈÐÅÍÍÛÅ
13
- âîéäèòå â íàñòðîéêè
15 6
/
- âûáåðèòå ÌÈÍÈÌÀËÜÍÛÉ
ÒÎÊ
13
- ïåðåéäèòå ê óñòàíîâêå
15 6
/
óñòàíîâèòå ìèíèìàëüíîå
-
çíà÷åíèå èíäèöèðóåìîãî òîêà
13
- ïîäòâåðäèòå
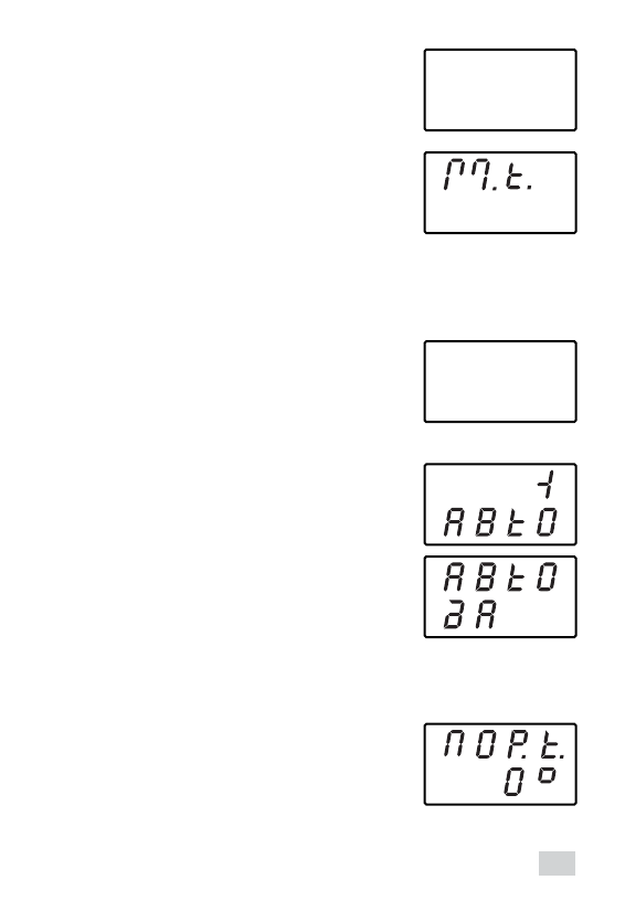
ÐÅÆÈÌ ÐÀÁÎÒÛ ÂÅÍÒÈËßÒÎÐÀ
Âåíòèëÿòîð ìîæåò ðàáîòàòü ïîñòîÿííî èëè âêëþ÷àòüñÿ
ïåðèîäè÷åñêè ïðè óâåëè÷åíèè òåìïåðàòóðû âíóòðè êîðïóñà
äî çàäàííîãî ïîðîãà.
Ïåðåéäèòå â ðàáî÷èé äèñïëåé
13
- âîéäèòå â âûáîð ÏÐÎÔÈËß
15 6
/
âûáåðèòå ÍÀÑÒÐÎÉÊÈ
-
13
- âîéäèòå â íàñòðîéêè
15 6
/
- âûáåðèòå ÐÀÑØÈÐÅÍÍÛÅ ÍÀÑÒÐÎÉÊÈ
13
- âîéäèòå â íàñòðîéêè
15 6
/
- âûáåðèòå ÂÅÍÒÈËßÒÎÐ
13
- âûáåðèòå ÐÅÆÈÌ (â íèæíåé
ñòðîêå îòîáðàæàåòñÿ àêòèâíûé
ð å æ è ì , ï î ó ì î ë ÷ à í è þ
ó ñ ò à í î â ë å í ð å æ è ì À Â ÒÎ ñ
ïîðîãîì ñðàáàòûâàíèÿ 70 Ñ)
O
13
- åù¸ ðàç, ÷òîáû íàñòðîèòü èëè
èçìåíèòü
Äàëåå âûáåðèòå ðåæèì ðàáîòû âåíòèëÿòîðà:
Âåíòèëÿòîð àâòîìàòè÷åñêè âêëþ÷àåòñÿ
, åñëè òåìïåðàòóðà
âíóòðè êîðïóñà äîñòèãàåò çàäàííîãî çíà÷åíèÿ.
15 6
/
- âûáåðèòå ÀÂÒÎ
13
- àêòèâèðóéòå ðåæèì
15 6
/
- âûáåðèòå ÏÎÐÎÃ
13
- ïåðåéäèòå ê óñòàíîâêå
15 6
/
- óñòàíîâèòå ïîðîãîâîå çíà÷åíèå òåìïåðàòóðû
13
- ïîäòâåðäèòå
P A C.
0.4
P A C.
P E H
6

