Зарядные устройства Вымпел 50 до версии прошивки 1.07 - инструкция пользователя по применению, эксплуатации и установке на русском языке. Мы надеемся, она поможет вам решить возникшие у вас вопросы при эксплуатации техники.
Если остались вопросы, задайте их в комментариях после инструкции.
"Загружаем инструкцию", означает, что нужно подождать пока файл загрузится и можно будет его читать онлайн. Некоторые инструкции очень большие и время их появления зависит от вашей скорости интернета.

ÂÛÁÎÐ ÏÐÎÔÈËß
 çàðÿäíîì óñòðîéñòâå åñòü íåñêîëüêî íàáîðîâ íàñòðîåê,
êàæäûé íàáîð íàçûâàåòñÿ «ïðîôèëü». Ïðîôèëü ïîçâîëÿåò
ñîõðàíÿòü çíà÷åíèÿ òîêà, íàïðÿæåíèÿ âåðõíåãî ïîðîãà,
íàïðÿæåíèÿ íèæíåãî ïîðîãà, àëãîðèòì çàðÿäà. Êàæäûé ïðîôèëü
ìîæíî íàñòðîèòü èíäèâèäóàëüíî ïîä ðàçëè÷íûå òèïû
àêêóìóëÿòîðîâ.
Âûáîð è àêòèâàöèÿ ïðîôèëÿ
Ïðè àêòèâàöèè ïðîôèëÿ ïðîèçîéäåò èçìåíåíèå ïàðàìåòðîâ
çàðÿäà. Åñëè ïðîôèëü àêòèâåí íà ýêðàíå íàïèñàíî - ÄÀ, åñëè íå
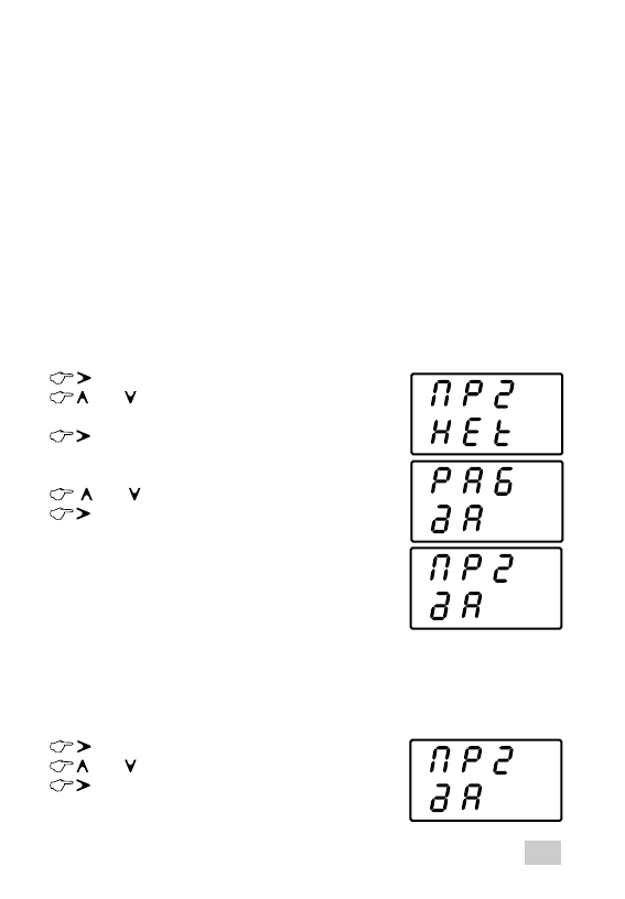
àêòèâåí ÍÅÒ. Íàïðèìåð íàì íóæåí ïðîôèëü ¹2.
Ïåðåéäèòå â ðàáî÷èé äèñïëåé.
Ïåðåéäèòå â ðàáî÷èé äèñïëåé
-
âîéäèòå â âûáîð ÏÐÎÔÈËß
èëè - âûáåðèòå íóæíûé ÏÐÎÔÈËÜ
- â î é ä è ò å â ð å ä à ê ò è ð î â à í è å
ïðîôèëÿ, ïåðâûé ïàðàìåòð - ÒÎÊ
èëè
-
âûáåðèòå àêòèâàöèþ - ÐÀÁ.
- àêòèâèðóéòå ïðîôèëü, óñòàíîâèâ
- ÄÀ.
Òåïåðü Ç.Ó. èçìåíèò íàñòðîéêè òîêà è
íàïðÿæåíèÿ â ñîîòâåòñòâèè ñ íàñòðîéêàìè
âûáðàííîãî ïðîôèëÿ.
Íàñòðîéêà ïðîôèëÿ
- âîéäèòå â âûáîð ÏÐÎÔÈËß
èëè - âûáåðèòå íóæíûé ÏÐÎÔÈËÜ
-
âîéäèòå â ðåäàêòèðîâàíèå
ïðîôèëÿ, ïåðâûé ïàðàìåòð - ÒÎÊ
13
.