Вытяжки Whirlpool AKR 036/1 G BL - инструкция пользователя по применению, эксплуатации и установке на русском языке. Мы надеемся, она поможет вам решить возникшие у вас вопросы при эксплуатации техники.
Если остались вопросы, задайте их в комментариях после инструкции.
"Загружаем инструкцию", означает, что нужно подождать пока файл загрузится и можно будет его читать онлайн. Некоторые инструкции очень большие и время их появления зависит от вашей скорости интернета.

RU10
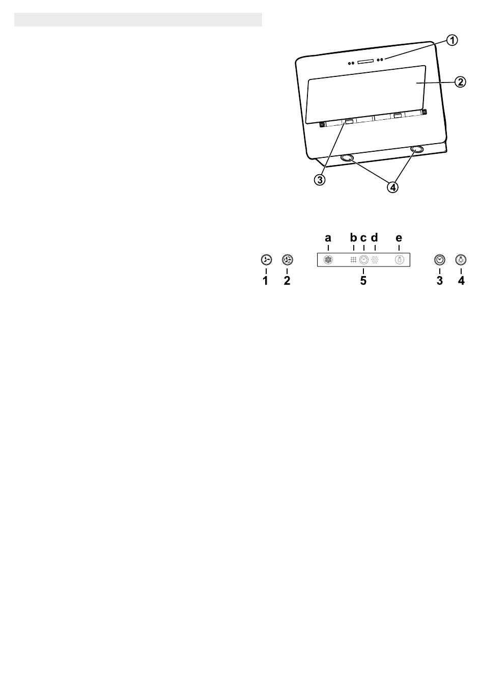
ОПИСАНИЕ И ИСПОЛЬЗОВАНИЕ ВЫТЯЖКИ
1.
Панель управления.
2.
Вытяжная панель.
3.
Жироулавливающие фильтры.
4.
Галогенные лампы.
Панель управления
1. ВЫКЛ / Кнопка уменьшения скорости вытяжки (выключения
питания)
2. ВКЛ / Кнопка увеличения скорости вытяжки (включения
питания)
Примечание:
Повышенная скорость (мощность) вытяжки включается
на 5 минут (индикатор c мигает); затем вытяжка переключается на скорость (мощность) 2.
3. ВКЛ/ВЫКЛ Кнопка таймера:
задержка отключения выбранной скорости вытяжки (питания ) на 5 минут.
Примечание:
кнопка также используется для включения функции “Сброс сигнала насыщения фильтров”.
4. Кнопка ВКЛ/ВЫКЛ подсветки
5. На дисплее отображается:
a. Скорость вытяжки (питания):
индикатор поворачивается в зависимости от выбранной скорости вытяжки (Вкл/Выкл питания).
Безопасный режим:
индикатор мигает.
b. Насыщение жироулавливающих фильтров:
появляется, когда необходимо обслуживание фильтров.
c. Таймер
d. Насыщение жироулавливающих фильтров:
появляется, когда необходимо обслуживание фильтров.
Примечание:
эта функция обычно отключена и должна активироваться только, если вытяжка эксплуатируется в режиме фильтрации (с
установленным угольным фильтром).
Для этого действуйте следующим образом:
- выключите вытяжку
- одновременно нажмите и удерживайте кнопки 1 и 3, пока индикатор не прекратит мигать (индикатор отключен) он не начнет светиться постоянно
(индикатор включен).
- отпустите кнопки.
Для отключения повторите процедуру: индикатор больше не будет светиться непрерывно (индикатор включен), а будет мигать (индикатор
отключен).).
e. Подсветка
Безопасный режим
Если вытяжка снабжена датчиком, который в случае внезапного повышения температуры, включает вытяжку, которая работает, пока температура
значительно не снизиться.
Сброс сигнала насыщения фильтров
После выполнения обслуживания фильтров нажмите и удерживайте кнопку 3, пока индикатор не погаснет.