Вытяжки Weissgauff Ambra IX - инструкция пользователя по применению, эксплуатации и установке на русском языке. Мы надеемся, она поможет вам решить возникшие у вас вопросы при эксплуатации техники.
Если остались вопросы, задайте их в комментариях после инструкции.
"Загружаем инструкцию", означает, что нужно подождать пока файл загрузится и можно будет его читать онлайн. Некоторые инструкции очень большие и время их появления зависит от вашей скорости интернета.

16
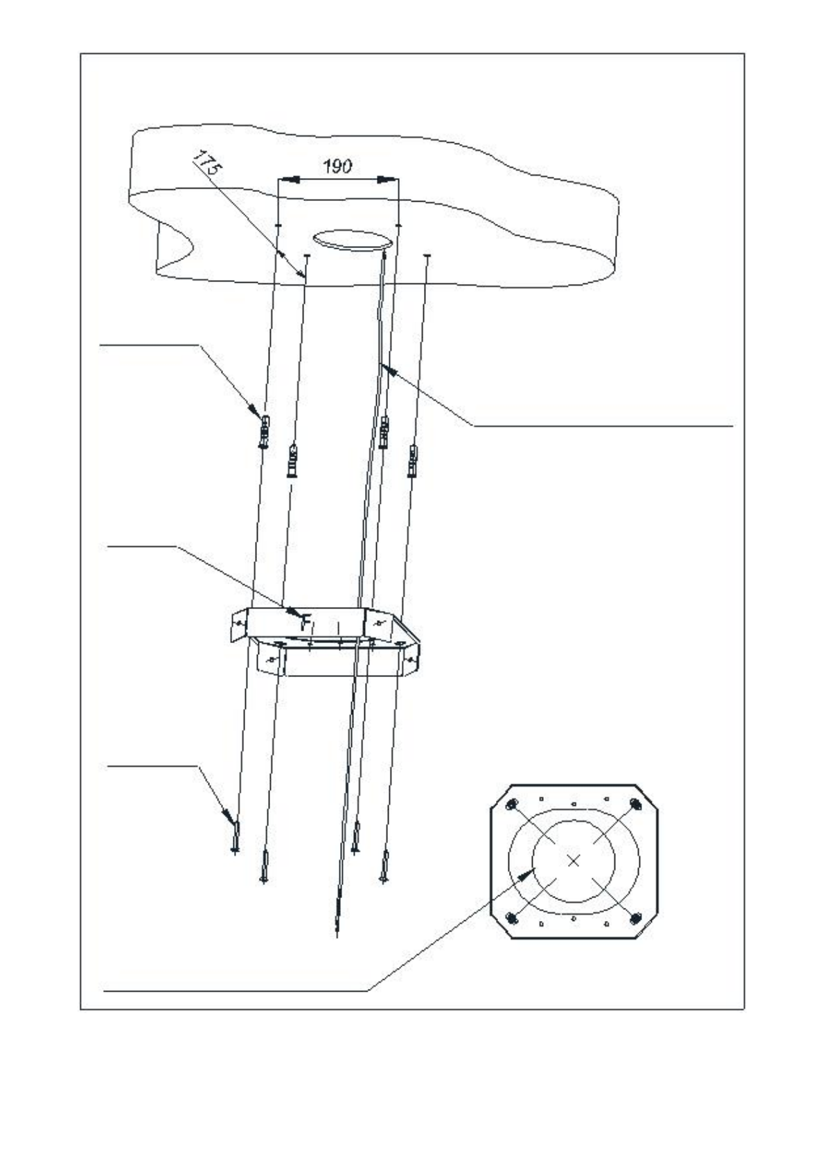
Рис. 10
Монтаж потолочного кронштейна.
Дюбель Ø 10х62
Кабель питания
Z=H+200мм
Где:
Z – длинна кабеля
H – высота корпуса, в котором:
H = 875 x 1115, с ходом 40 мм
Буква F обозначает
лицевую сторону с
панелью управления
Шуруп
Ø8x50
Размер расположения отверстий
кронштейна
175x190.
Вентиляционное отверстие
должно проходить по
центру кронштейна.
Характеристики
Остались вопросы?Не нашли свой ответ в руководстве или возникли другие проблемы? Задайте свой вопрос в форме ниже с подробным описанием вашей ситуации, чтобы другие люди и специалисты смогли дать на него ответ. Если вы знаете как решить проблему другого человека, пожалуйста, подскажите ему :)













