Вытяжки Smeg KV28S - инструкция пользователя по применению, эксплуатации и установке на русском языке. Мы надеемся, она поможет вам решить возникшие у вас вопросы при эксплуатации техники.
Если остались вопросы, задайте их в комментариях после инструкции.
"Загружаем инструкцию", означает, что нужно подождать пока файл загрузится и можно будет его читать онлайн. Некоторые инструкции очень большие и время их появления зависит от вашей скорости интернета.

Fig. 5
Fig. 6
Fig. 7
L2
L1
K
Z
Z
L
L
Z
PL
4
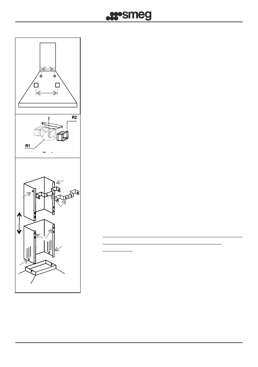
Wersja FILTRUJĄCA:
Pozostawić dostęp do wejścia silnika. Zainstalować filtr
węglowy w sposób opisany na str. 8.
Jeśli okap nie jest wyposażony w filtr węglowy, należy kupić
go oddzielnie w najbliższym autoryzowanym centrum Smeg.
Niektóre modele są wyposażone w zespół złączy (Rys.6) do
mocowania na ścianie za pomocą kołków rozprężających na
odpowiedniej wysokości w celu przekierowania przepływu
powietrza do szczelin komina. Umieścić przedłużenia R2 na
bokach złącza R1. Przyłączyć złącze R1 do wyjścia korpusu
okapu za pomocą przewodu o średnicy 150mm.
• INSTALACJA KOMINÓW (Rys. 7):
Umieścić wspornik komina (K) w górnej, w formie
jednego elementu lub dwóch na wybranej granicy.
Aby zamocować wspornik, należy wykonać dwa otwory
w ścianie. Wywiercić otwór i zamocować wspornik za
pomocą kołków rozprężających z wyposażenia.
Ostrożnie umieścić zespół kominów na okapie.
Przymocować dolny komin do okapu za pomocą śrub
Z. Ostrożnie umieścić górny komin aż do górnej granicy.
Przymocować górny komin do wspornika komina K za
pomocą śrub L.
• POŁĄCZENIE ELEKTRYCZNE
•
Zaleca się, aby czynności połączenia elektrycznego
były wykonywane przez wykwalifikowanego
instalatora.
W przypadku połączenia elektrycznego bezpośrednio
z siecią należy umieścić wyłącznik dwubiegunowy
między urządzeniem a siecią z minimalnym otworem
między stykami o wielkości 3mm, o wielkości zgodnej z
obciążeniem i z obowiązującymi przepisami.
Содержание
- 122 РУС; МЕРЫ ПРЕДОСТОРОЖНОСТИ!; УСТАНОВКА; • Перед установкой и/или использованием вытяжки, внимательно; ЭКСПЛУАТАЦИЯ
- 123 • ВНИМАНИЕ; ТЕХОБСЛУЖИВАНИЕ; • В СЛУЧАЕ НЕВЫПОЛНЕНИЯ ВЫШЕУКАЗАННЫХ ПРЕДПИСАНИЙ,
- 124 ИНСТРУКЦИИ ПО УСТАНОВКЕ:
- 125 Вариант с ФИЛЬТРАЦИЕЙ ВОЗДУХА:
- 126 ЭЛЕКТРОМЕХАНИЧЕСКАЯ КНОПОЧНАЯ ПАНЕЛЬ:; ИНСТРУКЦИИ ПО ЭКСПЛУАТАЦИИ:
- 127 ЕМКОСТНАЯ КНОПОЧНАЯ ПАНЕЛЬ 2 DIGIT НА 10 КНОПОК:
- 128 ЕМКОСТНАЯ КНОПОЧНАЯ ПАНЕЛЬ 1 DIGIT:
- 129 отключите вытяжку от электрического питания; УХОД И ТЕХНИЧЕСКОЕ ОБСЛУЖИВАНИЕ:; (только для варианта с фильтрацией воздуха)
- 130 Перед проведением любых работ по техническому
- 131 Согласно ст. 26 Законодательного декрета No 49 от 14













