Вытяжки Smeg KV26S - инструкция пользователя по применению, эксплуатации и установке на русском языке. Мы надеемся, она поможет вам решить возникшие у вас вопросы при эксплуатации техники.
Если остались вопросы, задайте их в комментариях после инструкции.
"Загружаем инструкцию", означает, что нужно подождать пока файл загрузится и можно будет его читать онлайн. Некоторые инструкции очень большие и время их появления зависит от вашей скорости интернета.

FI
4
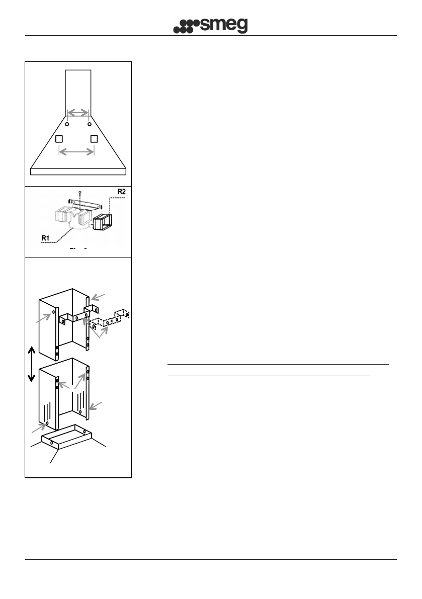
Fig. 5
Fig. 6
Fig. 7
L2
L1
K
Z
Z
L
L
Z
SUODATTAVA malli:
Jätä moottorin suuaukko vapaaksi. Asenna
aktiivihiilisuodattimet kuten näytetty sivulla 8.
Jos liesituuletin ei sisällä aktiivihiilisuodatinta, se on ostettava
erikseen lähimmästä valtuutetusta Smeg-liikkeestä.
Jotkut mallit on varustettu sarjalla liittimiä (kuva 6), jotka
on kiinnitettävä seinään kiinnitystulppien avulla sellaiselle
korkeudelle, että ilmavirtaus kanavoituu hormin aukon
kohdalle. Aseta jatkokappaleet R2 poikittain liittimiin R1.
Liitä liitin R1 liesituulettimen rungon poistoaukkoon 150 mm
halkaisijan putken avulla.
• HORMIEN ASENNUS (kuva 7):
Sijoita hormin yksi- tai kaksiosainen kannatin (K)
haluttuun ylärajaan.
Merkitse kaksi reikään seinään hormin pidikkeen
kiinnittämiseksi seinään. Poraa ja kiinnitä kannatin
mukana tulevilla kiinnitystulpilla.
Sijoita hormiyksikkö varoen liesituulettimen päälle.
Kiinnitä alahormi liesituulettimeen ruuveilla Z. Laajenna
varoen ylempää hormia ylärajaan saakka.
Lukitse L-ruuveilla ylempi hormi hormin K pidikkeeseen.
• SÄHKÖLIITÄNNÄT
• Suosittelemme että sähköliitäntöjen suorittaminen
annetaan asiantuntevan asentajan tehtäväksi.
Jos sähköliitäntä tehdään suoraan verkkoon on laitteen
ja verkon väliin asennettava kaksinapainen katkaisija,
jonka minimiavaus koskettimien välillä on 3 mm,
mitoitettuna kuormitukseen ja vastaten voimassa olevia
määräyksiä.
Содержание
- 122 РУС; МЕРЫ ПРЕДОСТОРОЖНОСТИ!; УСТАНОВКА; • Перед установкой и/или использованием вытяжки, внимательно; ЭКСПЛУАТАЦИЯ
- 123 • ВНИМАНИЕ; ТЕХОБСЛУЖИВАНИЕ; • В СЛУЧАЕ НЕВЫПОЛНЕНИЯ ВЫШЕУКАЗАННЫХ ПРЕДПИСАНИЙ,
- 124 ИНСТРУКЦИИ ПО УСТАНОВКЕ:
- 125 Вариант с ФИЛЬТРАЦИЕЙ ВОЗДУХА:
- 126 ЭЛЕКТРОМЕХАНИЧЕСКАЯ КНОПОЧНАЯ ПАНЕЛЬ:; ИНСТРУКЦИИ ПО ЭКСПЛУАТАЦИИ:
- 127 ЕМКОСТНАЯ КНОПОЧНАЯ ПАНЕЛЬ 2 DIGIT НА 10 КНОПОК:
- 128 ЕМКОСТНАЯ КНОПОЧНАЯ ПАНЕЛЬ 1 DIGIT:
- 129 отключите вытяжку от электрического питания; УХОД И ТЕХНИЧЕСКОЕ ОБСЛУЖИВАНИЕ:; (только для варианта с фильтрацией воздуха)
- 130 Перед проведением любых работ по техническому
- 131 Согласно ст. 26 Законодательного декрета No 49 от 14













