Вытяжки Smeg KDD60VXE-2 - инструкция пользователя по применению, эксплуатации и установке на русском языке. Мы надеемся, она поможет вам решить возникшие у вас вопросы при эксплуатации техники.
Если остались вопросы, задайте их в комментариях после инструкции.
"Загружаем инструкцию", означает, что нужно подождать пока файл загрузится и можно будет его читать онлайн. Некоторые инструкции очень большие и время их появления зависит от вашей скорости интернета.

RU
4
46
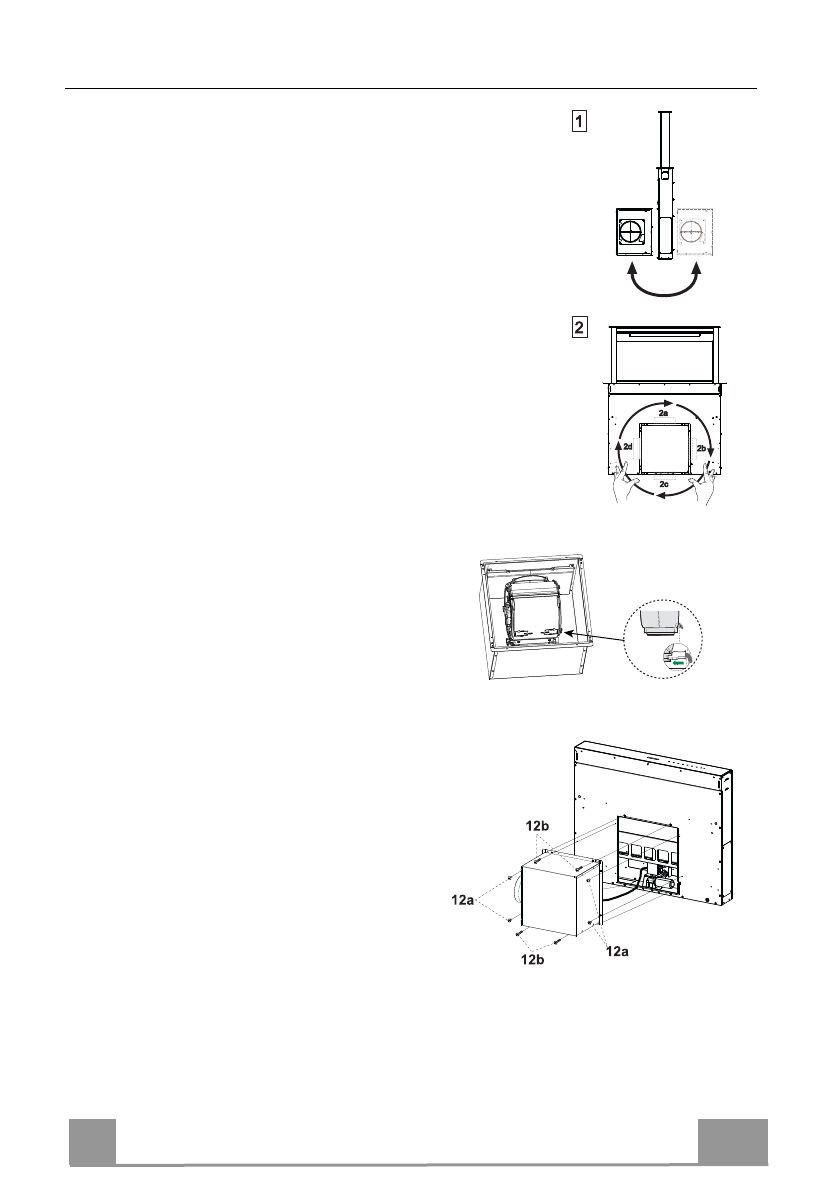
Крепление
двигателя
•
Решение
об
установке
двигателя
(
1
)
спе
-
реди
или
сзади
зависит
от
структуры
ку
-
хонной
мебели
;
при
этом
следует
убе
-
диться
в
правильном
положении
за
-
глушки
.
•
Затем
в
зависимости
от
положения
вы
-
пускного
отверстия
воздуха
в
полке
дви
-
гатель
можно
поворачивать
на
90°
с
тем
,
чтобы
воздух
мог
выходить
со
всех
4
сторон
для
совмещения
с
отверстием
в
мебели
(
2
).
•
Соедините
разъем
корпуса
вытяжки
с
разъемом
двигателя
.
•
Привинтите
двигатель
к
корпусу
вытяж
-
ки
прилагаемыми
винтами
12a
и
12b
,
как
показано
на
рисунке
.