Вытяжки Smeg KD90HXE - инструкция пользователя по применению, эксплуатации и установке на русском языке. Мы надеемся, она поможет вам решить возникшие у вас вопросы при эксплуатации техники.
Если остались вопросы, задайте их в комментариях после инструкции.
"Загружаем инструкцию", означает, что нужно подождать пока файл загрузится и можно будет его читать онлайн. Некоторые инструкции очень большие и время их появления зависит от вашей скорости интернета.

РУС
Fig. 5
Fig. 6
Fig. 7
L2
L1
K
Z
Z
L
L
Z
4
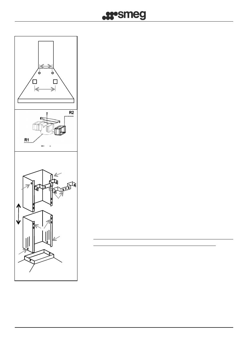
Вариант с ФИЛЬТРАЦИЕЙ ВОЗДУХА:
Оставить свободным входное отверстие двигателя. Установить
фильтры на активированном угле, как показано на стр. 8.
Если вытяжка не оснащена фильтром на активированном
угле, необходимо приобрести его отдельно в ближайшем
авторизованном центре «Smeg».
Для некоторых моделей серийно предусмотрен набор
переходников (Рис. 6) для крепления на стену посредством
клиновых анкеров на подходящей высоте для направления
потока воздуха в соответствии с отверстиями вентиляционной
трубы. Вставить сбоку удлинители R2 на переходник R1.
Подсоединить переходник R1 к выходу из корпуса вытяжки при
помощи трубы диаметром D.150 мм.
• МОНТАЖ ДЫМОХОДОВ (Рис. 7):
Расположить кронштейн дымохода, состоящий из одной
или двух деталей (K) в желаемой крайней верхней точке.
Разметить два отверстия на стене для крепления
кронштейна. Просверлить отверстия и закрепить
кронштейн клиновыми анкерами из комплекта.
Аккуратно расположить набор вентиляционных труб над
вытяжкой. Закрепить нижнюю вентиляционную трубу
винтами Z к вытяжке. Внимательно протянуть верхнюю
вентиляционную трубу до верхнего придела.
Закрепить с помощью винтов L верхнюю вентиляционную
трубу к кронштейну вентиляционной трубы K.
• ЭЛЕКТРИЧЕСКОЕ ПОДКЛЮЧЕНИЕ
Рекомендуется выполнение операции по электрическому
подключению квалифицированным установщиком.
В случае прямого электрического подключения к сети,
между устройством и сетью необходимо предусмотреть
двухполюсный выключатель с минимальным расстоянием
между контактами 3 мм, рассчитанный на нужную нагрузку
и отвечающий действующим стандартам.
Содержание
- 122 РУС; МЕРЫ ПРЕДОСТОРОЖНОСТИ!; УСТАНОВКА; • Перед установкой и/или использованием вытяжки, внимательно; ЭКСПЛУАТАЦИЯ
- 123 • ВНИМАНИЕ; ТЕХОБСЛУЖИВАНИЕ; • В СЛУЧАЕ НЕВЫПОЛНЕНИЯ ВЫШЕУКАЗАННЫХ ПРЕДПИСАНИЙ,
- 124 ИНСТРУКЦИИ ПО УСТАНОВКЕ:
- 125 Вариант с ФИЛЬТРАЦИЕЙ ВОЗДУХА:
- 126 ЭЛЕКТРОМЕХАНИЧЕСКАЯ КНОПОЧНАЯ ПАНЕЛЬ:; ИНСТРУКЦИИ ПО ЭКСПЛУАТАЦИИ:
- 127 ЕМКОСТНАЯ КНОПОЧНАЯ ПАНЕЛЬ 2 DIGIT НА 10 КНОПОК:
- 128 ЕМКОСТНАЯ КНОПОЧНАЯ ПАНЕЛЬ 1 DIGIT:
- 129 отключите вытяжку от электрического питания; УХОД И ТЕХНИЧЕСКОЕ ОБСЛУЖИВАНИЕ:; (только для варианта с фильтрацией воздуха)
- 130 Перед проведением любых работ по техническому
- 131 Согласно ст. 26 Законодательного декрета No 49 от 14













