Вытяжки Smeg KD90HNE - инструкция пользователя по применению, эксплуатации и установке на русском языке. Мы надеемся, она поможет вам решить возникшие у вас вопросы при эксплуатации техники.
Если остались вопросы, задайте их в комментариях после инструкции.
"Загружаем инструкцию", означает, что нужно подождать пока файл загрузится и можно будет его читать онлайн. Некоторые инструкции очень большие и время их появления зависит от вашей скорости интернета.

Fig. 5
Fig. 6
Fig. 7
L2
L1
K
Z
Z
L
L
Z
NL
4
FILTERVERSIE:
Laat de opening van de motor vrij. Installeer de actieve
koolstoffilters zoals op pag.8 geïllustreerd.
Als de kap niet van een actieve koolstoffilter is voorzien, dan
moet u er een afzonderlijk aankopen bij het dichtstbijzijnde
erkende Smeg-centrum.
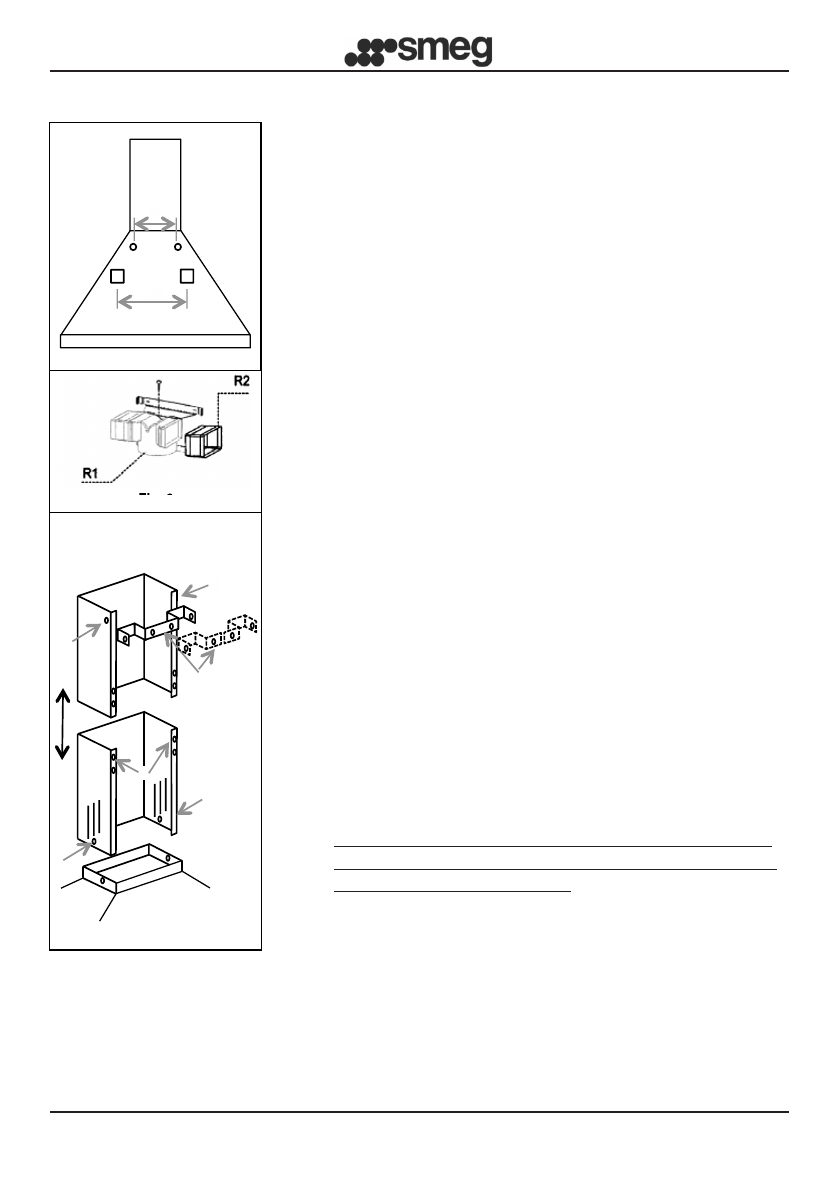
Bij bepaalde modellen is standaard een groep koppelingen
voorzien (fig.6) die via expansiepluggen op de muur moeten
worden bevestigd, op een geschikte hoogte om de luchtstroom
te kanaliseren ter hoogte van de spleten van de afvoerpijp.
Steek de verlengstukken R2 aan de zijkant op de koppeling
R1. Sluit de koppeling R1 aan op de uitgang van de romp
van de kap met behulp van een buis met een diameter van
D.150mm.
• MONTAGE AFVOERPIJPEN (fig. 6):
Plaats de beugel van de afvoerpijp (K), bestaande uit
één enkel of twee onderdelen, op de gewenste bovenste
limiet.
Teken de twee gaten op de muur voor de bevestiging
van de beugel. Boor de gaten en bevestig de beugel met
de meegeleverde expansiepluggen.
Plaats de groep afvoerpijpen zorgvuldig op de kap.
Bevestig de onderste afvoerpijp met de schroeven Z op
de kap. Schuif de bovenste afvoerpijp aandachtig uit tot
aan de bovenste limiet.
Blokkeer de bovenste afvoerpijp met de schroeven L op
de beugel van de afvoerpijp K.
• ELEKTRISCHE AANSLUITING
•
Het is aanbevolen dat de werkzaamheden voor de
elektrische aansluiting worden uitgevoerd door een
gekwalificeerde installateur.
In geval van een elektrische aansluiting rechtstreeks op
het net, moet u tussen het toestel en het net een bipolaire
schakelaar plaatsen men minimum 3mm opening
tussen de contacten, afgestemd op de belasting en in
overeenstemming met de geldende normen.
Содержание
- 123 РУС; МЕРЫ ПРЕДОСТОРОЖНОСТИ!; УСТАНОВКА; • Перед установкой и/или использованием вытяжки, внимательно; ЭКСПЛУАТАЦИЯ
- 124 • ВНИМАНИЕ; ТЕХОБСЛУЖИВАНИЕ; • В СЛУЧАЕ НЕВЫПОЛНЕНИЯ ВЫШЕУКАЗАННЫХ ПРЕДПИСАНИЙ,
- 125 ИНСТРУКЦИИ ПО УСТАНОВКЕ:
- 126 Вариант с ФИЛЬТРАЦИЕЙ ВОЗДУХА:
- 127 ЭЛЕКТРОМЕХАНИЧЕСКАЯ КНОПОЧНАЯ ПАНЕЛЬ:; ИНСТРУКЦИИ ПО ЭКСПЛУАТАЦИИ:
- 128 ЕМКОСТНАЯ КНОПОЧНАЯ ПАНЕЛЬ 2 DIGIT НА 10 КНОПОК:
- 129 ЕМКОСТНАЯ КНОПОЧНАЯ ПАНЕЛЬ 1 DIGIT:
- 130 отключите вытяжку от электрического питания; УХОД И ТЕХНИЧЕСКОЕ ОБСЛУЖИВАНИЕ:; (только для варианта с фильтрацией воздуха)
- 131 Перед проведением любых работ по техническому
- 132 Согласно ст. 26 Законодательного декрета No 49 от 14
Характеристики
Остались вопросы?Не нашли свой ответ в руководстве или возникли другие проблемы? Задайте свой вопрос в форме ниже с подробным описанием вашей ситуации, чтобы другие люди и специалисты смогли дать на него ответ. Если вы знаете как решить проблему другого человека, пожалуйста, подскажите ему :)