Вытяжки Smeg KCV9BE2 - инструкция пользователя по применению, эксплуатации и установке на русском языке. Мы надеемся, она поможет вам решить возникшие у вас вопросы при эксплуатации техники.
Если остались вопросы, задайте их в комментариях после инструкции.
"Загружаем инструкцию", означает, что нужно подождать пока файл загрузится и можно будет его читать онлайн. Некоторые инструкции очень большие и время их появления зависит от вашей скорости интернета.

Fig. 5
Fig. 6
Fig. 7
L2
L1
K
Z
Z
L
L
Z
FR
4
Version FILTRANTE :
Laisser libre l'entrée du moteur. Installer les filtres au charbon
actif comme illustré à la page 8.
Si la hotte n'est pas équipée de filtre au charbon actif il
faut l'acheter séparément en s'adressant au centre Smeg
autorisé le plus proche.
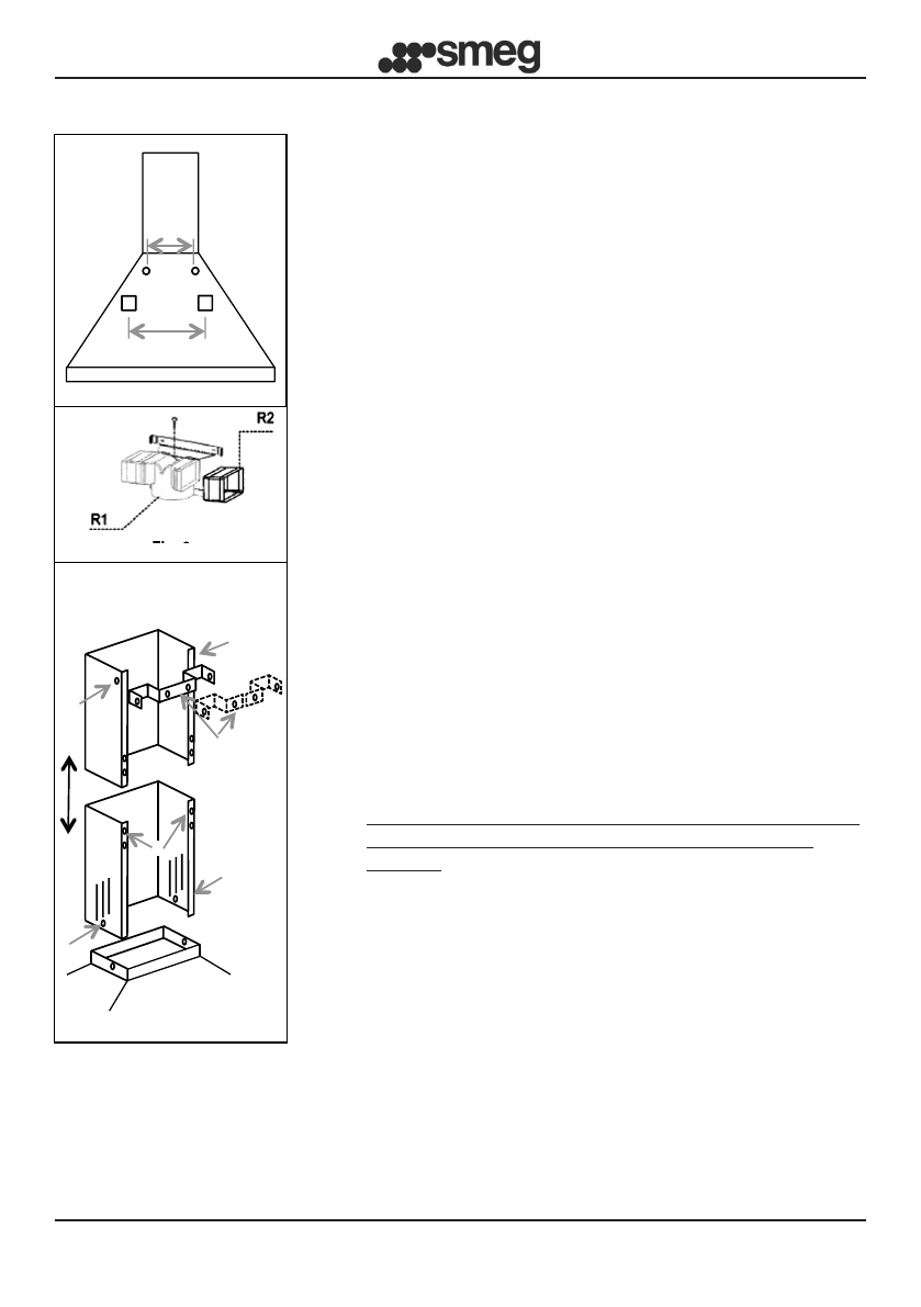
Pour certains modèles on a prévu de série un groupe de
raccord (fig.6) à fixer au mur à l'aide de chevilles à expansion
à une hauteur appropriée de manière à canaliser le flux de
l'air en correspondance avec les fentes du conduit de la
fumée. Insérer latéralement les rallonges R2 sur le raccord
R1. Raccorder le raccord R1 à la sortie du corps de la hotte
au moyen d'un tuyau d'un diamètre D.150 mm.
•
MONTAGE DES CONDUITS DE LA FUMÉE (fig. 7) :
Positionner l'étrier du conduit de la fumée, unique ou en
deux pièces (K), à la limite supérieure souhaitée.
Tracer les deux trous sur le mur pour fixer l'étrier. Percer
et fixer l'étrier avec les chevilles à expansion fournies.
Positionner soigneusement le groupe conduit de la
fumée sur la hotte. Fixer le conduit de la fumée à l'aide
des vis Z sur la hotte. Prolonger avec attention le conduit
de la fumée jusqu'à la limite supérieure.
Bloquer à l'aide des vis L le conduit de la fumée supérieur
à l'étrier du conduit K.
• RACCORDEMENT ÉLECTRIQUE
• Il est recommandé de faire exécuter les opérations
de raccordement électrique par un installateur
qualifié.
En cas de raccordement électrique direct au réseau,
il faut interposer entre l'appareil et le réseau un
interrupteur bipolaire ayant une ouverture minimum
entre les contacts de 3 mm, aux dimensions appropriées
à la charge et conforme aux normes en vigueur.
Содержание
- 123 РУС; МЕРЫ ПРЕДОСТОРОЖНОСТИ!; УСТАНОВКА; • Перед установкой и/или использованием вытяжки, внимательно; ЭКСПЛУАТАЦИЯ
- 124 • ВНИМАНИЕ; ТЕХОБСЛУЖИВАНИЕ; • В СЛУЧАЕ НЕВЫПОЛНЕНИЯ ВЫШЕУКАЗАННЫХ ПРЕДПИСАНИЙ,
- 125 ИНСТРУКЦИИ ПО УСТАНОВКЕ:
- 126 Вариант с ФИЛЬТРАЦИЕЙ ВОЗДУХА:
- 127 ЭЛЕКТРОМЕХАНИЧЕСКАЯ КНОПОЧНАЯ ПАНЕЛЬ:; ИНСТРУКЦИИ ПО ЭКСПЛУАТАЦИИ:
- 128 ЕМКОСТНАЯ КНОПОЧНАЯ ПАНЕЛЬ 2 DIGIT НА 10 КНОПОК:
- 129 ЕМКОСТНАЯ КНОПОЧНАЯ ПАНЕЛЬ 1 DIGIT:
- 130 отключите вытяжку от электрического питания; УХОД И ТЕХНИЧЕСКОЕ ОБСЛУЖИВАНИЕ:; (только для варианта с фильтрацией воздуха)
- 131 Перед проведением любых работ по техническому
- 132 Согласно ст. 26 Законодательного декрета No 49 от 14
Характеристики
Остались вопросы?Не нашли свой ответ в руководстве или возникли другие проблемы? Задайте свой вопрос в форме ниже с подробным описанием вашей ситуации, чтобы другие люди и специалисты смогли дать на него ответ. Если вы знаете как решить проблему другого человека, пожалуйста, подскажите ему :)













