Вытяжки Smeg KCI19A - инструкция пользователя по применению, эксплуатации и установке на русском языке. Мы надеемся, она поможет вам решить возникшие у вас вопросы при эксплуатации техники.
Если остались вопросы, задайте их в комментариях после инструкции.
"Загружаем инструкцию", означает, что нужно подождать пока файл загрузится и можно будет его читать онлайн. Некоторые инструкции очень большие и время их появления зависит от вашей скорости интернета.

Рис.
4
Версия с фильтром:
Оставить свободным приемный клапан двигателя
.
Установить фильтры из активированного угля, как
показано на рис.
7.
Внимание: если вытяжка не оснащена фильтром
из активированного угля, его необходимо
приобрести отдельно и смонтировать до начала
эксплуатации вытяжки.
Рис.
5
Рис
. 6
B
Z
m)
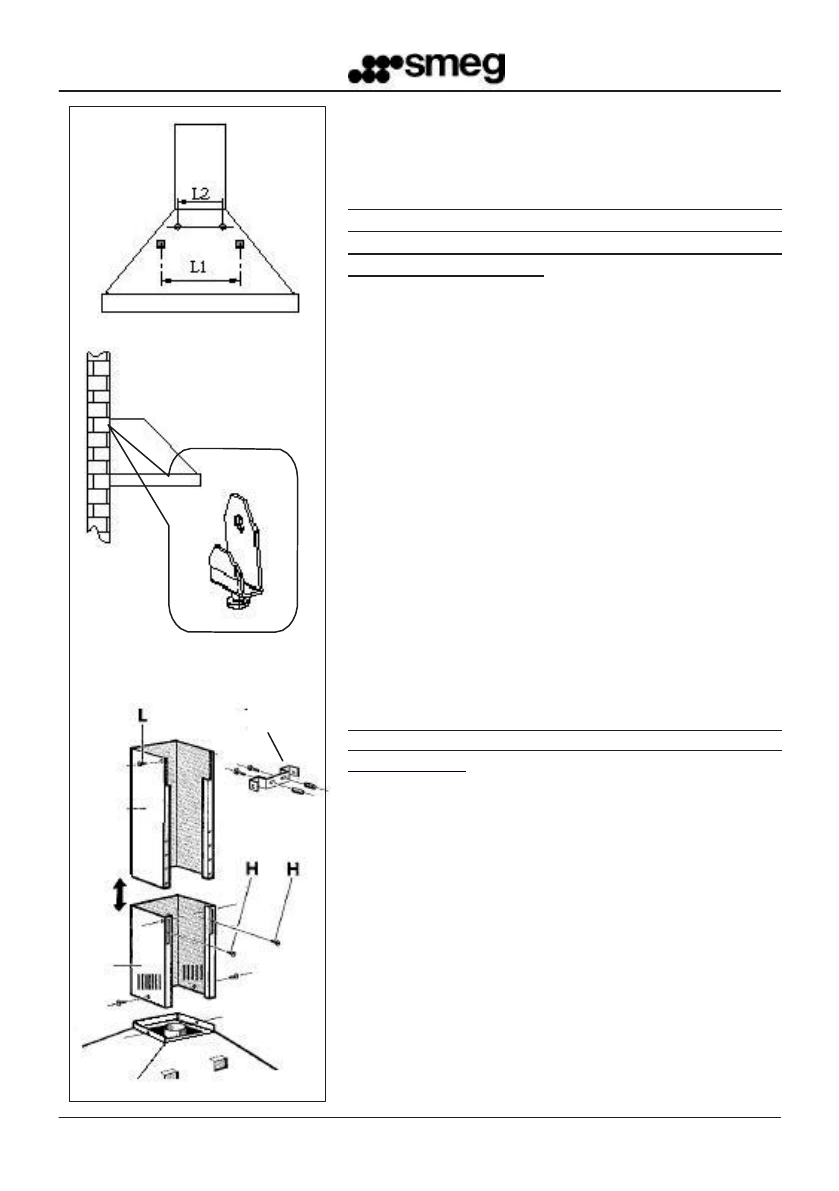
Монтаж дымоходов
:
Отрегулировать два телескопических дымохода
(
рис
. 6)
на желаемую длину
.
Заблокировать два дымохода
,
затянув два винта
H. Осторожно установить блок дымоходов на
верхнюю часть вытяжки
.
Поместить скобу
K
дымохода на дымоход
B
(
рис
. 6).
Наметить два
отверстия на стене для крепления скобы
дымохода к стене
.
Снять блок дымоходов
,
просверлить отверстия и
закрепить опорную скобу дымохода с помощью
клиньев на стене
.
Установить на место блок
дымоходов и прикрепить его к вытяжке с помощью
винтов
Z
и к скобе дымохода с помощью винтов
L,
как показано на рисунке
F.
ПОДКЛЮЧЕНИЕ К ЭЛЕКТРОСЕТИ
Рекомендуется
,
чтобы операции по подключению к
электросети выполнялись квалифицированным
монтажником
.
K
Прибор
НЕ
ОСНАЩЕН
ЭЛЕКТРИЧЕСКОЙ
ВИЛКОЙ
.
Поэтому следует смонтировать на
кабеле электрическую вилку, подходящую
по
нагрузке, указанной на идентификационной
этикетке внутри вытяжки, и подсоединить его к
розетке, находящейся в легко доступном месте,
соответствующей действующим нормам.
В случае прямого подключения к электросети
необходимо между прибором и сетью установить
биполярный
прерыватель
с
минимальным
размыканием между контактами
3 мм, по размеру
соответствующим
нагрузке
и
отвечающим
действующим нормам
.
RU
03
Z
k
Z
Содержание
- 3 ПРЕДУПРЕЖДЕНИЯ; Запрещается использовать прибор детям и недееспособным лицам в; ЭКСПЛУАТАЦИЯ; RU
- 4 ИНСТРУКЦИИ ПО УСТАНОВКЕ:; Рис; жироулавливающие
- 6 ИНСТРУКЦИИ ПО ЭКСПЛУАТАЦИИ:; СЛАЙДЕР; ручка
- 7 (запрограммированное для активации после каждых; чистить противожировые фильтры,; мо ущерба; при абсолютном исключении; 0 мин. Активация данной; необходимо; 0 мин. Активация данной; необходимо
- 8 сброса настроек; сброса; LED située au-dessous de la touche pressée.; En appuyant sur la touche Reset , il est possible de réactiver le; NETTOYAGE ET MAINTENANCE :; (Uniquement pour la version hotte filtrante); ЭЛЕКТРОННЫЕ КНОПКИ; сброса
- 9 ЗАМЕНА ЛАМП; Biax
- 10 гарантийный талон Smeg; Для; Ваш полный адрес
- 15 Монтаж; Монтаж перил; Входящие в комплект поставки
Характеристики
Остались вопросы?Не нашли свой ответ в руководстве или возникли другие проблемы? Задайте свой вопрос в форме ниже с подробным описанием вашей ситуации, чтобы другие люди и специалисты смогли дать на него ответ. Если вы знаете как решить проблему другого человека, пожалуйста, подскажите ему :)