Вытяжки Miele DA7198WOBSW - инструкция пользователя по применению, эксплуатации и установке на русском языке. Мы надеемся, она поможет вам решить возникшие у вас вопросы при эксплуатации техники.
Если остались вопросы, задайте их в комментариях после инструкции.
"Загружаем инструкцию", означает, что нужно подождать пока файл загрузится и можно будет его читать онлайн. Некоторые инструкции очень большие и время их появления зависит от вашей скорости интернета.

Ввод в эксплуатацию
20
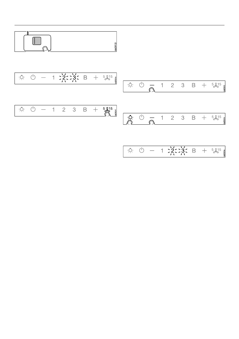
Начните WPS-соединение на ва-
шем Wi-Fi роутере.
После успешного соединения цифры
2
и
3
будут гореть постоянно.
Выйдите из режима соединения
вытяжки нажатием кнопки остаточ-
ного хода вентилятора
.
Теперь вытяжкой можно управлять
через мобильное приложение.
Если соединение не сможет быть ус-
тановлено, возможно, вы активиро-
вали WPS на своем роутере недоста-
точно быстро. Повторите вышеука-
занные шаги.
Совет:
Если ваш Wi-Fi роутер непри-
годен для соединения через WPS, ис-
пользуйте соединение через мобиль-
ное приложение Miele@mobile.
Отмена Wi-Fi соединения (вернуть-
ся к заводской настройке)
Для создания нового Wi-Fi соедине-
ния необходимо сначала прервать
существующее Wi-Fi соединение.
Выключите кухонную вытяжку.
Нажмите и удерживайте кноп-
ку «
».
Одновременно коснитесь кнопки
подсветки
.
При установленном Wi-Fi-соединении
2
и
3
горят постоянно.
В течение 2 следующих минут кухон-
ная вытяжка будет готова к разрыву
соединения.
Характеристики
Остались вопросы?Не нашли свой ответ в руководстве или возникли другие проблемы? Задайте свой вопрос в форме ниже с подробным описанием вашей ситуации, чтобы другие люди и специалисты смогли дать на него ответ. Если вы знаете как решить проблему другого человека, пожалуйста, подскажите ему :)