Вытяжки Miele DA 6698 D - инструкция пользователя по применению, эксплуатации и установке на русском языке. Мы надеемся, она поможет вам решить возникшие у вас вопросы при эксплуатации техники.
Если остались вопросы, задайте их в комментариях после инструкции.
"Загружаем инструкцию", означает, что нужно подождать пока файл загрузится и можно будет его читать онлайн. Некоторые инструкции очень большие и время их появления зависит от вашей скорости интернета.

Монтаж
42
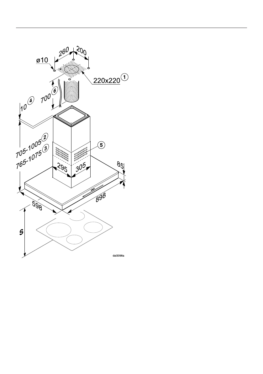
Размеры прибора
a
Область монтажа: участок потолка
для отверстия под отвод воздуха,
прокладывания сетевого кабеля, а
также прокладывания соедини-
тельного кабеля для подключения
выносного вентилятора у вытяжек
модельного ряда ...EXT. При рабо-
те вытяжки в режиме циркуляции
прокладывать нужно только сете-
вой кабель.
b
Возможная высота прибора при
работе в режиме отвода воздуха.
c
Возможная высота прибора при
работе в режиме циркуляции.
d
Альтернативный монтаж: с проме-
жуточной рамкой
e
В режиме циркуляции вывод воз-
духа производится наверх.
f
От места подключения в потолке
до места подключения в вытяжке
необходимо подготовить сетевой
кабель, а для режима отвода воз-
духа - гибкий воздуховод.
Воздуховод
150 мм
Характеристики
Остались вопросы?Не нашли свой ответ в руководстве или возникли другие проблемы? Задайте свой вопрос в форме ниже с подробным описанием вашей ситуации, чтобы другие люди и специалисты смогли дать на него ответ. Если вы знаете как решить проблему другого человека, пожалуйста, подскажите ему :)