Вытяжки Miele DA 5330 W - инструкция пользователя по применению, эксплуатации и установке на русском языке. Мы надеемся, она поможет вам решить возникшие у вас вопросы при эксплуатации техники.
Если остались вопросы, задайте их в комментариях после инструкции.
"Загружаем инструкцию", означает, что нужно подождать пока файл загрузится и можно будет его читать онлайн. Некоторые инструкции очень большие и время их появления зависит от вашей скорости интернета.

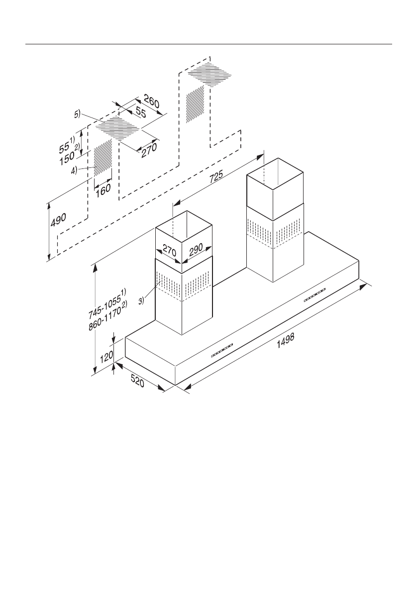
1) Ðåæèì îòâîäà âîçäóõà
2) Ðåæèì öèðêóëÿöèè
3) Â ðåæèìå öèðêóëÿöèè âûâîä âîç-
äóõà ïðîèçâîäèòñÿ íàâåðõ
4) è 5) Îáëàñòü ìîíòàæà;
ïðè ðåæèìå öèðêóëÿöèè - òîëüêî 4)
Ó÷àñòîê ñòåíû èëè ïîòîëêà äëÿ îò-
âåðñòèÿ ïîä îòâîä âîçäóõà è óñòà-
íîâêè ñåòåâûõ ðîçåòîê.
Ïðè ðàáîòå âûòÿæêè â ðåæèìå öèð-
êóëÿöèè íåîáõîäèì ìîíòàæ òîëüêî
ñåòåâûõ ðîçåòîê.
Âîçäóõîâîä
2 x
C
150 ìì,
ñ ïåðåõîäíûì ïàòðóáêîì
C
125 ìì.
Ðàçìåðû ïðèáîðà
26
Характеристики
Остались вопросы?Не нашли свой ответ в руководстве или возникли другие проблемы? Задайте свой вопрос в форме ниже с подробным описанием вашей ситуации, чтобы другие люди и специалисты смогли дать на него ответ. Если вы знаете как решить проблему другого человека, пожалуйста, подскажите ему :)