Вытяжки Miele DA 3668 - инструкция пользователя по применению, эксплуатации и установке на русском языке. Мы надеемся, она поможет вам решить возникшие у вас вопросы при эксплуатации техники.
Если остались вопросы, задайте их в комментариях после инструкции.
"Загружаем инструкцию", означает, что нужно подождать пока файл загрузится и можно будет его читать онлайн. Некоторые инструкции очень большие и время их появления зависит от вашей скорости интернета.

Монтаж
53
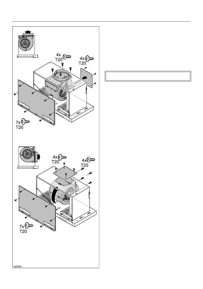
Перестановка воздуховода
Для подключения воздуховода с зад-
ней стороны вытяжки можно повер-
нуть вентилятор. Это может потребо-
ваться, если, например, используется
очень низкий шкаф. Переналадка
проводится перед монтажом.
Вытяжка должна быть обесточена.
Ослабьте крепёжные шурупы пе-
редней крышки корпуса и снимите
крышку.
Ослабьте шурупы облицовки на
задней стороне корпуса и снимите
её.
Выверните крепёжные шурупы
вентилятора.
Поверните вентилятор назад и
вставьте выпускной патрубок в
заднее выпускное отверстие. Со-
единительный кабель не должен
быть при этом отделён.
Снова приверните вентилятор.
Закрепите заднюю облицовку с
верхней стороны.
Снова приверните переднюю
крышку корпуса.
Характеристики
Остались вопросы?Не нашли свой ответ в руководстве или возникли другие проблемы? Задайте свой вопрос в форме ниже с подробным описанием вашей ситуации, чтобы другие люди и специалисты смогли дать на него ответ. Если вы знаете как решить проблему другого человека, пожалуйста, подскажите ему :)