Вытяжки MBS VALLOTA 150 INOX - инструкция пользователя по применению, эксплуатации и установке на русском языке. Мы надеемся, она поможет вам решить возникшие у вас вопросы при эксплуатации техники.
Если остались вопросы, задайте их в комментариях после инструкции.
"Загружаем инструкцию", означает, что нужно подождать пока файл загрузится и можно будет его читать онлайн. Некоторые инструкции очень большие и время их появления зависит от вашей скорости интернета.

36
TRINIA
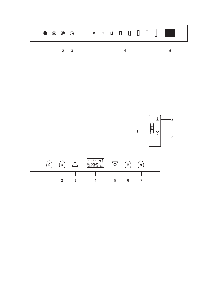
1 – Артқы жарық.
Бір рет басқанда түтін шығарғыштың (шамның) артқы жарығы және сағат артқы жарығы
қосылады. Қайталап басқанда шамдардың артқы жарығы өшеді, сағаттың артқы жарығы жанып
тұра береді. Үшінші рет басқанда шамдардың артқы жарығы және сағат артқы жарығы өшеді.
2 – Сағатты орнату. Сағатты орнату үшін 2 түймесін бір рет басыңыз – дисплейде сағат
индикаторы жыпылықтайды. 3 және 4 түймелерімен қажет сағат уақытын орнатуға болады.
2 түймесін қайтадан басыңыз, сонда сағатта минуттарды орната аласыз. 3 және 4
түймелерімен сіз қажет минут уақытын орната аласыз. Қажет уақытты орнатқаннан кейін ол
5 секундтан кейін автоматты түрде расталады. Егер сағат пен минуттарды орнатудан кейін
2 түймесін үшінші рет бассаңыз — сағаттағы таңдалған орнатылған уақыт ысырылады.
3 – Сағатты және таймерді үлкен мәндер жағына қарай орнату.
4 – Дисплей.
5 – Сағатты және таймерді кіші мәндер жағына қарай орнату.
6 – Түтін шығарғыш жылдамдықтарын қосу / өшіру/ ауыстыру. 6 түймесімен жүзеге асырылады.
Бірінші рет басқанда түтін шығарғыш бірінші (ең аз) жылдамдықта жұмыс істей бастайды.
Қайталап басуларда түтін шығарғыш сәйкесінше екінші және үшінші жылдамдықтарда жұмыс
істейді. Төртінші рет басқанда түтін шығарғыш өшеді, сағат қосулы қалады.
7 – Таймер. Таймерді қосу үшін 7 түймесін бір рет басыңыз. Дисплейде “Таймер” функциясының
белгішесі жанады және дисплей әдепкі бойынша 3 минуттан кейін өшу уақытын көрсетеді.
. 3 және 5 түймелерімен түтін шығарғыштың қажет өшу уақытын (ең үлкен мүмкін уақыт – 15
минут) таңдаңыз. Қажет өшу уақытын орнатқаннан кейін ол 5 секундтан кейін автоматты түрде
расталады. 7 түймесін қайтадан басқанда таймер функциясы өшеді.
CRASSULA, GLORIOSA
1 – Қосу / өшіру. Қосқаннан кейін түтін шығарғыш бірінші жылдамдықта жұмыс істейді.
Түтін шығарғыш жұмысының қарқындылығын арттыру/азайту сенсорлық слайдер көмегімен
жүзеге асырылады. Белгілі бір жылдамдықты орнатудан кейін қосу/өшіру түймесінің
индикаторы 10 секунд жыпылықтайды.
2 – Артқы жарық. Артқы жарық қарқындылығын арттыру/азайту сенсорлық слайдер көмегімен
жүзеге асырылады.
3 – Таймер.
Таймерді қосу үшін (түтін шығарғышты автоматты түрде өшіру) таймер белгішесін бір рет
түртіңіз. «Таймер» функциясы белсендіріледі. Сенсорлық слайдер көмегімен түтін шығарғыш
қанша уақыттан кейін автоматты түрде өшетінін орнатуға болады (5, 10, 15 немесе 20 минут).
Таймер функциясын болдырмау сәйкес белгішені қайталап жанаумен жүзеге асырылады.
4 – Сенсорлық
слайдер.
Түтін шығарғыш жылдамдықтарын ауыстыру,
артқы жарық
қарқындылығын
реттеу және түтін шығарғышты өшіру уақытын (таймерді) орнату үшін қызмет етеді.
5 – Дисплей.
Қашықтан басқару пульті
1 – түтін шығарғыш жұмысының жылдамдығын таңдау
2 – артқы жарық
3 – қосу / өшіру
Содержание
- 4 Описание
- 5 Комплектация; FREESIA 150 GLASS WHITE/BLACK
- 8 В вытяжках MBS используются следующие виды панелей управления:; Сенсорные; Предупредительный сигнал о фильтре:
- 11 Таймер отложенного выключения.
- 13 Электронные
- 16 Механические кнопочные
- 17 Механические слайдерные
- 18 Уход за вытяжкой и профилактическое обслуживание; обратившись в сервисный центр.; Очистка и замена фильтров, ламп освещения; Жировой фильтр изготовлен из алюминиевого сплава.
- 19 Монтаж кухонной вытяжки; тяги подключение вытяжки к вентиляционному каналу не допустимо.
- 20 и справа должно быть 5 мм.
- 23 Технические характеристики вытяжи; VERBENA
- 24 EMILIA VERONICA; CANNA
- 27 Подключение к электропитанию
- 28 Возможные неисправности работы; Неисправность
- 29 Гарантия и срок службы; Вытяжка использовалась в промышленных или других целях.; Уважаемый покупатель,
Характеристики
Остались вопросы?Не нашли свой ответ в руководстве или возникли другие проблемы? Задайте свой вопрос в форме ниже с подробным описанием вашей ситуации, чтобы другие люди и специалисты смогли дать на него ответ. Если вы знаете как решить проблему другого человека, пожалуйста, подскажите ему :)