Вытяжки MBS TORENIA 190 GLASS - инструкция пользователя по применению, эксплуатации и установке на русском языке. Мы надеемся, она поможет вам решить возникшие у вас вопросы при эксплуатации техники.
Если остались вопросы, задайте их в комментариях после инструкции.
"Загружаем инструкцию", означает, что нужно подождать пока файл загрузится и можно будет его читать онлайн. Некоторые инструкции очень большие и время их появления зависит от вашей скорости интернета.

39
KZ
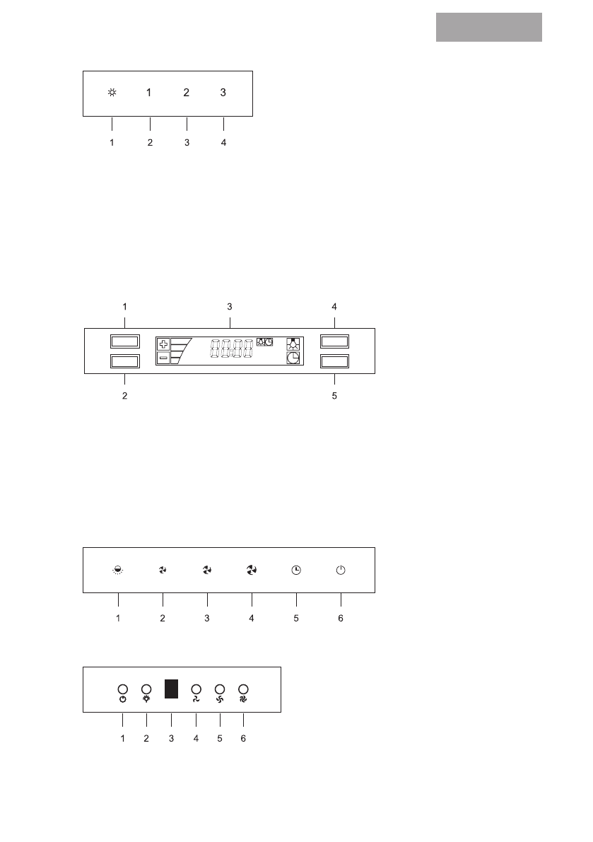
● Электрондық
PRIMULA
1 – Түтін шығарғыш жұмысының қарқындылығын арттыру.
2 – Түтін шығарғыш жұмысының қарқындылығын азайту.
3 – Дисплей.
4 – Артқы жарықты қосу / өшіру.
Таймер жұмыс істегенде артқы жарық
таймерде орнатылған уақыт өткенде түтін
шығарғышпен бірге автоматты түрде өшеді.
5 – Таймер/сағат.
Екі рет басу — өшіру.
Таймерді қосу үшін
5 түймесін бір рет басыңыз
және 1 және 2 түймелерімен
түтін шығарғышты өшірудің
қажет уақытын таңдаңыз.
Сағатты қосу үшін 5 түймесін
2 секунд бойы басып
тұрыңыз, содан кейін 1 және
2 түймелерімен сағатты
орнатыңыз, 5 түймесін
басыңыз және 1 және 2
түймелерімен минуттарды
орнатыңыз.
1 – қосу / өшіру / таймер
Түтін шығарғышты қосу және қажет
жылдамдықты таңдаудан кейін 1 түймесін
қайтадан басу “таймер” функциясын белсендіреді
(түтін шығарғышты 15 минуттан кейін автоматты
түрде өшіру).
2 – артқы жарық
3 – жылдамдық индикаторы
4 – бірінші жылдамдық
BROWALLIA, ALPINIA, FITTONIA
5 – екінші жылдамдық
6 – үшінші жылдамдық
DIANELLA
1 – бірінші жылдамдық
2 – бірінші жылдамдық
3 – екінші жылдамдық
4 – үшінші жылдамдық
5 – таймер
6 – қосу / өшіру
FELICIA
1 – өшіру
2 – бірінші жылдамдық
3 – екінші жылдамдық
4 – үшінші жылдамдық
5 – артқы жарық
Түтін шығарғышты қосу және қажет жылдамдықты
таңдаудан кейін 5 секунд жылдамдық
түймесін қайтадан басу “таймер” функциясын
белсендіреді. Tүймелерін қолданып түтін шығарғыштың
автоматты түрде өшу уақытын 1 мен 15 минут арасында
орнатуға болады. Егер таймер жұмыс істеп тұрғанда
таймер түймесін қайталап бассаңыз, түтін шығарғыш
өшеді.
Содержание
- 4 Описание
- 5 Комплектация; FREESIA 150 GLASS WHITE/BLACK
- 8 В вытяжках MBS используются следующие виды панелей управления:; Сенсорные; Предупредительный сигнал о фильтре:
- 11 Таймер отложенного выключения.
- 13 Электронные
- 16 Механические кнопочные
- 17 Механические слайдерные
- 18 Уход за вытяжкой и профилактическое обслуживание; обратившись в сервисный центр.; Очистка и замена фильтров, ламп освещения; Жировой фильтр изготовлен из алюминиевого сплава.
- 19 Монтаж кухонной вытяжки; тяги подключение вытяжки к вентиляционному каналу не допустимо.
- 20 и справа должно быть 5 мм.
- 23 Технические характеристики вытяжи; VERBENA
- 24 EMILIA VERONICA; CANNA
- 27 Подключение к электропитанию
- 28 Возможные неисправности работы; Неисправность
- 29 Гарантия и срок службы; Вытяжка использовалась в промышленных или других целях.; Уважаемый покупатель,
Характеристики
Остались вопросы?Не нашли свой ответ в руководстве или возникли другие проблемы? Задайте свой вопрос в форме ниже с подробным описанием вашей ситуации, чтобы другие люди и специалисты смогли дать на него ответ. Если вы знаете как решить проблему другого человека, пожалуйста, подскажите ему :)












