Вытяжки MBS Ruta - инструкция пользователя по применению, эксплуатации и установке на русском языке. Мы надеемся, она поможет вам решить возникшие у вас вопросы при эксплуатации техники.
Если остались вопросы, задайте их в комментариях после инструкции.
"Загружаем инструкцию", означает, что нужно подождать пока файл загрузится и можно будет его читать онлайн. Некоторые инструкции очень большие и время их появления зависит от вашей скорости интернета.

11
RU
PRIMULA
●
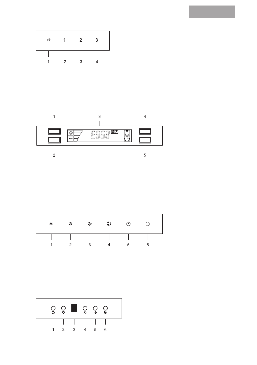
Электронные
1 – Повышение интенсивности работы вытяжки.
2 – Снижение интенсивности работы вытяжки.
3 – Дисплей.
4 – Включение / выключение подсветки.
При работе таймера подсветка автоматически
выключится вместе с вытяжкой, когда время,
установленное на таймере истечет.
5 – Таймер / Часы.
Двойное нажатие —
выключение.
Чтобы включить таймер,
один раз нажмите кнопку 5
и кнопками 1 и 2 выберите
нужное время отключения
вытяжки. Чтобы включить
часы, нажмите кнопку 5
и держите нажатой
в течение 2 секунд, затем
кнопками 1 и 2 установите
часы, затемопять нажмите
кнопку 5 и кнопками 1 и 2
установите минуты.
DIANELLA
1 – подсветка
2 – первая скорость
3 – вторая скорость
4 – третья скорость
5 – таймер
Двух минутная задержка выключения подсветки и установленной ранее скорости работы
мотора осществляется однократным нажатием значка таймера, повторное нажатие
выключает таймер
6 – включение / выключение
1 – включение / выключение / таймер
После включения вытяжки и выбора
нужной скорости, повторное нажатие
на кнопку 1 активирует функцию “таймер”
(автоматическое выключение вытяжки
через 15 минут).
2 – подсветка
3 – индикатор скорости
4 – первая скорость
BROWALLIA, ALPINIA, FITTONIA
5 – вторая скорость
6 – третья скорость
1 – подсветка
2 – выключение, первая скорость
3 – вторая скорость
4 – третья скорость
Чтобы запрограммировать автоматическое отключение
вентилятора вытяжки в любое выбранное время до
15 минут, нужно выбрать нужную скорость, а затем
придержать на 5 секунд любую кнопку переключения
скоростей. Мигающая точка при режиме будет отсчитывать
оставшееся время до отключения мотора вытяжки.
Отключить функцию таймера можно путем нажатия кнопки
выбранной скорости.
FELICIA
Содержание
- 4 Описание
- 5 Комплектация; FREESIA 150 GLASS WHITE/BLACK
- 8 В вытяжках MBS используются следующие виды панелей управления:; Сенсорные; Предупредительный сигнал о фильтре:
- 11 Таймер отложенного выключения.
- 13 Электронные
- 16 Механические кнопочные
- 17 Механические слайдерные
- 18 Уход за вытяжкой и профилактическое обслуживание; обратившись в сервисный центр.; Очистка и замена фильтров, ламп освещения; Жировой фильтр изготовлен из алюминиевого сплава.
- 19 Монтаж кухонной вытяжки; тяги подключение вытяжки к вентиляционному каналу не допустимо.
- 20 и справа должно быть 5 мм.
- 23 Технические характеристики вытяжи; VERBENA
- 24 EMILIA VERONICA; CANNA
- 27 Подключение к электропитанию
- 28 Возможные неисправности работы; Неисправность
- 29 Гарантия и срок службы; Вытяжка использовалась в промышленных или других целях.; Уважаемый покупатель,
Характеристики
Остались вопросы?Не нашли свой ответ в руководстве или возникли другие проблемы? Задайте свой вопрос в форме ниже с подробным описанием вашей ситуации, чтобы другие люди и специалисты смогли дать на него ответ. Если вы знаете как решить проблему другого человека, пожалуйста, подскажите ему :)