Вытяжки Lex Tubo Isola 350 - инструкция пользователя по применению, эксплуатации и установке на русском языке. Мы надеемся, она поможет вам решить возникшие у вас вопросы при эксплуатации техники.
Если остались вопросы, задайте их в комментариях после инструкции.
"Загружаем инструкцию", означает, что нужно подождать пока файл загрузится и можно будет его читать онлайн. Некоторые инструкции очень большие и время их появления зависит от вашей скорости интернета.

УСТАНОВКА
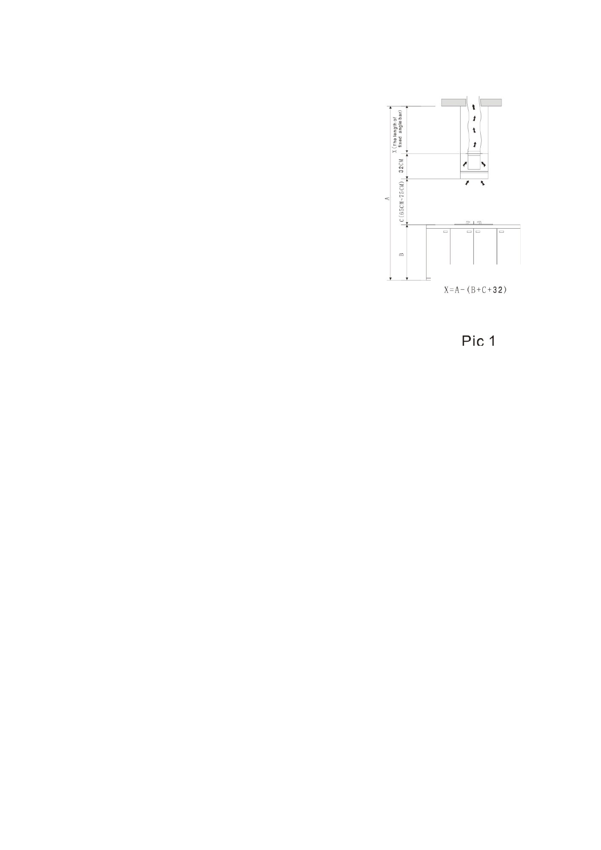
Разместите кухонную вытяжку на
расстоянии 65-75 см от плиты для
достижения наилучшей работы. См. рис. 1.
1.
В целях обеспечения безопасности
потолок должен выдерживать вес, равный
не менее 120 кг, и иметь толщину более
30 мм. Сделайте в потолке отверстие
диаметром 170 мм для размещения
вытяжки.
2.
В соответствии с подвесной
пластиной просверлите в потолке
9 отверстий. Используйте 9 винтов
(ST6*40 мм) для закрепления подвесной
пластины на деревянном потолке или 6
винтов анкерных зажимов для
закрепления подвесной пластины на бетонном потолке. См. рис.
2.
3.
Рассчитайте длину углового крепления согласно рис. 1 для
соединения углового крепления и крепежной скобы с помощью
18 винтов (M4*10), гайки M4 и шайбы (нахлест угловых
креплений должен быть не менее 100 мм). См. рис. 3
.
4.
С помощью 6 винтов (M4*10) закрепите угловые крепления
на корпусе вытяжки и установите выдвижную трубу. См. рис. 4/5.
Установите внутренний короб.
5.
Поместите фиксирующие элементы угловых креплений на
три установленных угловых крепления. Затем закрепите их с
помощью 6 винтов (M4*10), гайки М4 и шайбы. См. рис. 6.
6.
Поставьте внутренний короб на корпус вытяжки. См. рис. 7.
7.
Поднимите прибор опустите выдвижную трубу с потолка. См.
рис. 8. Затем с помощью 4 винтов (M4*10), гайки М4 и шайбы
прикрепите угловое крепление прибора к подвесной пластине.
6
Рис. 1
Характеристики
Остались вопросы?Не нашли свой ответ в руководстве или возникли другие проблемы? Задайте свой вопрос в форме ниже с подробным описанием вашей ситуации, чтобы другие люди и специалисты смогли дать на него ответ. Если вы знаете как решить проблему другого человека, пожалуйста, подскажите ему :)