Вытяжки KRONA TALLI 900 glass 3P - инструкция пользователя по применению, эксплуатации и установке на русском языке. Мы надеемся, она поможет вам решить возникшие у вас вопросы при эксплуатации техники.
Если остались вопросы, задайте их в комментариях после инструкции.
"Загружаем инструкцию", означает, что нужно подождать пока файл загрузится и можно будет его читать онлайн. Некоторые инструкции очень большие и время их появления зависит от вашей скорости интернета.

RUS Инструкция по применению
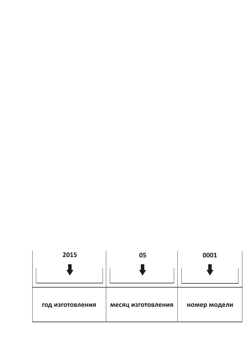
Дата изготовления прибора содержится в его серийном номере.
Серийный номер прибора указан на внутренней этикетке, которая
размещена на вытяжке.
Расшифровка серийного номера.
Данный прибор изготовлен в мае 2015 года.
Содержание
- 3 ВЫТЯЖКИ КУХОННЫЕ; Уважаемый покупатель!; сертифицировано СЕ, T
- 4 КОМПЛЕКТАЦИЯ
- 6 МЕРЫ БЕЗОПАСНОСТИ
- 7 ОПИСАНИЕ ВЫТЯЖКИ; жироулавливающий
- 8 УПРАВЛЕНИЕ ВЫТЯЖК0Й
- 9 ЭКСПЛУАТАЦИЯ ВЫТЯЖКИ; Кухонная вытяжка, в зависимости от; Наибольшую производительность
- 10 ОБСЛУЖИВАНИЕ И УХОД
- 11 УСТАНОВКА ВЫТЯЖКИ
- 13 ПОДКЛЮЧЕНИЕ К ЭЛЕКТРОСЕТИ; Вытяжка подключается к электросе-; Вытяжка установлена.
- 15 Центра технической поддержки
Характеристики
Остались вопросы?Не нашли свой ответ в руководстве или возникли другие проблемы? Задайте свой вопрос в форме ниже с подробным описанием вашей ситуации, чтобы другие люди и специалисты смогли дать на него ответ. Если вы знаете как решить проблему другого человека, пожалуйста, подскажите ему :)