Вытяжки Krona Stella smart 5P 600 Light Glass - инструкция пользователя по применению, эксплуатации и установке на русском языке. Мы надеемся, она поможет вам решить возникшие у вас вопросы при эксплуатации техники.
Если остались вопросы, задайте их в комментариях после инструкции.
"Загружаем инструкцию", означает, что нужно подождать пока файл загрузится и можно будет его читать онлайн. Некоторые инструкции очень большие и время их появления зависит от вашей скорости интернета.
Загружаем инструкцию

RUS Инструкция по применению
ВЫТЯЖКИ КУХОННЫЕ
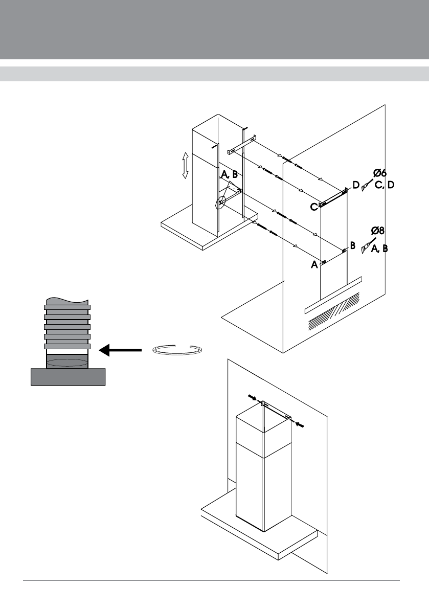
12
Рис. 6
Рис. 7
Рис. 8
Содержание
- 3 RUS Инструкция по применению; ВЫТЯЖКИ КУХОННЫЕ; Уважаемый покупатель!
- 4 есть
- 6 МЕРЫ БЕЗОПАСНОСТИ
- 7 ОПИСАНИЕ ВЫТЯЖКИ; Наружная часть вытяжки состоит из
- 8 УПРАВЛЕНИЕ ВЫТЯЖКОЙ
- 9 Включение; INTELLECT
- 10 ИНСТРУКЦИЯ ПО ПОЛЬЗОВАНИЮ; Кухонная вытяжка предназначена для; Рекомендуем использовать вы-
- 11 ОБСЛУЖИВАНИЕ И УХОД; Д ля внешней очистки окрашенных; Не устанавливайте фильтр в вы-; Установка фильтра производится в
- 12 Д ля этого следует разместить корпус
- 13 Подключение к электросети.; Вытяжка подключается к электросети; Категорически запрещается об-; С целью дополнительной защиты вы-; Вытяжка установлена.
- 15 ВОЗМОЖНЫЕ
- 16 УТИЛИЗАЦИЯ