Вытяжки KRONA LIANA - инструкция пользователя по применению, эксплуатации и установке на русском языке. Мы надеемся, она поможет вам решить возникшие у вас вопросы при эксплуатации техники.
Если остались вопросы, задайте их в комментариях после инструкции.
"Загружаем инструкцию", означает, что нужно подождать пока файл загрузится и можно будет его читать онлайн. Некоторые инструкции очень большие и время их появления зависит от вашей скорости интернета.

RUS Инструкция по применению
RUS Инструкция по применению
ВЫТЯЖКИ КУХОННЫЕ
11
ще его необходимо вырезать чуть
больше
отмеченного
размера
(больше на две длины узкой части
отверстия замка крепления вытяж-
ки).
4. Установите переходной фла-
нец на вытяжку. Один конец воз-
духовода диаметром 120 мм (в
комплект не входит) оденьте на пе-
реходной фланец, предварительно
промазав место стыковки герме-
тиком, и закрепите его с помощью
хомута (приобретается отдельно).
ВНИМАНИЕ
Отверстие для переходного
фланца в корпусе вытяжки, за-
крыто пластиковой заглушкой,
которую необходимо акк урат-
но удалить перед установкой
фланца на вытяжк у.
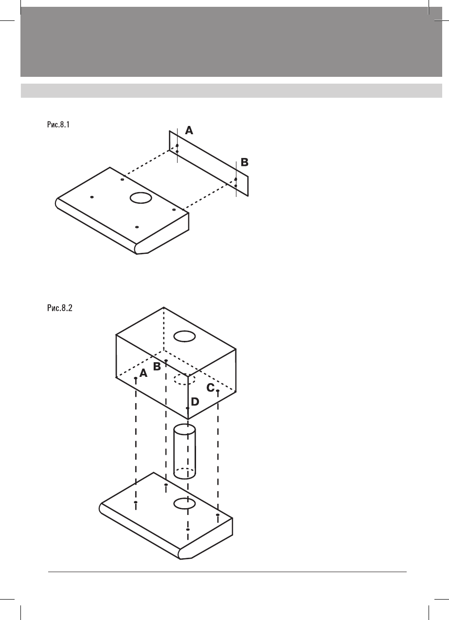
5. Поднимите вытяжку и про-
пустите воздуховод через под-
готовленные для него в шкафчике
отверстия. Оденьте ее большими
отверстиями замков крепления вы-
тяжки на головки вкрученных шуру-
пов, после чего сместите до упора
в сторону стены. Для фиксации вы-
тяжки опустите нижнюю откидную
C
D
Характеристики
Остались вопросы?Не нашли свой ответ в руководстве или возникли другие проблемы? Задайте свой вопрос в форме ниже с подробным описанием вашей ситуации, чтобы другие люди и специалисты смогли дать на него ответ. Если вы знаете как решить проблему другого человека, пожалуйста, подскажите ему :)