Вытяжки KRONA JESSICA slim 600 - инструкция пользователя по применению, эксплуатации и установке на русском языке. Мы надеемся, она поможет вам решить возникшие у вас вопросы при эксплуатации техники.
Если остались вопросы, задайте их в комментариях после инструкции.
"Загружаем инструкцию", означает, что нужно подождать пока файл загрузится и можно будет его читать онлайн. Некоторые инструкции очень большие и время их появления зависит от вашей скорости интернета.
Загружаем инструкцию

RUS Инструкция по применению
ВЫТЯЖКИ КУХОННЫЕ
12
Содержание
- 3 ВЫТЯЖКИ КУХОННЫЕ; Уважаемый покупатель!; сертифицировано СЕ, T
- 5 Внимание! Во избежание поломки; ПРАВО НА ГАРАНТИЙНОЕ; Гарантийный талон дает право на; БЕЗОПАСНОСТЬ ДЕТЕЙ; Зачастую дети не осознают опасности
- 6 МЕРЫ БЕЗОПАСНОСТИ
- 7 ОПИСАНИЕ ВЫТЯЖКИ; Наружная часть вытяжки состоит из сле-; JESSICA slim push button; Б) Электронная панель – вытяжка; JESSICA slim sensor; Алюминиевый жироулавливающий
- 9 ИНСТРУКЦИЯ ПО ПОЛЬЗОВАНИЮ; Кухонная вытяжка предназначена для
- 10 В этом режиме на вытяжку должны; Рекомендуем использовать вы-; Для внешней очистки окрашенных
- 11 Угольный фильтр следует менять 1 раз; Замена ламп и фильтров не входит; Для приобретения и замены ламп под-
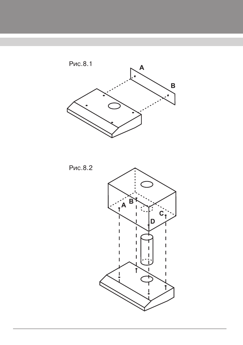
- 12 ИНСТРУКЦИЯ ПО УСТАНОВКЕ
- 13 Подключение к электросети.
- 15 ВОЗМОЖНЫЕ
Характеристики
Остались вопросы?Не нашли свой ответ в руководстве или возникли другие проблемы? Задайте свой вопрос в форме ниже с подробным описанием вашей ситуации, чтобы другие люди и специалисты смогли дать на него ответ. Если вы знаете как решить проблему другого человека, пожалуйста, подскажите ему :)
Часто задаваемые вопросы
Как посмотреть инструкцию к KRONA JESSICA slim 600?
Необходимо подождать полной загрузки инструкции в сером окне на данной странице
Руководство на русском языке?
Все наши руководства представлены на русском языке или схематично, поэтому вы без труда сможете разобраться с вашей моделью
Как скопировать текст из PDF?
Чтобы скопировать текст со страницы инструкции воспользуйтесь вкладкой "HTML"













