Вытяжки Krona Ermina 600 pb - инструкция пользователя по применению, эксплуатации и установке на русском языке. Мы надеемся, она поможет вам решить возникшие у вас вопросы при эксплуатации техники.
Если остались вопросы, задайте их в комментариях после инструкции.
"Загружаем инструкцию", означает, что нужно подождать пока файл загрузится и можно будет его читать онлайн. Некоторые инструкции очень большие и время их появления зависит от вашей скорости интернета.

RUS Инструкция по применению
RUS Инструкция по применению
ВЫТЯЖКИ КУХОННЫЕ
11
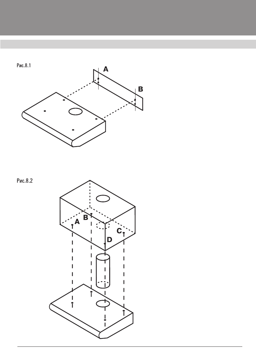
Если вытяжка будет работать в
режиме рециркуляции, то разметку
в шкафчике для отверстия под воз-
духовод делать не следует. Устано-
вите на вытяжку угольный фильтр,
закройте вертикальное и гори-
зонтальное выходные отверстия
(если они не закрыты) и установите
переключатель направления отво-
да воздуха (см. рис. 2, позиция 3)
в требуемое положение. Наметь-
те точки под крепежные шурупы,
вверните их и подвесьте вытяжку,
как описано в пункте 5.
C
D
Содержание
- 3 ВЫТЯЖКИ КУХОННЫЕ; Уважаемый покупатель!; сертифицировано СЕ, T
- 4 КОМПЛЕКТАЦИЯ
- 5 Внимание! Во избежание поломки
- 6 МЕРЫ БЕЗОПАСНОСТИ
- 7 ОПИСАНИЕ ВЫТЯЖКИ; Наружная часть вытяжки состоит из
- 8 УПРАВЛЕНИЕ РЕЖИМАМИ; Ваша вытяжка имеет 3-й скорости; Пульт управления вытяжкой; На лицевой панели вытяжки находит-; Лампу освещения можно включать
- 9 ИНСТРУКЦИЯ ПО ПОЛЬЗОВАНИЮ; Кухонная вытяжка предназначена для
- 10 Для внешней очистки окрашенных
- 11 ИНСТРУКЦИЯ ПО УСТАНОВКЕ; С этой целью следует разместить
- 12 При креплении вытяжки к подвесно-; для; Поднимите вытяжку и пропустите
- 13 Если вытяжка будет работать в
- 14 Подключение к электросети.; Вытяжка подключается к электросети; Категорически запрещается об-; С целью дополнительной защиты вы-; Вытяжка установлена.
- 15 ВОЗМОЖНЫЕ
Характеристики
Остались вопросы?Не нашли свой ответ в руководстве или возникли другие проблемы? Задайте свой вопрос в форме ниже с подробным описанием вашей ситуации, чтобы другие люди и специалисты смогли дать на него ответ. Если вы знаете как решить проблему другого человека, пожалуйста, подскажите ему :)