Вытяжки Krona EMMA 600 - инструкция пользователя по применению, эксплуатации и установке на русском языке. Мы надеемся, она поможет вам решить возникшие у вас вопросы при эксплуатации техники.
Если остались вопросы, задайте их в комментариях после инструкции.
"Загружаем инструкцию", означает, что нужно подождать пока файл загрузится и можно будет его читать онлайн. Некоторые инструкции очень большие и время их появления зависит от вашей скорости интернета.

RUS Инструкция по применению
RUS Инструкция по применению
ВЫТЯЖКИ КУХОННЫЕ
11
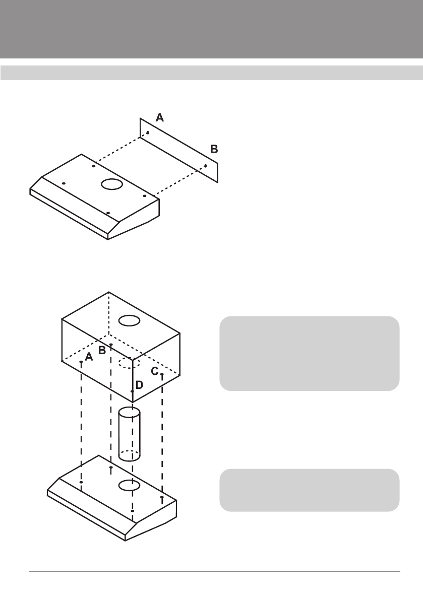
Рис. 10
Рис. 11
Подключение к электросети
Вытяжка подключается к электросети
напряжением 220¬240 В~, 50 Гц.
Во избежание поражения электриче-
ским током вытяжка должна включаться
в розетку с заземлением.
Категорически запрещается об-
резать вилку при монтаже вытяжки.
При повреж дении электрическо-
го шнура, его замену производит
квалифицированный специалист
сервисной службы.
С целью дополнительной защиты вы-
тяжки от перепадов напряжения в сети
рекомендуется подключать ее через до-
полнительный автоматический выключа-
тель 6 А.
Вытяжка установлена.
Включайте ее и пользуйтесь
на здоровье.
Содержание
- 3 ВЫТЯЖКИ КУХОННЫЕ; Уважаемый покупатель!; сертифицировано СЕ, T
- 4 КОМПЛЕКТАЦИЯ
- 5 ПРАВО НА ГАРАНТИЙНОЕ; Гарантийный талон дает право на; ДЛЯ ПОЛЬЗОВАТЕЛЯ
- 6 МЕРЫ БЕЗОПАСНОСТИ
- 7 Наружная часть вытяжки состоит из
- 8 УПРАВЛЕНИЕ РЕЖИМАМИ; Ваша вытяжка имеет 3 скорости вен-; Пульт управления вытяжкой; На лицевой панели вытяжки находит-; Лампу освещения можно включать
- 9 ИНСТРУКЦИЯ ПО ПОЛЬЗОВАНИЮ
- 11 ИНСТРУКЦИЯ ПО УСТАНОВКЕ; С этой целью следует разместить; Напоминаем, что высота
- 13 Подключение к электросети; Вытяжка подключается к электросети; Категорически запрещается об-; С целью дополнительной защиты вы-; Вытяжка установлена.
- 14 Центра технической поддержки
Характеристики
Остались вопросы?Не нашли свой ответ в руководстве или возникли другие проблемы? Задайте свой вопрос в форме ниже с подробным описанием вашей ситуации, чтобы другие люди и специалисты смогли дать на него ответ. Если вы знаете как решить проблему другого человека, пожалуйста, подскажите ему :)