Вытяжки Krona AMANDA Silent 5P - инструкция пользователя по применению, эксплуатации и установке на русском языке. Мы надеемся, она поможет вам решить возникшие у вас вопросы при эксплуатации техники.
Если остались вопросы, задайте их в комментариях после инструкции.
"Загружаем инструкцию", означает, что нужно подождать пока файл загрузится и можно будет его читать онлайн. Некоторые инструкции очень большие и время их появления зависит от вашей скорости интернета.

RUS Инструкция по применению
RUS Инструкция по применению
ВЫТЯЖКИ КУХОННЫЕ
11
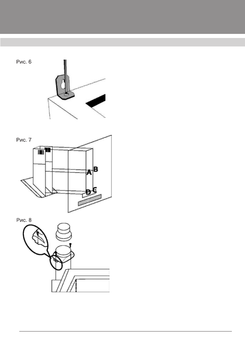
Наметьте точки (А, В, С, D) на стене и
просверлите в них отверстия диаме-
тром 8 мм. Наметьте и просверлите
отверстия диаметром 6 мм д ля мон-
тажа планки крепления декоратив-
ного короба (F, Е) (рис. 7). При этом
необходимо учитывать, что планка
относительно потолка должна быть
установлена таким образом, что-
бы верхний край крепящегося к ней
вну треннего декоративного короба
вплотную под ходил к потолк у.
3. Установите дюбели
Ø
8 мм в от-
верстия (А, В, С, D), а дюбели
Ø
6 мм в
отверстия (F, E)
4. Вверните два шурупа в два отвер-
стия (А, В) таким образом, чтобы рас-
стояние меж ду стеной и головкой шу-
рупа составляло 5 мм. Установите
планку крепления декоративного ко-
роба, ввернув шурупы в два верхних
отверстия (F, E).
5. Установите пластмассовый пере-
ходной фланец (если он не установлен)
на соответствующее место сверху вы-
тяжки с помощью двух шурупов (рис. 8).
6. Подвесьте вытяжку на шурупы (А,
В), выровняйте её по горизонту и затя-
ните шурупы отвёрткой. По заверше-
нии выравнивания окончательно за-
крепите вытяжку при помощи шурупов
через отверстия (С, D) изнутри вытяж-
ки (рис. 7).
Если Ваша вытяжка будет работать в
режиме отвода воздуха в вентиляци-
онную шахту, оденьте один конец гиб-
кого воздуховода (в комплект постав-
ки не входит) на переходной фланец.
Место стыковки переходного фланца
с воздуховодом промажьте гермети-
ком, а сам воздуховод закрепите на
переходном фланце с помощью хо-
мута (в комплект поставки не входит)
(рис. 9). Второй конец гибкого возду-
ховода соедините с вентиляционным
отверстием.
Избегайте лишних изгибов воздухо-
вода. Чем короче и прямее (без лиш-
Содержание
- 3 ВЫТЯЖКИ КУХОННЫЕ; Уважаемый покупатель!; сертифицировано СЕ, T
- 4 КОМПЛЕКТАЦИЯ
- 6 МЕРЫ БЕЗОПАСНОСТИ
- 7 ОПИСАНИЕ ВЫТЯЖКИ; Наружная часть вытяжки состоит из
- 8 УПРАВЛЕНИЕ ВЫТЯЖК0Й
- 9 Включение; INTELLECT
- 10 ЭКСПЛУАТАЦИЯ ВЫТЯЖКИ; Кухонная вытяжка, в зависимости от; Наибольшую
- 11 ОБСЛУЖИВАНИЕ И УХОД
- 14 ПОДКЛЮЧЕНИЕ К ЭЛЕКТРОСЕТИ
- 15 Центра технической поддержки
Характеристики
Остались вопросы?Не нашли свой ответ в руководстве или возникли другие проблемы? Задайте свой вопрос в форме ниже с подробным описанием вашей ситуации, чтобы другие люди и специалисты смогли дать на него ответ. Если вы знаете как решить проблему другого человека, пожалуйста, подскажите ему :)