Вытяжки Gefest ВО 4601 B81 - инструкция пользователя по применению, эксплуатации и установке на русском языке. Мы надеемся, она поможет вам решить возникшие у вас вопросы при эксплуатации техники.
Если остались вопросы, задайте их в комментариях после инструкции.
"Загружаем инструкцию", означает, что нужно подождать пока файл загрузится и можно будет его читать онлайн. Некоторые инструкции очень большие и время их появления зависит от вашей скорости интернета.

7
Рис
. 4
7 ПОРЯДОК РАБОТЫ
7.1 Включение прибора производится при помощи кнопок блока управления в соответствии
с обозначением на панели декоративной.
7
.2 Управление воздухоочистителем:
“
”
- включение 1 режима работы вентилятора/отключение вентилятора; включение/
отключение таймера;
“+” / “-” - повышение/понижение режима работы вентилятора;
“
” - включение/отключение светильников.
7.3 Включение воздухоочистителя (установка 1 режима работы вентилятора) осуществляет
-
ся коротким нажатием кнопки “
”
. Выбор режима вентилятора 1 - 4 осуществляется
нажатием кнопок “+” и “-”.
Цвет светодиодного индикатора указывает выбранный режим работы вентилятора:
зеленый - 1 режим, желтый - 2 режим, оранжевый - 3 режим, красный - 4 режим.
Выключение вентилятора осуществляется из 1 режима кнопкой “
”.
С целью экономии электроэнергии продолжительность работы в 4 режиме ограничена.
Через 6 минут воздухоочиститель автоматически перейдет в 3 режим работы вентиля
-
тора.
7.4 Функция “таймер” включается/отключается нажатием и удержанием (приблизительно
2 секунды) кнопки “
”
. Начинает мигать светодиодный индикатор и через 15 минут
отключится вентилятор и светильники.
7.5
Рекомендации по использованию воздухоочистителя:
‒ Для снижения потребления электроэнергии и уровня шума не используйте воз
-
духоочиститель в максимальном режиме работы вентилятора, если это не вызвано
необходимостью готовки при интенсивном выделении испарений и дыма.
‒ Для более полного удаления испарений и дыма из помещения рекомендуется от
-
ключать воздухоочиститель через ≈ 15 минут после завершения готовки. Для этого
можно воспользоваться функцией “таймер”.
8 ОБСЛУЖИВАНИЕ ВОЗДУХООЧИСТИТЕЛЯ
Регулярная очистка обеспечит надежную и продолжительную работу воздухоочистителя.
ВНИМАНИЕ
! ПРИ ПРОВЕДЕНИИ ОБСЛУЖИВАНИЯ НЕОБХОДИМО СТРОГО
РУКОВОДСТВОВАТЬСЯ ТРЕБОВАНИЯМИ БЕЗОПАСНОСТИ.
Перед обслуживанием дождитесь охлаждения нагретых частей прибора до комнатной
температуры (15 °С ... 25 °С).
ВНИМАНИЕ!
ПЕРЕД ТЕМ КАК МЫТЬ, ОБЯЗАТЕЛЬНО ОТКЛЮЧИТЕ ВОЗДУХОО
-
ЧИСТИТЕЛЬ ОТ ЭЛЕКТРИЧЕСКОЙ СЕТИ, ДОСТАНЬТЕ ВИЛКУ ИЗ РОЗЕТКИ!
Содержание
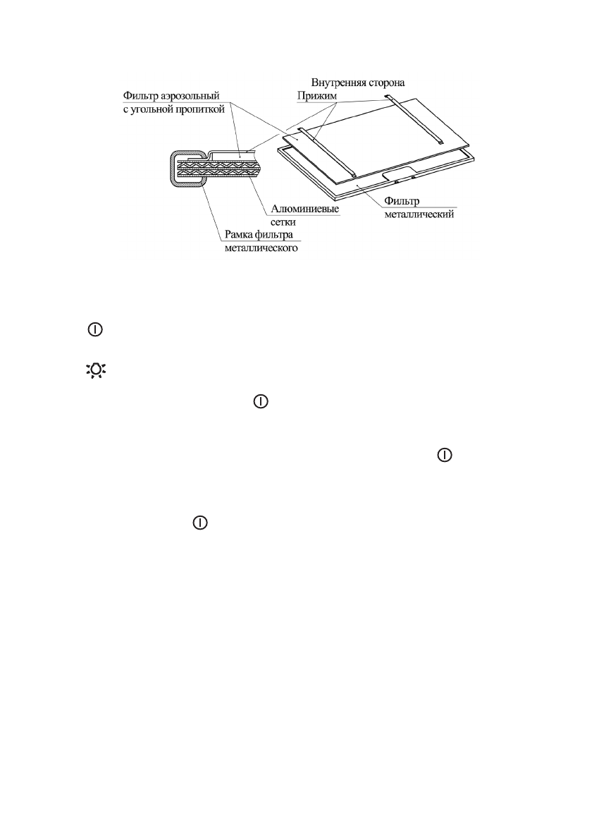
- 6 ТЕХНИЧЕСКИЕ ХАРАКТЕРИСТИКИ; Таблица 1; УСТРОЙСТВО ИЗДЕЛИЯ; Воздухоочиститель; Воздухоочиститель может работать в следующих режимах:; РЕЦИРКУЛ ЯЦИОННЫЙ; , в котором загрязненный воздух пропускается через; ВЫТЯЖНОЙ; , в котором загрязненный воздух удаляется из помещения наружу.
- 7 УСТАНОВКА И ПОДКЛЮЧЕНИЕ; Д Л Я РА БОТ Ы В РЕЦ И РК УЛ Я Ц ИОН НОМ РЕЖ И М Е
- 9 ВНИМАНИЕ
- 10 ТЕХНИЧЕСКОЕ ОБСЛУЖИВАНИЕ ВОЗДУХООЧИСТИТЕЛЯ; Замена светильников светодиодных
Характеристики
Остались вопросы?Не нашли свой ответ в руководстве или возникли другие проблемы? Задайте свой вопрос в форме ниже с подробным описанием вашей ситуации, чтобы другие люди и специалисты смогли дать на него ответ. Если вы знаете как решить проблему другого человека, пожалуйста, подскажите ему :)