Вытяжки Gefest VO 1503 - инструкция пользователя по применению, эксплуатации и установке на русском языке. Мы надеемся, она поможет вам решить возникшие у вас вопросы при эксплуатации техники.
Если остались вопросы, задайте их в комментариях после инструкции.
"Загружаем инструкцию", означает, что нужно подождать пока файл загрузится и можно будет его читать онлайн. Некоторые инструкции очень большие и время их появления зависит от вашей скорости интернета.

6
1602.00.0.000 РЭ - ГР
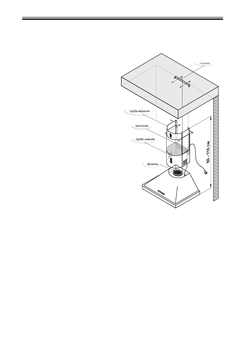
6 ПОДГОТОВКА К РАБОТЕ (крепление к стене)
ВНИМАНИЕ:
МиниМаЛЬнОе РаССТОяние МеждУ ПЛОСКОСТЬЮ
УСТанОВКи ПОСУдЫ на ПЛиТУ (наГРеВаТеЛЬнОЙ ПОВеРХнОСТЬЮ)
и ВОздУХООчиСТиТеЛеМ дОЛжнО БЫТЬ 75 см. ВОздУХООчиСТиТеЛЬ
КРеПиТЬ на РОВнУЮ ПОВеРХнОСТЬ (РиС.5)!
6.1 Определите расстояние между
нагревательной поверхно стью
плиты и воздухоочистителем и
отметьте на стене нижний габарит
воздухоочистителя.
6.2 П р и с т а в ьт е к с т е н е , в м е с т е
предполагаемого размещения,
корпус воздухоочистителя со
снятыми фильтрами. По его задней
стенке отметьте на стене центры
четырех крепежных отверстий.
6.3 П р о с в е р л и т е п о р а з м е т к е
4 отверстия диаметром, соот-
ветствующим диаметру дюбеля,
на глубину не менее 50 мм.
6.4 Вставьте дюбеля в отверстия и
заверните в верхние отверстия не
до упора два шурупа, на которые
навесьте воздухоочиститель.
6.5 зафиксируйте воздухоочиститель,
завернув до упора шурупы для
навешивания и два фиксирующих
шурупа.
6.6 Установите нижнюю декоративную
трубу и разметьте по месту два
отверстия для ее крепления.
6.7 Просверлите по разметке отверстия под дюбели, вставьте их в отверстия и
заверните не до упора шурупы.
6.8 Вставьте верхнюю декоративную трубу в нижнюю и установите обе трубы
в корпус воздухоочистителя, навесив нижнюю трубу на шурупы. доверните
шурупы до упора. Выдвиньте верхнюю трубу и отметьте на стене верхнюю
кромку ее предполагаемого размещения. задвиньте верхнюю трубу в нижнюю,
приложите к стене планку, разметьте и просверлите отверстия под дюбели.
зафиксируйте планку двумя шурупами.
6.9 Поднимите верхнюю трубу и закрепите ее к планке через отверстия в боковых
плоскостях двумя самонарезающими винтами.
дЛя ПРедОТВРаЩения ЦаРаПин на ЛиЦеВЫХ ПОВеРХнОСТяХ
ВеРХнеЙ ТРУБЫ (ПРи РаБОТаХ ПО П.П. 6.8 и 6.9) РеКОМендУеТСя
иСПОЛЬзОВаТЬ ПРОЛОженнУЮ МеждУ ТРУБаМи ПОЛиЭТиЛенОВУЮ
ПЛенКУ.
6.10 Перед установкой металлических фильтров нужно удалить с их рамок защитную
пленку.
6.11 исходное положение кнопок блока управления (выкл.) - отжато.
Рис. 5
Содержание
- 4 ОБЩИЕ УКАЗАНИЯ; Таблица 1; нормативных правовых актов, по которым проводится сертификация.; ТРеБОВаниЙ наСТОяЩеГО РУКОВОдСТВа ПО ЭКСПЛУаТаЦии и С УчеТОМ; ТЕХНИЧЕСКИЕ ХАРАКТЕРИСКТИКИ
- 5 КОМПЛЕКТНОСТЬ; дюбель; ТРЕБОВАНИЯ БЕЗОПАСНОСТИ; П Р Е Д У П Р Е Ж Д Е Н И Е
- 6 УСТРОЙСТВО ИЗДЕЛИЯ
- 8 ПОДГОТОВКА К РАБОТЕ (крепление к стене); МиниМаЛЬнОе РаССТОяние МеждУ ПЛОСКОСТЬЮ
- 9 ПОРЯДОК РАБОТЫ
- 10 Т.К. ОКРаШеннЫе ПОВеРХнОСТи МОГУТ УТРаТиТЬ БЛеСК и изМениТЬ; ТЕХНИЧЕСКОЕ ОБСЛУЖИВАНИЕ ВОЗДУХООЧИСТИТЕЛЯ
- 11 2 ГАРАНТИИ ИЗГОТОВИТЕЛЯ; Таблица 2