Вытяжки Bosch DWK 09M750 - инструкция пользователя по применению, эксплуатации и установке на русском языке. Мы надеемся, она поможет вам решить возникшие у вас вопросы при эксплуатации техники.
Если остались вопросы, задайте их в комментариях после инструкции.
"Загружаем инструкцию", означает, что нужно подождать пока файл загрузится и можно будет его читать онлайн. Некоторые инструкции очень большие и время их появления зависит от вашей скорости интернета.

Порядок
експлуатації
4
Найефективніший
спосіб
усунення
випарів
,
які
виникають
під
час
приготування
страв
,
такий
:
Увімкнути
вентилятор
відразу
ж
після
початку
готування
.
Вимкнути
вентилятор
через
кілька
хвилин
після
закінчення
готування
.
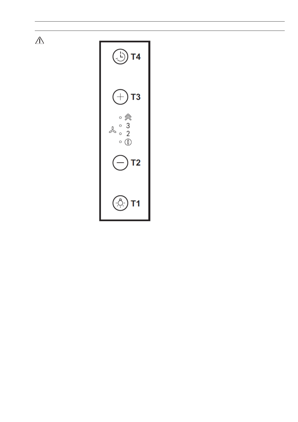
T1.
Увімкнення
/
вимкнення
освітлення
T2.
Зменшення
швидкості
Клавіша
T2
дозволяє
зменшувати
швидкість
з
4 (
інтенсивний
режим
)
до
1.
Якщо
натиснути
клавішу
T2
під
час
роботи
на
1-
й
швидкості
,
витяжка
вимкнеться
.
T3.
Збільшення
швидкості
Якщо
натиснути
клавішу
T3
,
витяжка
увімкнеться
і
розпочне
роботу
на
1-
й
швидкості
.
Ця
клавіша
(
при
увімкненій
витяжці
)
дозволяє
збільшувати
швидкість
роботи
двигуна
з
1
до
4 (
інтенсивний
режим
).
Кожна
швидкість
підтверджується
загоранням
відповідного
світлодіода
.
1-
а
швидкість
–
світлодіод
1
2-
а
швидкість
–
світлодіод
2
3-
я
швидкість
–
світлодіод
3
Інтенсивний
режим
–
світлодіод
4
(
блимає
)
Час
роботи
в
інтенсивному
режимі
має
фіксовану
тривалість
.
Стандартна
тривалість
функціонування
– 5
хвилин
,
після
чого
витяжка
перемикається
на
2-
у
швидкість
.
Для
вимкнення
цієї
функції
до
закінчення
вказаного
часу
натисніть
клавішу
T2
.
Витяжка
почне
працювати
на
3-
й
швидкості
.
T4.
Таймер
швидкості
Таймер
вмикається
натисненням
клавіші
T4
.
Після
закінчення
заданого
часу
витяжка
вимикається
.
Таймер
запрограмовано
таким
чином
:
1
швидкість
– 20
хвилин
(
блимає
світлодіод
1
)
2
швидкість
– 15
хвилин
(
блимає
світлодіод
2
)
3
швидкість
– 10
хвилин
(
блимає
світлодіод
3
)
4
швидкість
– 5
хвилин
(
блимає
світлодіод
4
)
Якщо
в
режимі
таймера
натиснути
клавішу
T2
,
витяжка
вийде
з
цього
режиму
і
зменшить
швидкість
.
Клавіша
T3
дозволяє
вийти
з
режиму
таймера
зі
збільшенням
швидкості
.
Клавіша
T4
дозволяє
вийти
з
режиму
таймера
зі
збереженням
поточної
швидкості
.
Характеристики
Остались вопросы?Не нашли свой ответ в руководстве или возникли другие проблемы? Задайте свой вопрос в форме ниже с подробным описанием вашей ситуации, чтобы другие люди и специалисты смогли дать на него ответ. Если вы знаете как решить проблему другого человека, пожалуйста, подскажите ему :)